Item 1 of 1
又来一波,红色就侵权!
2026-03-05 22:00

本周继续分享最新起诉的热门侵权案



TikTok、Facebook、谷歌、Twitter广告服务,0门槛抢占全球流量!
极速开户+优化投流+风险保障+效果跟踪,仅需4步,轻松撬动亿万海外流量,让品牌销量翻倍增长!
已成功开通5000+账户

最新热门报告作者标签
瑞典3月电商销售额降至108亿克朗,创近一年新低AMZ123获悉,近日,Svensk Handel发布的最新电商指标显示,2026年3月瑞典电商市场表现明显走弱,当月线上零售额降至108亿瑞典克朗,同比下滑19%,为自2025年5月以来的最低水平。数据显示,本轮下滑不仅源于网购消费者数量较去年同期减少,同时单个消费者的平均支出也出现明显下降。行业方面普遍对这一结果有所预期。相关负责人Per Ljungberg指出,此前已预计3月将出现较为疲软的表现。整体经济环境的不确定性被认为是主要原因之一,尤其是在3月下旬市场对进一步加息的预期升温,对消费者信心产生了抑制作用,从而影响了可选消费支出。从2026年第一季度整体情况来看,不同品类之间表现分化明显。
销量反超Halara!TikTok一款翘臀神器30天卖了2万多单一门臀部“造假”的生意引爆TikTok,有卖家已经赚了1800万
Wildberries推出AI试妆+智能搜索功能AMZ123获悉,近日,俄罗斯电商平台Wildberries宣布,已完成其人工智能(AI)化妆品虚拟试妆工具的测试,并正式在平台全面上线。该功能目前已向所有用户开放,俄罗斯地区的所有卖家也可以将这一工具接入到商品详情页中,作为展示和转化辅助功能使用。这一工具的核心在于帮助消费者在购买前预览化妆品上脸效果。用户在浏览商品时,只需点击商品卡片中的专属按钮并上传一张面部照片,系统即可通过神经网络自动将所选色号叠加到用户图像上,实现口红或唇彩的虚拟试色。相关算法会综合考虑肤色、光线条件以及颜色呈现效果,从而生成更接近真实使用场景的视觉结果。
恶搞升级!亚马逊大卖遭批量投诉近日,跨境圈再现恶搞风波。 AMZ123获悉,4月23日,跨境大卖深圳市元鼎智能创新有限公司(以下简称“元鼎智能”)发布声明称,其旗下泳池清洁机器人品牌Aiper在亚马逊平台的商品链接近期遭遇持续性、批量化恶意攻击,相关行为已对公司正常经营秩序和消费者购物体验造成不良影响。 元鼎智能方面表示,针对上述行为,公司已完成证据固定,发出律师函,并于2026年4月22日正式向公安机关报案。 根据元鼎智能公布的律师函信息,此次事件指向深圳市xx电子科技有限公司(以下简称“xx电子”)。 律师函显示,元鼎智能在美国时间2026年4月19日收到亚马逊后台投诉。
AMZ123会员专享丨4月第4周资讯汇总亚马逊亚马逊在美国亚利桑那州尤马市新建并启用一座配送中心,该项目不仅优化了区域物流网络,也对跨境电商配送产生直接影响。美国加州总检察长公布的一批最新解密文件显示,在针对亚马逊的反垄断诉讼中,监管机构指控亚马逊通过多种方式影响市场价格,并要求合作品牌在其他电商平台上提高售价,从而维持其平台价格优势。亚马逊在卖家中心的公告显示,其多渠道履约(MCF)Shopify应用已正式扩展至欧洲、日本和加拿大市场。亚马逊宣布,在墨西哥推出新一代语音助手 Alexa+,这是该产品首次进入非英语市场。此次上线不仅是语言扩展,更强调对本地文化的理解。
亚马逊印度追加3亿美元投资,升级物流中心与员工保障AMZ123获悉,近日,亚马逊印度宣布,计划投资2800亿卢比(约合3亿美元),用于提升员工安全、健康和财务福祉,同时进一步强化其在印度的运营网络。这项投资是在其持续扩展基础设施背景下推出,旨在在提升配送效率的同时,为数以万计的一线员工提供更完善的保障体系。此前,亚马逊印度已在2025年投入2000亿卢比(约合2.33亿美元),新增17个履约中心、6个分拣中心以及75个“最后一公里”配送站点。同时,亚马逊正在加快推进其即时零售业务Amazon Now,以接近每天新增两个站点的速度扩张,目前已在德里国家首都区、班加罗尔和孟买建立了超过300个微型履约中心,用于支持超快速配送服务。
全球电商周报:Temu启动视频验证、香港严查虚拟地址、欧盟取消免税...本周(4月20日-24日)。霍尔木兹海峡冲突急剧恶化,伊朗向商船开火并扣押船只,航运几近停摆;欧盟宣布自7月1日起对所有低价值包裹统一征收3欧元关税,取消免税额度。平台方面,亚马逊扩展MCF应用至多国、Temu启动欧洲大规模账户验证、TikTok Shop治理低质内容......物流与供应链伊朗向商船开火并扣押船只,海峡航运急剧恶化最新消息显示,霍尔木兹海峡冲突爆发近八周以来首次出现直接军事打击商船事件。伊朗向商船开火并扣押至少两艘船只,事发后航道内仅剩一艘货船,多艘船只中止通行。涉事船舶涉及希腊、中国等国船东,此次事件使海峡航运安全形势急剧升级,引发国际航运业高度担忧。
又一玩具工厂倒闭!大量美国订单流失美国挥舞的关税“大棒”,已然成为了拖累全球经济增长的最大“风险源”之一。AMZ123观察到,自2025年以来,已有多家企业及外贸工厂在宣布业绩亏损、停产停业的公告中,将“美国关税带来的影响”列作导致其经营压力高企的首要原因。而就在近日,广西又有一家工厂突然宣布停业并进入破产清算,引起了业内关注。5月8日厦门AI实操训练营,3小时带走一套可复制的AI工作流,让你的店铺7×24小时自动运转,告别“人效困局”,点击报名,抢占席位AMZ123获悉,近日,广西华盛盈峰玩具制造有限公司(以下简称“华盛盈峰玩具厂”)发布了一则停业通知:经慎重研议,公司决定于2026年4月20日正式停止所有经营业务。
亚马逊前台评论被限制了!实测这5步即可恢复— 1 —大量卖家查看前台评论被折叠大批美国站卖家反馈,现在打开前台产品页面评论区域,系统直接强制折叠,买家账号清一色只能刷出第一页的十条Review.你想点击查看更多评论时,页面根本不给你机会,会弹出一个需要发送请求的审批按钮。提交请求后,系统会告知你还要排队等待五天。结果等到最后,大多数卖家等来的只是一封冰冷的拒绝邮件。此次评论区大面积折叠的原因?据悉,触发限流的原因非常明确:运营人员在日常工作中,过度依赖第三方数据插件,在短时间内高频、批量地抓取和下载前台评论。这种异常直接触碰了亚马逊系统的风控红线。一旦账号被标记,无论你如何切换ASIN或更换变体,都会被挡在五天的审批大门之外。
需求激增!亚马逊10款庭院产品月销百万美金AMZ123获悉,近日,亚马逊各类产品搜索量增长显著,以下10款产品在亚马逊上销量表现突出,深受消费者欢迎。1. 电动高压清洗机预计销售额:238.5万美元/月销量:20,000+星级评分:4.6好评数量:10,071+图源:亚马逊产品描述:该电动高压清洗机最大压力可达2500 PSI,配合多种快接喷嘴(0°、15°、25°、涡轮及泡沫喷头),可满足不同清洁需求。设备采用紧凑轻量化设计,配备360°滚轮结构,便于移动与收纳。内置清洁剂箱与高强度水管,可用于庭院地面、车库、围栏及车辆清洗等多种场景,同时具备自动停机功能,有助于延长电机使用寿命。
拉美巨头推出新模式,狂招中国卖家!中国跨境电商,正值一次路线切换的关键窗口期。欧美竞争加剧、成本高企,政策与合规风险如影随形;中东变数不断、增长遇阻,物流运输与电商发展风雨飘摇……不少跨境卖家都在寻找下一个高增长、长周期、值得深挖的确定性淘金地。拉美,这片被称为“最后一片蓝海”的大陆,正在成为跨境圈热议的“新顶流”——人口超6.5亿,其中潜在电商消费者超3.6亿,电商渗透率预计翻倍增长,多个核心市场增速领跑全球:巴西坐拥拉美最大消费体量,市场长期供不应求;墨西哥跨境消费意愿强劲,对中国商品认可度极高;阿根廷、哥伦比亚等发展势头迅猛……拉美增长红利已不是未来式,而是现在进行时。2026年,拉美电商巨头美客多也向中国卖家抛出了更大的“橄榄枝”。
累计爆雷1500家!货代“杀猪盘”究竟长什么样?上不了岸的合同,落不了地的责任。
亚马逊在澳洲上线AI视频广告生成工具AMZ123获悉,近日,亚马逊宣布将其基于人工智能的视频生成工具“Video Generator”扩展至澳大利亚市场,面向当地企业和品牌开放使用。该工具已集成在广告后台Ad Console的Creative Studio中,适用于在亚马逊平台投放Sponsored Brands视频广告的广告主,并且无需额外费用即可使用。这一工具主要用于降低视频广告制作门槛。广告主只需上传产品图片、已有视频素材或商品详情页,点击生成按钮,即可在几分钟内获得6条不同版本的视频内容。这些视频采用多场景结构,包含画面切换、文字动画以及背景音乐,并通过AI对已有素材进行分析和提取,生成适用于广告投放的内容。
日均销售额增长34倍,TikTok Shop在墨西哥加速扩张AMZ123获悉,近日,据外媒报道,自2025年初TikTok Shop在墨西哥上线以来,其日均销售额增长达到34倍,同期平台商品数量增长15倍,活跃卖家和内容创作者数量增长23倍。平台数据显示,83%的墨西哥用户表示TikTok帮助其发现新内容,51%的用户会在浏览过程中主动进一步了解相关商品。随着TikTok电商功能的持续完善,TikTok Shop正逐步成为推动“发现式电商”发展的核心渠道。Statista在2024年的研究显示,64%的Z世代消费者会将TikTok作为搜索工具,用于了解产品、比较价格以及验证商品真实性,再完成购买。
新手卖家做跨境电商如何合规、稳健回款?三大主流跨境电商回款方式对比跨境电商卖家一般主要通过以下三种主流方式进行回款:1.第三方支付服务商代表:如Payoneer派安盈、WorldFirst万里汇、LianLian练练国际等。以Payoneer派安盈为例,一站式金融全栈,依托全球领先的金融科技优势,通过全球7,000多条贸易通道与近100家银行建立合作网络,赋能客户高效获取全球多元化产品服务。2.平台官方结算代表:Amazon亚马逊全球收款(ACCS)等。其核心优势在于,操作简便,资金由电商平台直接结算至卖家的国内账户[1]。不同回款路径在资金调度的灵活性上各具特色。在多平台运营场景下,平台官方结算在资金调度灵活性上存在不足。
400万人才缺口!跨境圈的金三银四却正在消失老板招不到人,运营找不到工作,金三银四变铜三铁四......每年三四月份,本该是招聘市场的黄金期,可今年的跨境电商圈,却呈现极限的反差;一边是无数老板集体吐槽“招不到合适的运营”,另一边是海量跨境运营刷屏“找不到满意的工作”。更极端的数据摆在眼前:《中国跨境电商人才培养白皮书》显示,2025年我国跨境电商人才缺口已达400万;岗位需求明明在涨,行业却陷入了“用工荒”和“求职难”并存的死局。这像极了当下互联网大厂的招聘逻辑:看似一边裁员一边招人,实则是在精准换血——裁掉冗余的基础执行岗,争抢能创造核心价值的人才。而这套逻辑,也正在跨境电商行业落地。400万缺口的供需错位矛盾的核心,不是“没人”,而是“人岗不匹配”。
AMZ123《全球电商市场报告——澳大利亚篇》在全球电商讨论中,澳大利亚市场虽然不常被提及,但凭借其稳定的增长势头,逐渐展现出独特的价值。预计2025年澳大利亚电商规模将达到393.6亿美元,2030年将突破465.1亿美元,展现出可预期的稳步增长。
AMZ123《全球电商市场报告——日本篇》本报告从市场环境、用户画像与营销策略等多个维度,聚焦这一市场进行系统性解读,为跨境卖家精准切入日本市场,把握增量机遇提供深度参考。
《中国医疗器械全球化新征程》PDF下载在带量采购常态化、支付方式改革深化及行业竞争加剧的背景下,中国医疗器械产业正处于由“内循环”迈向“全球化”的关键拐点。国内市场的利润挤压与结构性竞争,正在推动企业加速国际化布局。与此同时,政策鼓励科技创新与出海发展,叠加创新药出海的示范效应,为医疗器械企业打开了通往海外的新增长空间。
《智能插座美国市场年度研报》PDF下载中国卖家供给主导,但品牌突破面临挑战。中国卖家在商品数量上已占据半壁江山,且在整体销售额增长中展现出韧性,是市场供给的绝对主力。新品牌中超半数来自中国,显示其持续的创新活力。然而,新品牌整体销售额贡献微弱,中国力量“大而不强”,多数品牌仍集中于竞争激烈的中端红海市场,向高端突破或建立品牌溢价的能力有待验证。
《全球家具跨境市场洞察报告》PDF下载全球家具市场七年连涨,2029年规模攀峰9250亿美元,美国以2640亿领跑预计2025至2029年间,全球家具市场规模将保持增长态势,累计增幅达1260亿美元(增长15.76%),在连续第七年增长后,2029年市场规模预计将攀升至9254.6亿美元,创下历史新高,其中,美国以2642亿美元的市场规模遥遥领先,领先于中国、德国、法国、英国、日本等国家,凸显了美国在全球家具市场的主导地位。
《全球宠物医疗市场洞察》PDF下载随着养宠规模的扩大和宠物主人对宠物健康关注度的提升,宠物医疗用品市场规模持续扩大。宠物医疗市场的价值为2024年的257亿美元,预计到2033年将达到423亿美元,从2024年到2033年,复合年增长率为6.5%。
《全球电商平台概览报告》PDF下载全球正在见证新形态、新商机的诞生:TIKTOKSHOP以兴趣驱动形成新的内容和交易闭环;TEMU和SHEIN用中国制造加速物流体系挑战传统平台节奏;而在东南亚、拉美、中东等市场,本地平台构建起自己的流量生态与支付和履约体系。电商平台不再是可供挑选的“销售渠道”,而是彼此割裂、竞争激烈的“市场入口
《2026年值得关注的全球营销趋势报告》PDF下载本指南重点介绍的2026年15项重大趋势,值得每一位传播、公关以及社交媒体领域负责人关注。这些趋势涵盖:从答案引擎优化(也被称作生成式引擎优化) 的兴起到红人电商的专业化进程;从视频内容的全面主导到社会化客户关怀的关键作用。

又来一波,红色就侵权!
亚易知识产权集团
2026-03-05 22:00
567

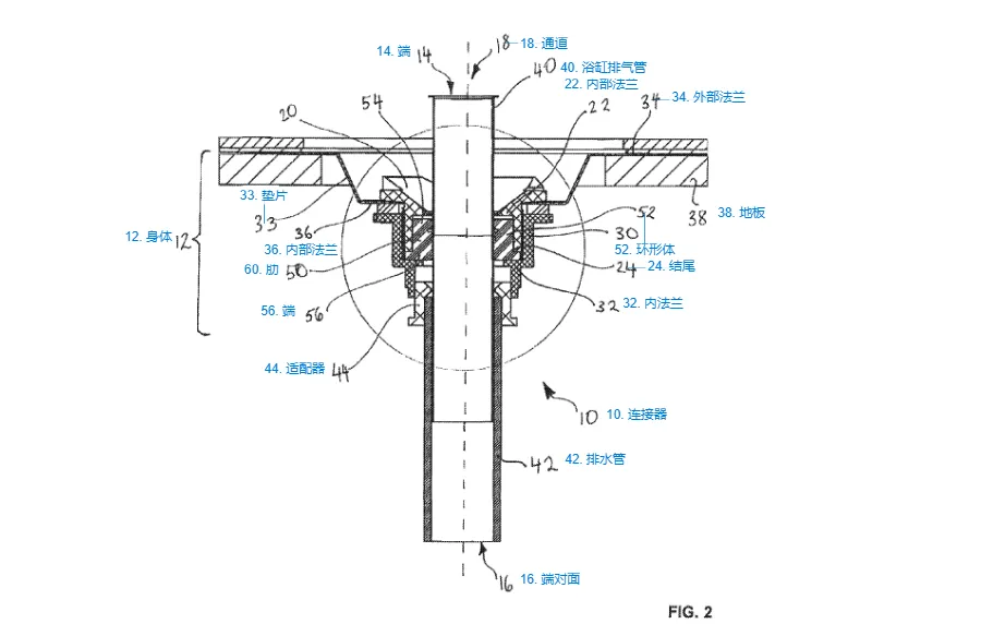
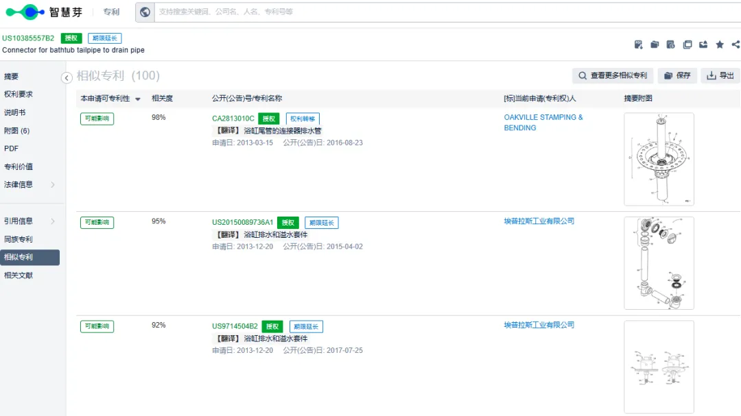
本周继续分享最新起诉的热门侵权案



1


























其他
05-08 周五











