亚马逊上这些热卖的设计,已有专利保护,选品需谨慎!
,OpenClaw助力亚马逊广告运营提效,点击报名>>>
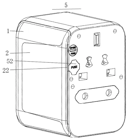
电源转换器发明专利
案件编号:26-cv-563
代理律所:Avek Ip, LLC
维权产品:电源转换器
受理法院:德克萨斯州

原告Dongguan Best Travel Electronics Co., Ltd. 是广东一家旅行电器领域的制造企业,针对各国插座标准不一,跨国旅行常需携带多个插头,极为不便,原告创新设计了一款多国适配的电源转换器过载保护装置,具有安装便捷、结构稳定、安全性高,有效防过载与误拔损坏。搭配小巧实用、功能全面的国际旅行适配器。
该发明专利涵盖产品的设计原理,即使外观存在一定差异,但功能原理相似也有可能面临侵权风险:



引体向上训练带外观专利
案件编号:26-cv-204
代理律所:COPYCAT LEGAL PLLC
维权产品:引体向上训练带
受理法院:德克萨斯州

原告Luo Liu是一位国人卖家,本案起诉的是一款引体向上训练带3项外观专利。该套装可通过弹力辅助帮助用户逐步提升上肢力量,直至能独立完成标准引体向上,无论是起步困难的新手还是追求突破的健身者,都能完美适应。
涉案专利如下:






多功能水杯套外观专利
案件编号:25-cv-944
代理律所:CHIACCHIO IP, LLC
维权产品:多功能水杯套
受理法院:宾夕法尼亚州


原告Lingyun Wang是一名国内的卖家,专注于水杯配件销售领域,本案起诉的是一款保温杯套,堪称户外旅行与日常出行的理想之选。它功能强大且实用,正面设有挂带,搭配拉链口袋、钥匙挂钩与弹性隔层,两侧还有弹性口袋,各类出门必备物品都能井然有序的收纳,高效又便捷。








电源转换器发明专利
案件编号:26-cv-563
代理律所:Avek Ip, LLC
维权产品:电源转换器
受理法院:德克萨斯州

原告Dongguan Best Travel Electronics Co., Ltd. 是广东一家旅行电器领域的制造企业,针对各国插座标准不一,跨国旅行常需携带多个插头,极为不便,原告创新设计了一款多国适配的电源转换器过载保护装置,具有安装便捷、结构稳定、安全性高,有效防过载与误拔损坏。搭配小巧实用、功能全面的国际旅行适配器。
该发明专利涵盖产品的设计原理,即使外观存在一定差异,但功能原理相似也有可能面临侵权风险:



引体向上训练带外观专利
案件编号:26-cv-204
代理律所:COPYCAT LEGAL PLLC
维权产品:引体向上训练带
受理法院:德克萨斯州

原告Luo Liu是一位国人卖家,本案起诉的是一款引体向上训练带3项外观专利。该套装可通过弹力辅助帮助用户逐步提升上肢力量,直至能独立完成标准引体向上,无论是起步困难的新手还是追求突破的健身者,都能完美适应。
涉案专利如下:






多功能水杯套外观专利
案件编号:25-cv-944
代理律所:CHIACCHIO IP, LLC
维权产品:多功能水杯套
受理法院:宾夕法尼亚州


原告Lingyun Wang是一名国内的卖家,专注于水杯配件销售领域,本案起诉的是一款保温杯套,堪称户外旅行与日常出行的理想之选。它功能强大且实用,正面设有挂带,搭配拉链口袋、钥匙挂钩与弹性隔层,两侧还有弹性口袋,各类出门必备物品都能井然有序的收纳,高效又便捷。













其他
04-09 周四











