Item 1 of 1
Click & Carry:创新购物袋携带神器的诞生与专利解析
2025-03-28 08:00
入驻+财税+选品+物流+黄金运营90天,从入门到精通,直面对话coupang官方团队!


US7874602B2

1. 一种装置,包括:

US8182008B2
将’602 Patent的购物袋更改为“carrying item”(携带物品),意味着产品的用途将不止用于购物袋,还包括其他物品。
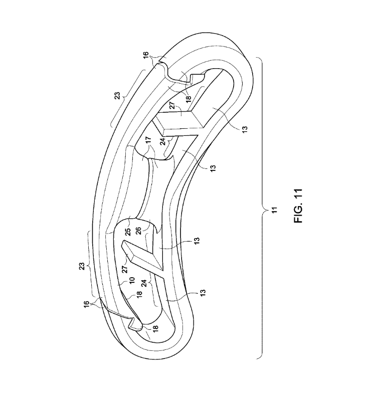
上部 [10] 至少有一个末端从上部 [10] 的一个点悬臂式伸出,强调了悬臂式的结构特点。
详细描述了上下部末端之间存在互锁操作关系。
装置闭合时,携带物品重量使下部接收区域受向下力,通过互锁操作关系,上部末端会向上拉下部末端,让上下部末端间互锁力随物品重量增加而增大。

TikTok、Facebook、谷歌、Twitter广告服务,0门槛抢占全球流量!
极速开户+优化投流+风险保障+效果跟踪,仅需4步,轻松撬动亿万海外流量,让品牌销量翻倍增长!
已成功开通5000+账户

最新热门报告作者标签
电商同比增长31%!拉美市场正成为高机遇市场AMZ123获悉,根据Antom的2025年拉美市场趋势报告,拉丁美洲正从“潜力市场”向“高机会市场”加速演进。凭借约6.62亿的人口基数、超过84%的互联网渗透率、持续增长的消费能力等多重优势,拉美市场正展现出超越东南亚的潜在发展机遇。本报告将从拉美市场现状、市场趋势、跨境电商机遇与挑战等方面,全面解析拉丁美洲电商的发展趋势,为卖家提供决策参考。一、拉丁美洲市场概况1. 人口优势拉丁美洲电商市场正处于快速成长阶段。目前,拉美市场拥有约6.62亿人口,形成了规模庞大的消费基数,且人均GDP已突破1万美元,显著高于多数东南亚国家。
日本时尚电商购物趋势:气候变化推动销售季节调整AMZ123获悉,近日,日本电商平台ZOZOTOWN发布了《日本时尚电商购物趋势》报告,报告基于2004年至2025年的20年购物数据,对日本在线时尚消费行为进行了系统分析。报告对日本超过9亿件商品的购买数据进行整合分析,不仅呈现了时尚消费的演变,也映射出社会、经济和生活方式的变化。报告显示,气候、物价、生活方式多样化和经济波动等环境因素在过去20年间持续影响消费者行为,使时尚购买呈现出更灵活、个性化和区域化的特征,为品牌营销、库存管理及产品策划提供了重要参考。报告指出,气候变化对服装销售季节性产生了直接影响。根据气象厅数据,过去20年间日本平均气温上升约1℃,夏季高温天数增加。
电商平台影响英国人网购决策,30%高价商品在平台下单AMZ123获悉,近日,根据Akeneo对来自八个国家的1800名英国消费者的调查,电商平台在英国消费者购买决策的各个环节中占据主导地位,尤其是在高价值商品的购买中表现突出。调查显示,超过90欧元的高价商品中,约30%的英国消费者选择通过电商平台完成购买,高于实体店和其他网站的比例。此前ChannelEngine的研究也显示,54%的英国在线购物者在寻找商品时首先会访问电商平台,这一比例高于欧洲平均水平的47%。调查结果显示,电商平台已成为英国消费者的“默认橱窗”,同时兼具比价工具、评价中心和结算平台的功能。
法国黑五周消费结构变化:销量降3%,销售额升0.4%AMZ123获悉,近日,根据购物应用Joko提供的研究数据,法国今年黑五周(Black Week)期间的平均消费继续小幅上涨。数据统计范围涵盖11月 21 日至 12 月 1 日,基于超过一百万名消费者的线上与线下银行交易记录,以及其应用上 6 万名用户的问卷反馈,对四大品类(时尚、美妆、数码、家居)做出总结。数据显示,法国消费者在11月下旬的促销周内平均花费达到236欧元,比去年多3欧元。得益于线上渠道,整体销售额同比增长0.4%,但销售量下降3%。在时尚品类中,二手平台Vinted登上第一,而去年排名第一的Shein跌至第九。在美妆品类中,丝芙兰排在法国品牌 Nocibé 前面。
一周年报告出炉!TikTok Shop爱尔兰黑五销售增长190%AMZ123获悉,近日,根据TikTok Shop的数据,自2024年12月正式登陆爱尔兰以来,爱尔兰卖家数量在一年内实现三位数增长,月活跃用户超240万。TikTok Shop将“本地增长”作为爱尔兰站第一年运营的核心,通过与Guaranteed Irish建立合作,帮助其成员企业扩大受众并提升运营能力。2025年双方联合举办多场线下与线上培训,累计吸引数百名卖家参与。随着合作成效显现,双方将续约至2026年,并计划扩大培训规模,让更多爱尔兰企业入驻TikTok Shop。过去一年中,地方城市卖家受益尤为明显。
我在TikTok卖游戏手柄,30天入账300万“这是12月的行情吗?”数据显示,TikTok美区12月截至11日GMV达到了9.64亿美元,按照“进度条”,美区12月业绩已经完成由黑五大促注入超强buff的11月总GMV的43.4%,日均销售额环比保持18.44%的高增速。炸裂的数据与圣诞红相互映照,卖家这边更是干着急,欠消费者的,只待物流运力加码才能还上。图源:TT123美区卖家交流群临近圣诞,美国人的采购方向依旧保持3大主线:仪式感、娱乐整活、实用主义,任意“混装”2-3点体感则更佳。近期,TikTok美区又有卖家借着这一思路打造出了爆款,为平台久未冒头的游戏类目, 注入了一丝未来发展的可能性。01凭复古成为爆款近一周的视频带货销量榜又多了些许新面孔。
不止支付,更是增长引擎:交易额破5000亿美元,万里汇成150万企业出海首选十二月的杭州,2025亚马逊全球开店跨境峰会如期而至。会场内人头攒动,数万名跨境卖家与服务商从五湖四海奔赴而来。他们中,有人带着黑五爆单的余温,回味着峰值时刻的酣畅;有人刚熬过淡季的蛰伏,在迷茫中求索破局之道;有人正摩拳擦掌,全力筹备新站点的全球开拓;也有人深耕合规布局,为全球业务探寻最优解法。所有出海人,都在为未来寻找一条更具确定性的增长路径。当全球经济步入深度调整期,地缘政治格局持续演变,消费市场呈现结构性分化,“不确定性” 已成为跨境行业的常态。如何在风浪中锚定方向、于变局中开拓新机,已成为所有跨境电商从业者必须共同面对的战略课题。
黑五网一卖爆近2亿,湖南跑出鞋类大卖!中国湖南长沙,悄悄冒出了一匹鞋界“黑马”——美迈科技。今年黑五网一,这家来自长沙的跨境企业全渠道总GMV近2亿元,打出了一套几乎完美的“组合拳”:不仅在亚马逊实现业绩突破,更在TikTok Shop、美客多等新兴平台多点成功爆发增长。公开信息显示,美迈科技主营鞋履出海业务,旗下品牌矩阵包括Dream Pairs、Dream Pairs Kids、Bruno Marc、NORTIV 8以及ALLSWIFIT等,覆盖女鞋、商务男鞋、户外机能鞋、运动鞋等多个细分品类,其topshoes us店铺常年位居亚马逊美国站全品类店铺前10名,并且自2021年起,公司每年保持30%左右的营收增长。
Temu等中国电商平台带动波兰网购频率增长,人均下单27次AMZ123获悉,近日,根据When U Buy应用的用户行为数据,Temu、Shein和AliExpress的快速增长并未削弱波兰本土卖家的市场地位,反而推动了整体网购需求的提升。分析表明,使用Temu、Shein和AliExpress等中国电商平台的消费者在Allegro、Zalando等欧洲平台的购买频次也同步上升,形成“多平台并购”的消费模式。波兰消费者的购物方式在新技术、激烈竞争以及中国平台的持续扩张推动下发生显著变化,包括消费频率上升、配送需求更高以及对价格和商品评价更加敏感。数据显示,在过去12个月内,平均每位用户在线消费4156兹罗提,全年人均下单27次,单次订单均值为153兹罗提。
亚马逊广告预算把控与调整基础逻辑在亚马逊运营中,广告预算的把控如同“掌舵”——投少了错失流量商机,投多了侵蚀利润空间。大家经常遇到广告超预算而广告ACOS效果严重超标,投入产出比严重失衡,所以我们需要合理的把控预算,并及时调整一、以利润为锚,区分品线施策核心逻辑在于:老品靠数据精算守利润,新品靠测试探索找区间,二者均需以TACOS(广告总销售成本占比)和ACoS为核心指标。1. 老品预算:数据反推,锁定盈利红线老品有成熟销售数据,预算设置需“算清账再投放”。首先用算出未计入广告成本的净利润率,结合目标利润率倒推广告占比。
美国黑五再破纪录,电商销售额达118亿美元AMZ123获悉,近日,根据Adobe Analytics、Salesforce和Shopify的多项最新数据,2025年美国的黑色星期五创下新的在线销售纪录,首次突破110亿美元大关,并在多个维度上刷新历史表现。在美国市场,黑色星期五当日的在线销售额达到118亿美元,同比增长9.1%,尽管增速略低于2024年的10.2%,但仍延续了自2014年以来几乎每年的增长趋势。自2020年以来,美国黑五在线销售额增加超过27亿美元;与十年前的35.4亿美元相比,已增长逾三倍。今年黑五购物在全天多时段呈现强劲表现,10时至14时期间,消费者平均每分钟在线消费1,250万美元;截至当日18:30,在线消费累计达86亿美元。
黑五网一收官!中小卖家遗憾陪跑随着黑五网一落下帷幕,今年这场大促留下的并不是“热闹过后归于平静”,而是一条形状完全改了的曲线。它拉得更长、亮得更久,却也把卖家之间的差距拉得更开。AMZ123获悉,今年美国黑五依然处在大促的中心位置,当天线上销售额约 118 亿美元,仍然位于全年天花板区间。但与前几年相比,它已经不再是那个“独占高峰”的节点。紧随其后的 Cyber Monday(网一)延续了强劲走势。根据 Adobe 的预估,2025 年美国网一线上销售额将达到约 140 亿美元,同比增长 4%–6%,不仅几乎追平黑五,还有机会反超,成为今年大促期间的单日冠军。
重磅!亚马逊公布2026年战略重心变化AMZ123获悉,12月4日,2025年亚马逊全球开店跨境峰会上,亚马逊回顾了过去一年里中国卖家在亚马逊上所取得的进展,并围绕2026年四大业务战略重点——供应链服务、AI赋能、全球拓展布局、本地服务,揭晓了40余项创新举措。根据亚马逊披露的数据:2025年以来,中国卖家通过亚马逊全球站点售出数十亿件商品,在美欧等成熟站点的销售额增长超过15%,在新兴站点的销售额增长超过30%;2025年以来,销售额达到200万、500万、800万美金的中国卖家数量,增长均超过20%;销售额超过1000万美金的中国卖家数量,增幅近30%。
AMZ123PayPal计算器使用指南及常见问题详解(内附计算公式)Paypal手续费计算器介绍及计算公式分享
https://www.amz123.com/tools-paypal
亚马逊GWD仓库是什么?为什么全球“首个”选在深圳?2025年12月5日,在亚马逊全球开店跨境峰会上,一个新词突然成为大家关注的核心:GWD,也就是Global Warehouse Distribution(全球智能枢纽仓)。亚马逊同期宣布,首个GWD将落地深圳,并计划在2026年3月对中国卖家全面开放。消息一出,从货代到供应链,从头程团队到卖家圈,都开始讨论:亚马逊到底想做什么?这个仓会改变什么?图源:亚马逊全球开店一、GWD到底是什么?它不是“加大号FBA仓”如果把 FBA 看成是“目的国仓”,那么 GWD 是亚马逊在供应链源头建立的“全球入口”。
头部卖家数量增长近30%,亚马逊2026有这些机会2025年,跨境电商行业彻底告别“粗放增长”,迈入“精耕细作”的深水区。在关税政策调整、消费需求分层、技术迭代加速等因素的推动下,行业迎来结构性变革。12月4日,电商巨头亚马逊在杭州跨境峰会上,回顾了过去一年里中国卖家在平台上所取得的成绩,并围绕2026年四大业务战略重点揭晓了40余项创新举措,引发业内关注。值此岁末年初复盘之际,本文结合峰会披露的信息及这一年来的行业动态,针对业内所关注的卖家业务表现、平台战略重点及释放出的趋势信号进行解读,以期能为跨境卖家的2026年计划提供一点参考。2025年,在全球贸易环境波动的背景下,依旧有一批中国卖家在亚马逊上实现了增长。
《亚马逊生活日用品类攻略手册》PDF下载作为日常生活不可或缺的重要组成,生活百货品类覆盖范围广泛,包括家居用品、家具、车用配件、户外装备、园艺
工具、运动器材、家装用品、厨房、玩具以及宠物用品等众多领域。这类产品不仅是满足基本生活所需,更体现了人们对美好生活的向往和追求。
《掘金泰国-市场洞察与战略机遇报告2025》PDF下载随着全球经济一体化的加速,泰国作为东盟的核心枢纽,凭借其独特的地缘优势庞大的消费市场以及持续优化的营商环境,成为众多企业战略布局的重要目标。本报告深入剖析泰国市场的政策红利、消费趋势、产业机遇以及合规挑战,旨在为有志于开拓泰国市场的中国企业提供行动指南,助力企业在东盟这片充满活力的土地上把握机遇、应对挑战、!实现可持续发展。
《2025欧美假日购物季营销指南》PDF下载2025年美国假日购物季零售额预计同比仅增长1.2%,总销售额约1.359万亿美元,虽仍保持正增长,但为2009年以来最低增速,市场正在步入低增长的新常态。
《2025年跨境电商东南亚市场进入战略白皮书》PDF下载东南亚电商,正以惊人的速度复刻中国电商高速增长的黄金时代。2024年东南亚电商GMV达到1284亿美元,短短5年涨幅超过3倍。全球电商2024年GMV增幅最快的十大市场中,东南亚独占四席。东南亚是拥有约6.7亿人口的广阔市场,在现今全球关税的不确定性大格局下,因其电商基建完善,利好的贸易政策,和更高的年轻人口占比,成为跨境卖家生意拓张焦点之一。
《2025年TikTok Shop玩具品类行业报告(欧美站)》PDF下载分析TikTok Shop美国市场、英国市场、西班牙市场、墨西哥市场等主流市场点短视频及直播电商数据,选取TikTok与玩具爱好品类相关的内容进行分析报告。
《2025 洗护品类趋势与创新洞察》PDF下载本报告独特价值:将消费者的“行为结果”据),揭示消费者深层心理动机、并能精准预判未来增长机会
《亚马逊双轨增长指南》PDF下载亚马逊以“以客户为中心”为核心理念,通过整合B2B与B2C的全渠道服务,帮助卖家实现“一店双拓”-- 一次上架,同步触达个人消费者与企业买家,获得双重收益。同时,基于Direct to Buyer(直接触达买家)的模式,更能有效减少中间环节,提升利润空间与品牌掌控力。
《亚马逊全球线上商采趋势与区域洞察》PDF下载随着全球企业数字化转型的深入推进,B2B商采有望成为下一个万亿级别的蓝海市场然而,中国卖家在开拓海外企业商采市场时往往面临着一个关键挑战:难以准确把握海外企业买家的商采行为和决策模式。这种认知偏差不仅影响了产品开发方向,也制约了市场拓展策略的制定。

Click & Carry:创新购物袋携带神器的诞生与专利解析
跨境侵权Ella说
2025-03-28 08:00
1462


US7874602B2

1. 一种装置,包括:

US8182008B2
将’602 Patent的购物袋更改为“carrying item”(携带物品),意味着产品的用途将不止用于购物袋,还包括其他物品。
上部 [10] 至少有一个末端从上部 [10] 的一个点悬臂式伸出,强调了悬臂式的结构特点。
详细描述了上下部末端之间存在互锁操作关系。
装置闭合时,携带物品重量使下部接收区域受向下力,通过互锁操作关系,上部末端会向上拉下部末端,让上下部末端间互锁力随物品重量增加而增大。

1







其他
12-16 周二











