这款床单固定夹的专利4月底刚公开就立马发起了侵权投诉!

普通的床单固定夹真的就只是夹子,今天分享的这款床单固定夹是夹子+绳子的组合。




BedScrunchie®是世界上第一个 360 度一体式床收紧解决方案,为您的床提供完美的 5 星级酒店外观。

专利情况
全球发明专利:WO2021081460A1 具有弹性耦合器的柔性材料紧固器

图1示出了在本公开的一个实施例中的带有床单的床的顶部透视图。在图中,床垫10具有右侧、左侧、前侧和后侧、顶侧和底侧。所示的是矩形床垫,但应该理解,任何尺寸或形状的床垫都在本公开的范围内。

带子34被示为延伸穿过绳索30中的入口32。绳索30可以附接在锁定连接器36处的汇合点或接头处,该锁定连接器36摩擦地抓住绳索并允许人在一个或两个方向上拉绳索30穿过它。人们拉伸绳子以使其围绕床垫的侧面安装,然后将绳子的长度减小到紧密配合并保持摩擦连接在床垫的侧面。

图 3 显示了带有上图床单的床,绑绳附在床单上。在图中,注意这些夹子20在床垫的每一侧(顶部、左侧、右侧、底部),每侧至少一个。这些夹子20具有一定长度的织物、弹性材料和/或突出构件,它们固定地和/或不可逆地附接到绳索30的长度上。

图 4 显示了带有图 3 床单的床,其中带子已拉紧。通过将锁定连接器36推向靠近床的位置来拉紧带子34,同时沿图中所示的方向39拉动带子的端部以使其远离床垫。随着带子34从那里拉出,绳索30的长度减小。

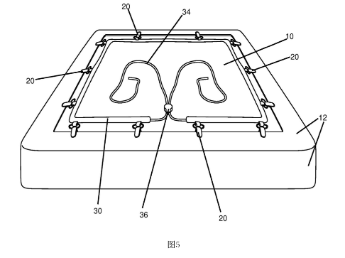
图5示出了本公开的实施例中的床的底部透视图,其中床单和带子被拉紧。床单12已被拉动以覆盖床垫10的所有侧面以及与床垫各侧面相邻(定义为“最接近”)的床垫底部的至少一部分。夹子20保持附接到床单12和绳索30。
专利总结
这项专利还是比较简单的,夹子的数量和形状以及绳子的细节都不是专利的权利要求,只要是通过夹子固定床单并拉绳收紧的结构,都有侵权风险!


普通的床单固定夹真的就只是夹子,今天分享的这款床单固定夹是夹子+绳子的组合。




BedScrunchie®是世界上第一个 360 度一体式床收紧解决方案,为您的床提供完美的 5 星级酒店外观。

专利情况
全球发明专利:WO2021081460A1 具有弹性耦合器的柔性材料紧固器

图1示出了在本公开的一个实施例中的带有床单的床的顶部透视图。在图中,床垫10具有右侧、左侧、前侧和后侧、顶侧和底侧。所示的是矩形床垫,但应该理解,任何尺寸或形状的床垫都在本公开的范围内。

带子34被示为延伸穿过绳索30中的入口32。绳索30可以附接在锁定连接器36处的汇合点或接头处,该锁定连接器36摩擦地抓住绳索并允许人在一个或两个方向上拉绳索30穿过它。人们拉伸绳子以使其围绕床垫的侧面安装,然后将绳子的长度减小到紧密配合并保持摩擦连接在床垫的侧面。

图 3 显示了带有上图床单的床,绑绳附在床单上。在图中,注意这些夹子20在床垫的每一侧(顶部、左侧、右侧、底部),每侧至少一个。这些夹子20具有一定长度的织物、弹性材料和/或突出构件,它们固定地和/或不可逆地附接到绳索30的长度上。

图 4 显示了带有图 3 床单的床,其中带子已拉紧。通过将锁定连接器36推向靠近床的位置来拉紧带子34,同时沿图中所示的方向39拉动带子的端部以使其远离床垫。随着带子34从那里拉出,绳索30的长度减小。

图5示出了本公开的实施例中的床的底部透视图,其中床单和带子被拉紧。床单12已被拉动以覆盖床垫10的所有侧面以及与床垫各侧面相邻(定义为“最接近”)的床垫底部的至少一部分。夹子20保持附接到床单12和绳索30。
专利总结
这项专利还是比较简单的,夹子的数量和形状以及绳子的细节都不是专利的权利要求,只要是通过夹子固定床单并拉绳收紧的结构,都有侵权风险!




福建
12-12 周五











