被专利US12390016B2投诉的床单锁定装置,如何寻找不侵权抗辩点并救回链接?
|AI实战大佬手把手教你用Agent重构跨境运营全链路,点击报名
近期,收到多起咨询,是关于亚马逊床单固定器被专利US12390016B2(以下简称016专利)指控侵权,导致热销链接被亚马逊下架。
经过初步分析,大部分卖家售卖的产品其实并未落入016专利的保护范围,是有明显的不侵权抗辩点的。亚马逊卖家收到针对016专利的投诉下架通知,该如何通过不侵权申诉救回自己的链接呢?
之前有发过多篇关于被发明专利投诉如何救回链接的推文,核心要点在于明确自己的售卖的产品是否侵权,那么判断发明专利是否侵权,还是需要从专利本身保护的范围出发,通过比对专利权利要求的保护的技术特征和自身上架的产品,来寻找不侵权抗辩点。
权利人发起专利维权投诉
016专利,当前权利人为LEWIS TRAVIS R,投诉方为zlumber。
官网:https://zlumber.com/


016专利申请于2024年12月19日,享有2022年11月12日的优先权日期。授权于2025年8月19日。从授权日期看,该专利在授权之后就开始进行维权了。
很多卖家售卖的产品从外形上看起来与zlumber的产品较为类似,然而针对发明专利是否构成侵权,主要是以专利所限定的保护范围为主。
016专利只有三项独立权利要求,独权涉及的技术特征相对来说也比较多,独权限定的技术特征越多,说明保护的范围越小,那么对被投诉的卖家来说,能够做不侵权抗辩的可能性就更大。赛贝将对016专利的三项独权进行分析:

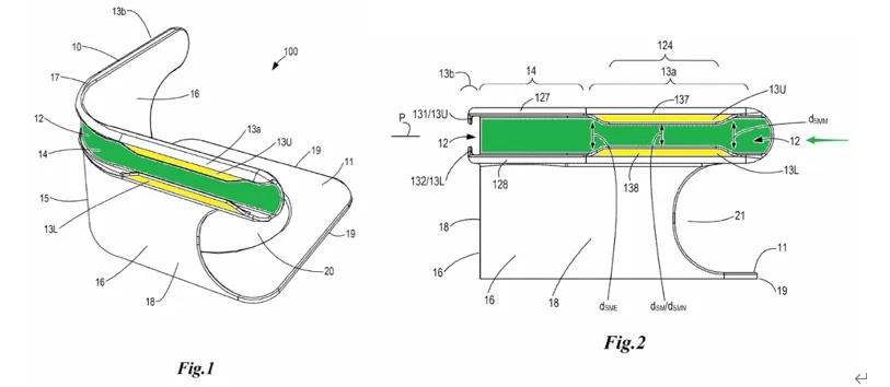
权利要求1保护的技术特征为:
该权利要求保护的是一种床单固定系统,其核心技术特征可归纳如下:
1.系统组成:包含两部分核心组件
(I)一个或多个角支架;
(II)一个或多个床单锁定条。
2.角支架的技术特征包括:
(a)水平延伸支架部件:尺寸和设计使其能延伸到床垫底面与下方支撑面之间;
(b)两个或多个床单接合通道:与水平延伸支架部件连接,其中两个通道需要满足:
①被角支架的一个角分隔;
②在与水平延伸支架部件平行的平面 P 内延伸;
③每个通道独立包含上部床单锁定通道构件和下部床单锁定通道构件(位于上部构件下方且与之间隔);④ 每个通道的轨道轮廓高度(HTP)大于轨道轮廓宽度(WTP)。
(c)床单锁定条的技术特征包括每个锁定条:①尺寸和设计使其能与上述上和下部床单锁定通道构件接合;②条宽度(WS)大于条厚度(TS)。


相应地,016的独立权利要求1集中保护的是角支架和锁定条的配合结构,值得注意的是独权1明确两个通道被角支架的角分隔(即通道分别位于角的两侧,无围绕角的连接结构),而独权10则对这一部分进行补充。


独权10保护的核心技术特征为每个通道由两个锁定构件 + 一个开放式导向段组成,导向段围绕角并连接两个锁定构件,形成一体化通道。独权14的保护范围则未限定通道的内部结构(无 “上部 / 下部构件”“轨道轮廓尺寸” 的限定),仅明确通道的分布方向。因此,从三个独权保护的范围来看,独权14是保护范围最大的。但经过分析比对,认为有些卖家的产品还是存在不侵权抗辩点的,和权利人的专利有一定的区别可以进行抗辩。


近期,收到多起咨询,是关于亚马逊床单固定器被专利US12390016B2(以下简称016专利)指控侵权,导致热销链接被亚马逊下架。
经过初步分析,大部分卖家售卖的产品其实并未落入016专利的保护范围,是有明显的不侵权抗辩点的。亚马逊卖家收到针对016专利的投诉下架通知,该如何通过不侵权申诉救回自己的链接呢?
之前有发过多篇关于被发明专利投诉如何救回链接的推文,核心要点在于明确自己的售卖的产品是否侵权,那么判断发明专利是否侵权,还是需要从专利本身保护的范围出发,通过比对专利权利要求的保护的技术特征和自身上架的产品,来寻找不侵权抗辩点。
权利人发起专利维权投诉
016专利,当前权利人为LEWIS TRAVIS R,投诉方为zlumber。
官网:https://zlumber.com/


016专利申请于2024年12月19日,享有2022年11月12日的优先权日期。授权于2025年8月19日。从授权日期看,该专利在授权之后就开始进行维权了。
很多卖家售卖的产品从外形上看起来与zlumber的产品较为类似,然而针对发明专利是否构成侵权,主要是以专利所限定的保护范围为主。
016专利只有三项独立权利要求,独权涉及的技术特征相对来说也比较多,独权限定的技术特征越多,说明保护的范围越小,那么对被投诉的卖家来说,能够做不侵权抗辩的可能性就更大。赛贝将对016专利的三项独权进行分析:

权利要求1保护的技术特征为:
该权利要求保护的是一种床单固定系统,其核心技术特征可归纳如下:
1.系统组成:包含两部分核心组件
(I)一个或多个角支架;
(II)一个或多个床单锁定条。
2.角支架的技术特征包括:
(a)水平延伸支架部件:尺寸和设计使其能延伸到床垫底面与下方支撑面之间;
(b)两个或多个床单接合通道:与水平延伸支架部件连接,其中两个通道需要满足:
①被角支架的一个角分隔;
②在与水平延伸支架部件平行的平面 P 内延伸;
③每个通道独立包含上部床单锁定通道构件和下部床单锁定通道构件(位于上部构件下方且与之间隔);④ 每个通道的轨道轮廓高度(HTP)大于轨道轮廓宽度(WTP)。
(c)床单锁定条的技术特征包括每个锁定条:①尺寸和设计使其能与上述上和下部床单锁定通道构件接合;②条宽度(WS)大于条厚度(TS)。


相应地,016的独立权利要求1集中保护的是角支架和锁定条的配合结构,值得注意的是独权1明确两个通道被角支架的角分隔(即通道分别位于角的两侧,无围绕角的连接结构),而独权10则对这一部分进行补充。


独权10保护的核心技术特征为每个通道由两个锁定构件 + 一个开放式导向段组成,导向段围绕角并连接两个锁定构件,形成一体化通道。独权14的保护范围则未限定通道的内部结构(无 “上部 / 下部构件”“轨道轮廓尺寸” 的限定),仅明确通道的分布方向。因此,从三个独权保护的范围来看,独权14是保护范围最大的。但经过分析比对,认为有些卖家的产品还是存在不侵权抗辩点的,和权利人的专利有一定的区别可以进行抗辩。







福建
04-23 周四











