跨境爆款发起TRO维权:这五款专利产品不能卖了!
AI设计/3D打印/欧洲市场实战拆解,点击报名
方形磁性玩具
立案时间:2025-10-10
案件编号:25-cv-01961
原告公司:Laltitude LLC
代理律所:Practus
维权类型:外观专利
原告是 “Picasso Tiles” 磁吸积木品牌的母公司,总部位于美国加利福尼亚州,成立于2013年2月28日,以玩具分销为核心业务。

本案涉及外观专利维权,涉案专利编号“US D789312 S”于2017年6月13日下证,保护期15年,保护范围涵盖积木整体轮廓、边角处理及表面装饰性凹槽/凸起等:

刊登举例:
PicassoTiles 100 Piece Set 在亚马逊的 Toy Building Sets 类目中位列畅销榜第一名,上个月销售量已超过 4000 件,累计评论量已近 7 万条。

VEHICLE GAP GUARD 车座间隙防护装置
立案时间:2025-10-10
案件编号:25-cv-12456
原告人:Jonathan Kotyk
代理律所:Dewitty
维权类型:发明专利
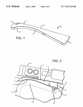
原告Jonathan Kotyk是一位来自美国佛罗里达州的独立发明人,针对机动车辆座椅间存在的间隙引发不方便的诸多问题,设计了一款车座间隙防护装置,一种可拆卸、轻质阻燃材料制成的楔形挡板。



三脚画架
立案时间:2025-10-10
案件编号:25-cv-12461
原告公司:JINLONG HOLDING TRADING CO., LTD.
代理律所:West Atlantic Law
维权类型:外观专利



刊登举例:

泳池储物篮
立案时间:2025-10-02
案件编号:25-cv-01606
原告公司:Ca-Sa Product GmbH、Carrie Box Pool Supplies Inc
代理律所:Avek
维权类型:发明专利
原告Ca-Sa Product GmbH是一家总部位于德国奥尔芬的公司,专注于泳池配件的研发与生产,其核心产品“Carrie Box”泳池储物篮备受关注。

本案涉及发明专利维权,涉案专利编号为US12116802B2,于2024年10月15日正式下证:发明专利保护的是“结构+功能”,只要泳池挂篮具备“弹簧式间隔件+可调节悬挂支架”核心特征,即使外观、颜色、尺寸不同,也可能落入 该专利的权利要求范围。



儿童电动滑板车
立案时间:2025-09-30
案件编号:25-cv-11951
原告人:Fanttik Innovation Inc
代理律所:Rimon
维权类型:外观专利
原告Fanttik Innovation Inc. 是一家综合性企业,专注于提供高品质的汽车工具、户外装备、家居改善工具及个人护理产品。

本案涉及外观专利维权,涉案专利编号为“USD1078860S”。发明专利保护“功能”,而外观专利只看“视觉效果”——只要儿童电动滑板车整体外观与专利图使普通消费者产生“混淆性相似”,即可能落入保护范围。


刊登举例:



方形磁性玩具
立案时间:2025-10-10
案件编号:25-cv-01961
原告公司:Laltitude LLC
代理律所:Practus
维权类型:外观专利
原告是 “Picasso Tiles” 磁吸积木品牌的母公司,总部位于美国加利福尼亚州,成立于2013年2月28日,以玩具分销为核心业务。

本案涉及外观专利维权,涉案专利编号“US D789312 S”于2017年6月13日下证,保护期15年,保护范围涵盖积木整体轮廓、边角处理及表面装饰性凹槽/凸起等:

刊登举例:
PicassoTiles 100 Piece Set 在亚马逊的 Toy Building Sets 类目中位列畅销榜第一名,上个月销售量已超过 4000 件,累计评论量已近 7 万条。

VEHICLE GAP GUARD 车座间隙防护装置
立案时间:2025-10-10
案件编号:25-cv-12456
原告人:Jonathan Kotyk
代理律所:Dewitty
维权类型:发明专利
原告Jonathan Kotyk是一位来自美国佛罗里达州的独立发明人,针对机动车辆座椅间存在的间隙引发不方便的诸多问题,设计了一款车座间隙防护装置,一种可拆卸、轻质阻燃材料制成的楔形挡板。



三脚画架
立案时间:2025-10-10
案件编号:25-cv-12461
原告公司:JINLONG HOLDING TRADING CO., LTD.
代理律所:West Atlantic Law
维权类型:外观专利



刊登举例:

泳池储物篮
立案时间:2025-10-02
案件编号:25-cv-01606
原告公司:Ca-Sa Product GmbH、Carrie Box Pool Supplies Inc
代理律所:Avek
维权类型:发明专利
原告Ca-Sa Product GmbH是一家总部位于德国奥尔芬的公司,专注于泳池配件的研发与生产,其核心产品“Carrie Box”泳池储物篮备受关注。

本案涉及发明专利维权,涉案专利编号为US12116802B2,于2024年10月15日正式下证:发明专利保护的是“结构+功能”,只要泳池挂篮具备“弹簧式间隔件+可调节悬挂支架”核心特征,即使外观、颜色、尺寸不同,也可能落入 该专利的权利要求范围。



儿童电动滑板车
立案时间:2025-09-30
案件编号:25-cv-11951
原告人:Fanttik Innovation Inc
代理律所:Rimon
维权类型:外观专利
原告Fanttik Innovation Inc. 是一家综合性企业,专注于提供高品质的汽车工具、户外装备、家居改善工具及个人护理产品。

本案涉及外观专利维权,涉案专利编号为“USD1078860S”。发明专利保护“功能”,而外观专利只看“视觉效果”——只要儿童电动滑板车整体外观与专利图使普通消费者产生“混淆性相似”,即可能落入保护范围。


刊登举例:








其他
04-09 周四











