速看!世界级大卖,远销15国!也惨遭封号?
家居3C产品是亚马逊上爆卖的大类目产品之一,可以说常年无淡季!也是很多卖家起家的爆款。作为亚马逊最受欢迎的品类,卖家在做相关产品的时候要注意避免侵权!
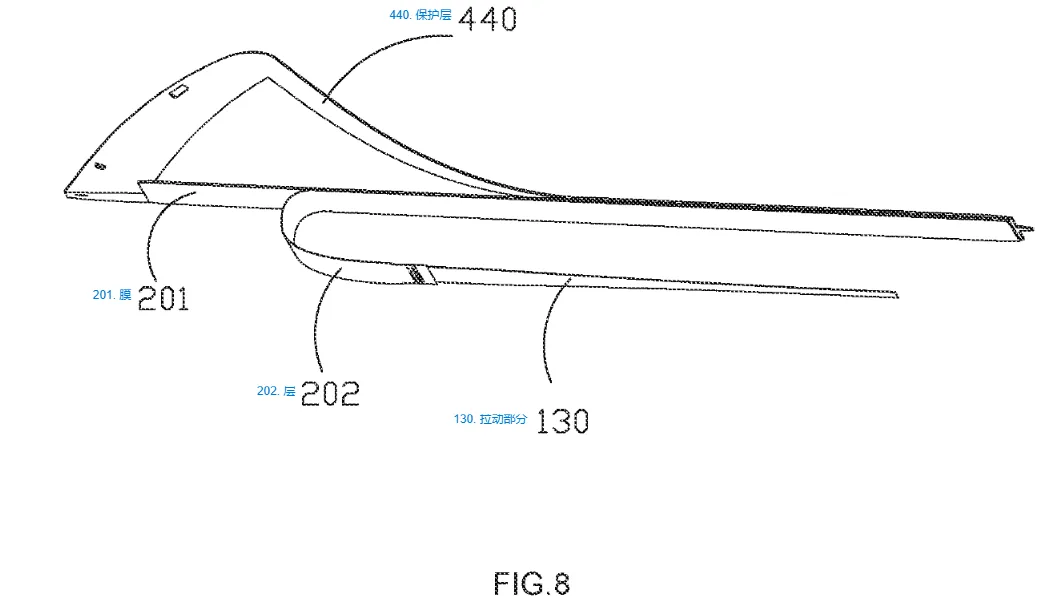
1.手机静电贴膜专利维权!
原告是中国的企业,通过转让获得涉案专利的全部权利,主要业务是研发、生产并销售受涉案专利保护的贴膜组件产品,产品用于电子设备屏幕的清洁与防护。拥有CNC雕刻机、丝印机等多种设备,月产能可达200万片,旗下有一款屏幕保护膜受到了广泛的欢迎。

案件信息:
立案时间:2025-10-09
案件编号:25-cv-01739
原告:Dongguan Pineapple Protection Co., Ltd
代理律所:DNL
维权类型:发明专利
维权理由:专利侵权
专利侵权具体信息:



怎样规避专利侵权点?
1.若专利要求包含“静电层+拉片+自动除尘功能”,而拉片或自动除尘并非核心功能,可设计无拉片或无自动除尘功能的贴膜,避免落入专利保护范围。
2.若专利使用静电层吸附灰尘,可改用微纤维层、粘性层或空气动力学设计实现除尘功能。
产品示例:

2.MixAid 搅拌碗和衬套系统专利维权!
原告Mbdb Products LLC是美国一家专注于从事各类家居用品及家用产品的制造与销售的公司,是KitchenAid立式搅拌机专用MixAid硅胶碗衬的独家生产、销售及营销授权方。
现在爆款产品MixAid正发起维权。该产品为搅拌机与带盖硅胶搅拌碗的组合套装,核心卖点在于搅拌碗支持洗碗机清洗及微波炉加热,具备出色的多功能性与便捷性。ixAid硅胶碗功能多样,其防滑设计能有效减少搅拌时食材溅出,保持厨房整洁;内壁光滑易清洁,还可直接放入洗碗机清洗;耐高温特性使其能承受烤箱和洗碗机的高温,不易变形损坏。

案件信息:
立案时间:2026-02-10
案件编号:26-cv-01395
原告人:MBDB PRODUCTS LLC
代理律所:Ference
维权类型:发明专利
维权理由:专利侵权
专利侵权具体信息:



怎样规避专利侵权点?
改变盖子固定方式,设计盖子的边缘为卡扣结构,使其直接卡在外碗的碗口边缘,而非通过环形裙边卡在内衬上。可避免落入专利保护范围。
2.采用旋转锁定的方式,让盖子的螺纹与内胆或外碗的螺纹结合,或设计类似乐扣盒子的四面锁扣结构,替代专利中描述的弹性卡合方式。
产品示例:

3.DRESSING TABLE 化妆台专利维权!
原告POPICORNS E-COMMERCE CO., LIMITED为爆米科技旗下主体。主营家具家居,深耕欧美跨境电商,Homary正是Popicorns旗下的核心品牌。Homary在2024年刚被《新闻周刊》评为“美国最佳家居生活行业在线商店”,每年推出超1000种全新设计 。这是一家拥有独立站流量、杂志级产品设计以及强大供应链整合能力的“大卖”级公司。超15个国家的消费者提供兼具杂志风格和高性价比的家具及家居产品。本次维权涉及44个店铺危险!

案件信息:
立案时间:2026-02-09
案件编号:26-cv-01474
原告人:POPICORNS E-COMMERCE CO., LIMITED
代理律所:ESP
维权类型:外观专利
维权理由:专利侵权
专利侵权具体信息:



怎样规避专利侵权点?
1.改变核心形状:调整化妆台的轮廓、比例或几何结构,如将矩形台面改为弧形、多边形,或改变抽屉、柜体的排列方式。
2.调整色彩搭配:使用不同的颜色组合或材质,避免与专利产品色彩高度相似。
3.增加或删减功能模块:若专利包含特定功能(如可调节镜面、储物分区),可通过增加新功能(如照明、充电接口)或减少部分功能,使产品与专利存在实质性差异。
产品示例:

总结:
以上就是近期部分起诉专利侵权的案件信息,涉及的容易踩雷产品,卖家务必要做好排查,发现不妥抓紧应对,尽可能远离侵权风险。


家居3C产品是亚马逊上爆卖的大类目产品之一,可以说常年无淡季!也是很多卖家起家的爆款。作为亚马逊最受欢迎的品类,卖家在做相关产品的时候要注意避免侵权!
1.手机静电贴膜专利维权!
原告是中国的企业,通过转让获得涉案专利的全部权利,主要业务是研发、生产并销售受涉案专利保护的贴膜组件产品,产品用于电子设备屏幕的清洁与防护。拥有CNC雕刻机、丝印机等多种设备,月产能可达200万片,旗下有一款屏幕保护膜受到了广泛的欢迎。

案件信息:
立案时间:2025-10-09
案件编号:25-cv-01739
原告:Dongguan Pineapple Protection Co., Ltd
代理律所:DNL
维权类型:发明专利
维权理由:专利侵权
专利侵权具体信息:



怎样规避专利侵权点?
1.若专利要求包含“静电层+拉片+自动除尘功能”,而拉片或自动除尘并非核心功能,可设计无拉片或无自动除尘功能的贴膜,避免落入专利保护范围。
2.若专利使用静电层吸附灰尘,可改用微纤维层、粘性层或空气动力学设计实现除尘功能。
产品示例:

2.MixAid 搅拌碗和衬套系统专利维权!
原告Mbdb Products LLC是美国一家专注于从事各类家居用品及家用产品的制造与销售的公司,是KitchenAid立式搅拌机专用MixAid硅胶碗衬的独家生产、销售及营销授权方。
现在爆款产品MixAid正发起维权。该产品为搅拌机与带盖硅胶搅拌碗的组合套装,核心卖点在于搅拌碗支持洗碗机清洗及微波炉加热,具备出色的多功能性与便捷性。ixAid硅胶碗功能多样,其防滑设计能有效减少搅拌时食材溅出,保持厨房整洁;内壁光滑易清洁,还可直接放入洗碗机清洗;耐高温特性使其能承受烤箱和洗碗机的高温,不易变形损坏。

案件信息:
立案时间:2026-02-10
案件编号:26-cv-01395
原告人:MBDB PRODUCTS LLC
代理律所:Ference
维权类型:发明专利
维权理由:专利侵权
专利侵权具体信息:



怎样规避专利侵权点?
改变盖子固定方式,设计盖子的边缘为卡扣结构,使其直接卡在外碗的碗口边缘,而非通过环形裙边卡在内衬上。可避免落入专利保护范围。
2.采用旋转锁定的方式,让盖子的螺纹与内胆或外碗的螺纹结合,或设计类似乐扣盒子的四面锁扣结构,替代专利中描述的弹性卡合方式。
产品示例:

3.DRESSING TABLE 化妆台专利维权!
原告POPICORNS E-COMMERCE CO., LIMITED为爆米科技旗下主体。主营家具家居,深耕欧美跨境电商,Homary正是Popicorns旗下的核心品牌。Homary在2024年刚被《新闻周刊》评为“美国最佳家居生活行业在线商店”,每年推出超1000种全新设计 。这是一家拥有独立站流量、杂志级产品设计以及强大供应链整合能力的“大卖”级公司。超15个国家的消费者提供兼具杂志风格和高性价比的家具及家居产品。本次维权涉及44个店铺危险!

案件信息:
立案时间:2026-02-09
案件编号:26-cv-01474
原告人:POPICORNS E-COMMERCE CO., LIMITED
代理律所:ESP
维权类型:外观专利
维权理由:专利侵权
专利侵权具体信息:



怎样规避专利侵权点?
1.改变核心形状:调整化妆台的轮廓、比例或几何结构,如将矩形台面改为弧形、多边形,或改变抽屉、柜体的排列方式。
2.调整色彩搭配:使用不同的颜色组合或材质,避免与专利产品色彩高度相似。
3.增加或删减功能模块:若专利包含特定功能(如可调节镜面、储物分区),可通过增加新功能(如照明、充电接口)或减少部分功能,使产品与专利存在实质性差异。
产品示例:

总结:
以上就是近期部分起诉专利侵权的案件信息,涉及的容易踩雷产品,卖家务必要做好排查,发现不妥抓紧应对,尽可能远离侵权风险。







其他
04-24 周五











