401家店铺被告!年末了,各位卖家小心!
AI设计/3D打印/欧洲市场实战拆解,点击报名
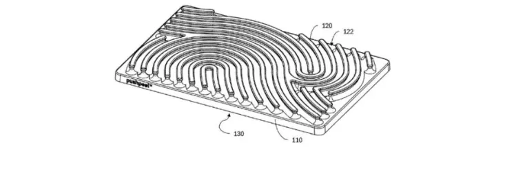
案件一:感官活动玩具专利案
本案原告Pushpeel LLC是一家成立于2023年7月31日的美国有限责任公司,总部位于纽约州奥尔巴尼,专注于儿童及成人感官与认知发展产品的研发与销售,其核心产品为感官活动板(Sensorial Activity Toys),以硅胶材质和独特设计为核心竞争力,产品注重安全材质与模块化互动,帮助孩子在动手拼接、按压与排序中自然锻炼手眼协调与专注力,通过触觉刺激与认知训练功能帮助用户缓解压力、提升情绪健康。同时为各年龄段用户提供舒缓压力的沉浸式触觉体验。

本次案件涉及的感官活动玩具专利案,本案被告侵犯了感官活动玩具的专利,由Ference & Associates律所代理的案件号:2025-cv-01957的感官活动玩具专利案案件。
案件信息:
起诉时间:2025.12.16
案件号:2025-cv-01957
维权类型:专利
专利号:12478892
原告品牌:Pushpeel LLC
品牌:Pushpeel LLC
代理律所:Ference & Associates
发案地:美国 宾夕法尼亚州
案件情况及侵权分析:
原告感官活动玩具起诉专利侵权案在2025年12月16号发起,案件号:2025-cv-01957,本次主要针对感官活动玩具专利案侵权维权。
品牌起诉理由:专利侵权
引证的具体专利侵权如下:
该专利保护范围是能动手插拔、可变形适配的感官玩具。原告曾在去年就通过GBC律所发起多次维权案件,并成功TRO冻结近150家店铺,跨境卖家需警惕,未经授权请勿使用相关产品。


产品示例:

案件二:天然植物染发剂版权案
本案原告是中国的一家跨境卖家,拥有一款名为“Natural Hair Dye天然植物泡泡染发剂”的产品,这是一款以植物为基底的染发产品,这款天然泡泡染发剂以植物草本精华为核心,为头发与头皮带来温和无刺激的染护体验。
本次案件涉及天然植物泡泡染发剂产品的版权,本案被告侵犯了原告产品的版权,由Palmer Law Group, P.A.律所代理的案件号:2025-cv-07113的天然植物泡泡染发剂产品的版权案件。

(图片来源:https://www.amazon.com/ 引用日期:2025年12月25日)
案件信息:
起诉时间:2025.12.12
案件号:2025-cv-07113
维权类型:版权
版权号:VAu 1-532-438
原告品牌:FEI CAO
品牌:Fei cao
代理律所:Palmer Law Group, P.A.
发案地:美国佐治亚州
案件情况及侵权分析:
天然植物泡泡染发剂产品起诉版权侵权案在2025年12月12号发起,案件号2025-cv-07113,起诉的251家店铺均是沃尔玛平台,但亚马逊还有大批同款链接在售,请卖家们仔细排查,相同的产品立刻下架,避免侵权!本次主要针对天然植物泡泡染发剂产品的版权案侵权维权。
品牌起诉理由:版权侵权
引证的具体侵权版权如下:

产品示例:

总结:
本次两大案件的起诉律所分别如下:
(1)感官活动玩具专利案律所:Ference & Associates
(2)天然植物泡泡染发剂版权案律所:Palmer Law Group, P.A.
以上就是近期起诉侵权的侵权案件。目前亚马逊平台中,都或多或少存在着许多与上述所列举产品相似且不同品牌的产品,因此存在很高的侵权风险。
在这里需要提醒同样销售类似产品的卖家,定期排查商品特征,警惕侵权风险!注意规避侵权特征,及时下架侵权产品。
尤其是版权,权利人有权要求版权局不公开自己的版权图片,版权没有类别限制,一旦被起诉就会被一锅端,大家最好使用自家的原创作品,记得给自己的原创作品版权登记。


案件一:感官活动玩具专利案
本案原告Pushpeel LLC是一家成立于2023年7月31日的美国有限责任公司,总部位于纽约州奥尔巴尼,专注于儿童及成人感官与认知发展产品的研发与销售,其核心产品为感官活动板(Sensorial Activity Toys),以硅胶材质和独特设计为核心竞争力,产品注重安全材质与模块化互动,帮助孩子在动手拼接、按压与排序中自然锻炼手眼协调与专注力,通过触觉刺激与认知训练功能帮助用户缓解压力、提升情绪健康。同时为各年龄段用户提供舒缓压力的沉浸式触觉体验。

本次案件涉及的感官活动玩具专利案,本案被告侵犯了感官活动玩具的专利,由Ference & Associates律所代理的案件号:2025-cv-01957的感官活动玩具专利案案件。
案件信息:
起诉时间:2025.12.16
案件号:2025-cv-01957
维权类型:专利
专利号:12478892
原告品牌:Pushpeel LLC
品牌:Pushpeel LLC
代理律所:Ference & Associates
发案地:美国 宾夕法尼亚州
案件情况及侵权分析:
原告感官活动玩具起诉专利侵权案在2025年12月16号发起,案件号:2025-cv-01957,本次主要针对感官活动玩具专利案侵权维权。
品牌起诉理由:专利侵权
引证的具体专利侵权如下:
该专利保护范围是能动手插拔、可变形适配的感官玩具。原告曾在去年就通过GBC律所发起多次维权案件,并成功TRO冻结近150家店铺,跨境卖家需警惕,未经授权请勿使用相关产品。


产品示例:

案件二:天然植物染发剂版权案
本案原告是中国的一家跨境卖家,拥有一款名为“Natural Hair Dye天然植物泡泡染发剂”的产品,这是一款以植物为基底的染发产品,这款天然泡泡染发剂以植物草本精华为核心,为头发与头皮带来温和无刺激的染护体验。
本次案件涉及天然植物泡泡染发剂产品的版权,本案被告侵犯了原告产品的版权,由Palmer Law Group, P.A.律所代理的案件号:2025-cv-07113的天然植物泡泡染发剂产品的版权案件。

(图片来源:https://www.amazon.com/ 引用日期:2025年12月25日)
案件信息:
起诉时间:2025.12.12
案件号:2025-cv-07113
维权类型:版权
版权号:VAu 1-532-438
原告品牌:FEI CAO
品牌:Fei cao
代理律所:Palmer Law Group, P.A.
发案地:美国佐治亚州
案件情况及侵权分析:
天然植物泡泡染发剂产品起诉版权侵权案在2025年12月12号发起,案件号2025-cv-07113,起诉的251家店铺均是沃尔玛平台,但亚马逊还有大批同款链接在售,请卖家们仔细排查,相同的产品立刻下架,避免侵权!本次主要针对天然植物泡泡染发剂产品的版权案侵权维权。
品牌起诉理由:版权侵权
引证的具体侵权版权如下:

产品示例:

总结:
本次两大案件的起诉律所分别如下:
(1)感官活动玩具专利案律所:Ference & Associates
(2)天然植物泡泡染发剂版权案律所:Palmer Law Group, P.A.
以上就是近期起诉侵权的侵权案件。目前亚马逊平台中,都或多或少存在着许多与上述所列举产品相似且不同品牌的产品,因此存在很高的侵权风险。
在这里需要提醒同样销售类似产品的卖家,定期排查商品特征,警惕侵权风险!注意规避侵权特征,及时下架侵权产品。
尤其是版权,权利人有权要求版权局不公开自己的版权图片,版权没有类别限制,一旦被起诉就会被一锅端,大家最好使用自家的原创作品,记得给自己的原创作品版权登记。







其他
04-09 周四











