床单固定器、毕业帽配件、双头点钻笔及饮品冲泡装置等产品遇侵权指控?不侵权报告助力亚马逊申诉!
AI设计/3D打印/欧洲市场实战拆解,点击报名
近期,赛贝知识产权了解到亚马逊平台出现集中维权潮,毕业帽配件、床单固定器、双头点钻笔及饮品冲泡装置这4类热门产品,因涉及美国发明专利侵权被投诉,不少卖家的爆款Listing已被平台下架。
值得注意的是,赛贝在接待大量相关亚马逊侵权申诉咨询时发现,不少被投诉卖家存在“误判侵权”情况,其产品并未真正落入维权专利的保护范围。发明专利侵权判断不是简单看外观像不像的问题,专利的保护范围由“独立权利要求”界定,需逐一核对产品的核心结构、部件连接方式、关键技术参数及功能实现路径。若缺少其中一项必要技术特征,通常不构成字面侵权。
要注意的是,即使产品在材质、非核心结构上有差异,但如果用了与专利“实质相同的技术手段”,实现了相同的功能且达到同等效果,仍可能被认定为等同侵权。
当然,除了通过对比发明专利的保护范围,也可以从现有技术的角度进行抗辩。若能找到在专利申请日之前已公开销售或使用的相似专利产品,就能构成有效的不侵权抗辩。近日,赛贝就通过这一抗辩点,成功帮助一位卖家出具不侵权报告并递交亚马逊申诉,成功恢复40多条ASIN。
以下是正在维权专利的基础信息,供相关卖家参考。如需进一步的侵权分析,可在文末扫码联系赛贝,赛贝可根据卖家提供的被下架邮件截图,免费进行侵权判断。
毕业帽头带粘合夹专利(US12342892B2)
专利号:US12342892B2
申请日期:2023年12月12日
授权日期:2025年7月1日
毕业帽配件,解决的是传统毕业帽的老问题,尺寸不合适、别针固定易坏、复杂发型戴不稳,核心是 “粘性夹子固定技术”。

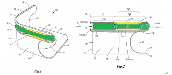
床单固定器专利(US12390016B2)
专利号:US12390016B2
申请日期:2025年03月21日
授权日期:2025年8月19日
床上用品配件,通过“角支架+锁定条” 的组合,解决床单乱跑的问题。

Double-endedhandtool双头点钻笔专利
(US10308005B2)
专利号:US10308005B2
申请日期:2015年3月06日,享有2014年3月7日的优先权日期
授权日期:2019年6月4日
美甲与手工饰品制作的工具,双头设计(蜡笔头 + 金属头),还有防滑手柄、旋转出芯这些人性化设计。

饮品冲泡辅助装置专利(US11937732B2)
专利号:US11937732B2
申请日期:2023年12月12日
授权日期:2024 年 3 月 26 日
饮品冲泡设备,活塞推动使液体充分渗透原料并定向流动,增强萃取效率与一致性;滤网结构防止固体颗粒进入饮品中,提高饮用体验。

以下是近期亚马逊卖家委托赛贝的美国律师出具《不侵权报告》,成功使被侵权投诉下架的高价值链接申诉成功的案例,展示部分截图:





近期,赛贝知识产权了解到亚马逊平台出现集中维权潮,毕业帽配件、床单固定器、双头点钻笔及饮品冲泡装置这4类热门产品,因涉及美国发明专利侵权被投诉,不少卖家的爆款Listing已被平台下架。
值得注意的是,赛贝在接待大量相关亚马逊侵权申诉咨询时发现,不少被投诉卖家存在“误判侵权”情况,其产品并未真正落入维权专利的保护范围。发明专利侵权判断不是简单看外观像不像的问题,专利的保护范围由“独立权利要求”界定,需逐一核对产品的核心结构、部件连接方式、关键技术参数及功能实现路径。若缺少其中一项必要技术特征,通常不构成字面侵权。
要注意的是,即使产品在材质、非核心结构上有差异,但如果用了与专利“实质相同的技术手段”,实现了相同的功能且达到同等效果,仍可能被认定为等同侵权。
当然,除了通过对比发明专利的保护范围,也可以从现有技术的角度进行抗辩。若能找到在专利申请日之前已公开销售或使用的相似专利产品,就能构成有效的不侵权抗辩。近日,赛贝就通过这一抗辩点,成功帮助一位卖家出具不侵权报告并递交亚马逊申诉,成功恢复40多条ASIN。
以下是正在维权专利的基础信息,供相关卖家参考。如需进一步的侵权分析,可在文末扫码联系赛贝,赛贝可根据卖家提供的被下架邮件截图,免费进行侵权判断。
毕业帽头带粘合夹专利(US12342892B2)
专利号:US12342892B2
申请日期:2023年12月12日
授权日期:2025年7月1日
毕业帽配件,解决的是传统毕业帽的老问题,尺寸不合适、别针固定易坏、复杂发型戴不稳,核心是 “粘性夹子固定技术”。

床单固定器专利(US12390016B2)
专利号:US12390016B2
申请日期:2025年03月21日
授权日期:2025年8月19日
床上用品配件,通过“角支架+锁定条” 的组合,解决床单乱跑的问题。

Double-endedhandtool双头点钻笔专利
(US10308005B2)
专利号:US10308005B2
申请日期:2015年3月06日,享有2014年3月7日的优先权日期
授权日期:2019年6月4日
美甲与手工饰品制作的工具,双头设计(蜡笔头 + 金属头),还有防滑手柄、旋转出芯这些人性化设计。

饮品冲泡辅助装置专利(US11937732B2)
专利号:US11937732B2
申请日期:2023年12月12日
授权日期:2024 年 3 月 26 日
饮品冲泡设备,活塞推动使液体充分渗透原料并定向流动,增强萃取效率与一致性;滤网结构防止固体颗粒进入饮品中,提高饮用体验。

以下是近期亚马逊卖家委托赛贝的美国律师出具《不侵权报告》,成功使被侵权投诉下架的高价值链接申诉成功的案例,展示部分截图:










其他
04-09 周四











