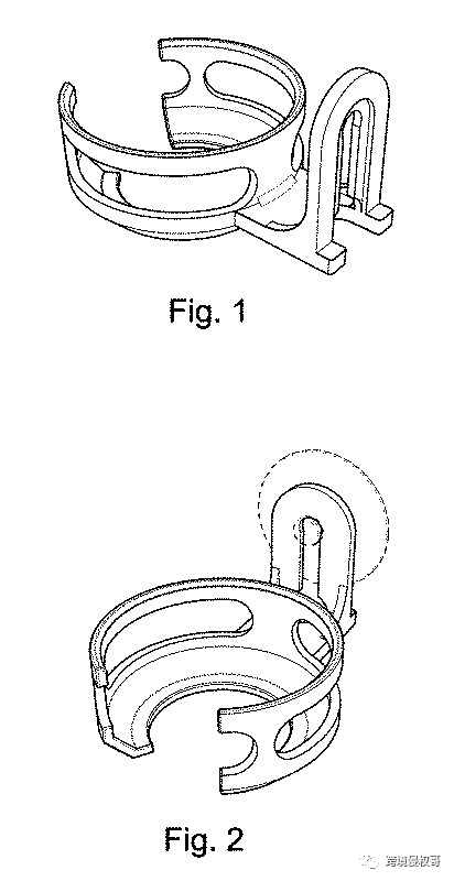
SipCaddy淋浴啤酒架
SipCaddy®是第一个也是唯一的淋浴啤酒架。正确应用到无孔表面上时,最高质量的美国制造的吸盘重量为7磅。有史以来最通用的杯架!亚马逊上排名第一的淋浴房。每个假期的最爱和顶级礼物!

•将其附着在几乎任何光滑的表面上,以方便地固定啤酒罐,瓶子,杯子和许多其他家居用品。浴缸和淋浴的最爱!

•SipCaddy由坚固,耐用,可回收的ABS塑料制成,易于清洁,并且可以使用洗碗机清洗。

•SipCaddy包括美国制造的质量最高的吸盘,当正确应用到大多数有光泽,无孔的表面(包括塑料,陶瓷,金属,玻璃和镜子)时,其额定承重为7磅。
•SipCaddy由一群饮酒爱好者,建筑师和设计师组成的小团队,由两个兄弟领导设计和开发。这些设计使用3D打印技术进行了广泛的原型制作,这使我们能够对SipCaddy进行测试和微调,以容纳最广泛的饮料,并最有效地利用材料并保持干净的外观。

目前仅注册了一项美国外观专利D794398,美国站专利侵权!
- THE END -

SipCaddy®是第一个也是唯一的淋浴啤酒架。正确应用到无孔表面上时,最高质量的美国制造的吸盘重量为7磅。有史以来最通用的杯架!亚马逊上排名第一的淋浴房。每个假期的最爱和顶级礼物!

•将其附着在几乎任何光滑的表面上,以方便地固定啤酒罐,瓶子,杯子和许多其他家居用品。浴缸和淋浴的最爱!

•SipCaddy由坚固,耐用,可回收的ABS塑料制成,易于清洁,并且可以使用洗碗机清洗。

•SipCaddy包括美国制造的质量最高的吸盘,当正确应用到大多数有光泽,无孔的表面(包括塑料,陶瓷,金属,玻璃和镜子)时,其额定承重为7磅。
•SipCaddy由一群饮酒爱好者,建筑师和设计师组成的小团队,由两个兄弟领导设计和开发。这些设计使用3D打印技术进行了广泛的原型制作,这使我们能够对SipCaddy进行测试和微调,以容纳最广泛的饮料,并最有效地利用材料并保持干净的外观。

目前仅注册了一项美国外观专利D794398,美国站专利侵权!
- THE END -




福建
12-12 周五











