精选10款6月17日最新下证常见产品美国外观专利,警惕侵权!
AI设计/3D打印/欧洲市场实战拆解,点击报名
一、专利名称:Safety belt(皮带)
专利证书编号:D1079193S
专利申请日期:2024年11月4日
专利下证日期:2025年6月17日

二、专利名称:Cleaning brush(清洁刷)
专利证书编号:D1079282S
专利申请日期:2024年12月31日
专利下证日期:2025年6月17日

三、专利名称:Easel(画架)
专利证书编号:D1079293S
专利申请日期:2022年10月17日
专利下证日期:2025年6月17日

四、专利名称:Clothes hanger(衣架)
专利证书编号:D1079295S
专利申请日期:2023年8月21日
专利下证日期:2025年6月17日

五、专利名称:Chair(椅子)
专利证书编号:D1079308S
专利申请日期:2023年10月30日
专利下证日期:2025年6月17日

六、专利名称:Neck pillow(颈枕)
专利证书编号:D1079327S
专利申请日期:2023年11月29日
专利下证日期:2025年6月17日

七、专利名称:Coat rack(衣帽架)
专利证书编号:D1079347S
专利申请日期:2025年1月27日
专利下证日期:2025年6月17日

八、专利名称:Adjustable wrench(活动扳手)
专利证书编号:D1079420S
专利申请日期:2023年9月29日
专利下证日期:2025年6月17日

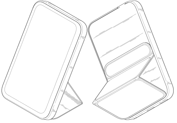
九、专利名称:Charging bracket(充电支架)
专利证书编号:D1079420S
专利申请日期:2022年2月8日
专利下证日期:2025年6月17日

十、专利名称:Swing car(摇摆车)
专利证书编号:D1079420S
专利申请日期:2024年4月17日
专利下证日期:2025年6月17日

以上产品都是日常生活中较为常见的,也是跨境电商的卖家们在选品时会首要考虑的。
目前亚马逊平台中,都或多或少存在着许多与上述所列举产品相似且不同品牌的产品,因此存在很高的侵权风险。
在这里需要提醒同样销售类似产品的卖家,定期排查商品特征,警惕侵权风险!注意规避侵权特征,及时下架侵权产品。


一、专利名称:Safety belt(皮带)
专利证书编号:D1079193S
专利申请日期:2024年11月4日
专利下证日期:2025年6月17日

二、专利名称:Cleaning brush(清洁刷)
专利证书编号:D1079282S
专利申请日期:2024年12月31日
专利下证日期:2025年6月17日

三、专利名称:Easel(画架)
专利证书编号:D1079293S
专利申请日期:2022年10月17日
专利下证日期:2025年6月17日

四、专利名称:Clothes hanger(衣架)
专利证书编号:D1079295S
专利申请日期:2023年8月21日
专利下证日期:2025年6月17日

五、专利名称:Chair(椅子)
专利证书编号:D1079308S
专利申请日期:2023年10月30日
专利下证日期:2025年6月17日

六、专利名称:Neck pillow(颈枕)
专利证书编号:D1079327S
专利申请日期:2023年11月29日
专利下证日期:2025年6月17日

七、专利名称:Coat rack(衣帽架)
专利证书编号:D1079347S
专利申请日期:2025年1月27日
专利下证日期:2025年6月17日

八、专利名称:Adjustable wrench(活动扳手)
专利证书编号:D1079420S
专利申请日期:2023年9月29日
专利下证日期:2025年6月17日

九、专利名称:Charging bracket(充电支架)
专利证书编号:D1079420S
专利申请日期:2022年2月8日
专利下证日期:2025年6月17日

十、专利名称:Swing car(摇摆车)
专利证书编号:D1079420S
专利申请日期:2024年4月17日
专利下证日期:2025年6月17日

以上产品都是日常生活中较为常见的,也是跨境电商的卖家们在选品时会首要考虑的。
目前亚马逊平台中,都或多或少存在着许多与上述所列举产品相似且不同品牌的产品,因此存在很高的侵权风险。
在这里需要提醒同样销售类似产品的卖家,定期排查商品特征,警惕侵权风险!注意规避侵权特征,及时下架侵权产品。







其他
04-09 周四











