Item 1 of 1
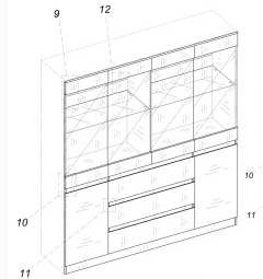
【美国近期下证外观专利侵权预警】今日品类:橱柜/Cabinet
2025-09-11 09:30
想系统掌握亚马逊广告的投放逻辑与底层闭环?










在这里需要提醒同样销售类似产品的卖家,定期排查商品特征,警惕侵权风险!注意规避侵权特征,及时下架侵权产品。
TikTok、Facebook、谷歌、Twitter广告服务,0门槛抢占全球流量!
极速开户+优化投流+风险保障+效果跟踪,仅需4步,轻松撬动亿万海外流量,让品牌销量翻倍增长!
已成功开通5000+账户

最新热门报告作者标签
25年亚太电商报告:新兴与成熟市场差异显著AMZ123获悉,近日,PCMI发布了《2025年亚太电商消费者趋势报告》。随着电商持续渗透全球消费市场,支付方式的变化正成为影响电商增长结构和区域差异的重要因素。在亚太地区,电商市场快速增长,同时支付方式也呈现出高度多样化特征。此次报告通过图表和数据分析,系统呈现亚太地区(不含中国)11个国家消费者的支付习惯、电商市场规模变化以及潜在增长空间,为卖家和品牌判断市场机会、投资方向提供参考。一、亚太市场规模报告显示,亚太地区电商整体呈现高增长趋势。2025年亚太地区电商规模将首次突破1.1万亿美元,预计在2025至2027年间保持12%的年复合增长率,到2027年市场规模将超过1.5万亿美元。
Shopee越南双十二用户活跃度提升,直播售出超5000万件商品AMZ123获悉,近日,2025年12月,Shopee在越南结束了12.12生日超级促销活动。作为Shopee成立10周年的重要节点,本次大促期间平台用户活跃度和转化表现显著提升,直播与短视频内容成为推动成交的重要渠道。数据显示,仅在12月12日当天,Shopee在越南的访问量就超过1200万次;为期两周的活动期间,用户累计节省金额超过4万亿越南盾。在促销活动之外,Shopee在本次12.12期间大幅强化内容与娱乐元素,通过音乐演出、综艺衍生内容和直播互动等形式提升用户参与度。
关税压顶、税单敲门!2025跨境电商十大事件回顾专栏介绍2025年,跨境电商行业经历了一场深刻的范式转换。旧增长秩序已被改写,行业竞争已从流量争夺,升维为供应韧性、成本控制与合规运营的系统性较量。周期更迭,潮起潮落。行业的巨轮缓缓驶入深水区,有人在调整中登上新高,也有人就此转身离场。作为深度参与的行业观察者,AMZ123特此发起 【2025年度跨境专题报道】系列专栏。本专栏将不止记录赛道的高光与暗礁,更致力于解构穿越周期的密码,为从业者提供一份关于生存与进化的真实笔记。本文为专栏的第一篇报道,旨在通过回顾过去一年的行业大事,以此看清行业新秩序与未来破局方向。2025年,美国对华关税政策经历了从紧张升级到逐步缓和的过程。
25年美国社交电商市场将达870亿美元,TikTok推动增长AMZ123获悉,近日,研究机构Emarketer的最新报告显示,TikTok正持续推动社交电商市场增长,其中TikTok Shop已成为该领域的重要组成部分。2025年,TikTok Shop的销售额占全球社交电商总量的近20%。按照预测,TikTok Shop的销售规模将在2026年超过200亿美元,并在2028年突破300亿美元。与此同时,2026年预计将有一半的美国社交购物用户在TikTok平台完成购买。从整体市场来看,社交电商目前仍仅占美国电商总规模的一小部分,但占比正在稳步提升。
重磅!亚马逊再出广告新功能暂无简介...
双十二期间,印尼消费者更偏好本地品牌与高品质商品AMZ123获悉,近日,电商平台Shopee与Lazada的数据均显示,印尼消费者的线上购物行为在 12.12 全国网购日(Harbolnas)活动期间呈现出明显变化。消费者在年终促销节点的购物重点正在发生转移,从单纯追求低价,逐步转向对本地产品和高质量商品的关注。Shopee 的数据显示,2025 年 12.12 活动期间,印尼消费者对本地产品的兴趣显著上升。平台观察到,用户通过多种活动和功能,更积极地寻找并支持本地中小微企业(UMKM)及本土品牌。该趋势不仅体现在购物热度上,也反映出 12.12 已从单一的促销活动,逐渐演变为消费者了解和选择本地产品的重要窗口。
每日低价跨境包裹数高达5万,希腊呼吁加强监管AMZ123获悉,近日,随着Shein、Temu等电商平台在欧洲快速扩张,大量单价不超过150欧元的跨境包裹每天通过免税政策进入希腊市场,希腊相关行业组织正呼吁欧盟建立统一的监管措施。希腊商贸与企业联合会(ESEE)的数据显示,欧盟范围内,91%以上的低于150欧元的跨境包裹来自中国。2024年,欧盟市场共进口约46亿件单价不超过150欧元的包裹,预计2025年将增至约60亿件。在希腊,每天进入市场的低价跨境订单数量最高可达5万单,且仍在增长。相关研究估算,希腊消费者在电商平台上的支出中,每5欧元就有1欧元流向中国,年交易规模约为5.29亿至6.27亿欧元。
AMZ123星球专享丨12月第三周资讯汇总亚马逊亚马逊于12月16日上午9点启动了“圣诞限时特卖”活动,此次促销将持续到12月25日23点59分,可能成为平台年内的最后一场大型促销。亚马逊宣布自2026年3月31日起将全面终止共享库存(混仓)模式,并更新制造商条码的使用标准。根据新规,完成品牌备案的品牌所有者将可以直接使用UPC等制造商条码进行入库,而无需粘贴亚马逊条码。亚马逊正在与人工智能公司OpenAI就一笔潜在投资展开磋商,投资规模约为100亿美元。亚马逊向美国华盛顿州提交了一份新的通报,将在当地裁减84个岗位。亚马逊说明,这一调整属于各业务部门在日常运营中进行的人员结构优化,并不涉及其在今年10月宣布的全球性裁员计划。
重磅!亚马逊再出广告新功能暂无简介...
冬季需求拉动增长,10款汽配产品在亚马逊月销过万AMZ123获悉,近日,亚马逊各类产品搜索量增长显著,以下10款产品在亚马逊上销量表现突出,深受消费者欢迎。1. 便携轮胎充气泵预计销售额:679.99万美元/月销量:100,000+星级评分:4.3好评数量:23,615+图源:亚马逊产品介绍:这款便携式轮胎充气泵采用电池供电设计,体积小巧,可放置于手套箱或后备箱,适用于汽车、SUV、摩托车、自行车及球类等。支持最高 120 PSI 的精准充气,内置数字胎压显示屏,可在 PSI、kPa、Bar 等多种单位间切换,并通过按键设定目标胎压,到达设定值后自动停止,降低过度充气风险。配套多种充气接口和LED照明灯,满足日常补气和应急使用需求。
关税压顶、税单敲门!2025跨境电商十大事件回顾专栏介绍2025年,跨境电商行业经历了一场深刻的范式转换。旧增长秩序已被改写,行业竞争已从流量争夺,升维为供应韧性、成本控制与合规运营的系统性较量。周期更迭,潮起潮落。行业的巨轮缓缓驶入深水区,有人在调整中登上新高,也有人就此转身离场。作为深度参与的行业观察者,AMZ123特此发起 【2025年度跨境专题报道】系列专栏。本专栏将不止记录赛道的高光与暗礁,更致力于解构穿越周期的密码,为从业者提供一份关于生存与进化的真实笔记。本文为专栏的第一篇报道,旨在通过回顾过去一年的行业大事,以此看清行业新秩序与未来破局方向。2025年,美国对华关税政策经历了从紧张升级到逐步缓和的过程。
25年亚太电商报告:新兴与成熟市场差异显著AMZ123获悉,近日,PCMI发布了《2025年亚太电商消费者趋势报告》。随着电商持续渗透全球消费市场,支付方式的变化正成为影响电商增长结构和区域差异的重要因素。在亚太地区,电商市场快速增长,同时支付方式也呈现出高度多样化特征。此次报告通过图表和数据分析,系统呈现亚太地区(不含中国)11个国家消费者的支付习惯、电商市场规模变化以及潜在增长空间,为卖家和品牌判断市场机会、投资方向提供参考。一、亚太市场规模报告显示,亚太地区电商整体呈现高增长趋势。2025年亚太地区电商规模将首次突破1.1万亿美元,预计在2025至2027年间保持12%的年复合增长率,到2027年市场规模将超过1.5万亿美元。
AMZ123星球专享丨12月第三周资讯汇总亚马逊亚马逊于12月16日上午9点启动了“圣诞限时特卖”活动,此次促销将持续到12月25日23点59分,可能成为平台年内的最后一场大型促销。亚马逊宣布自2026年3月31日起将全面终止共享库存(混仓)模式,并更新制造商条码的使用标准。根据新规,完成品牌备案的品牌所有者将可以直接使用UPC等制造商条码进行入库,而无需粘贴亚马逊条码。亚马逊正在与人工智能公司OpenAI就一笔潜在投资展开磋商,投资规模约为100亿美元。亚马逊向美国华盛顿州提交了一份新的通报,将在当地裁减84个岗位。亚马逊说明,这一调整属于各业务部门在日常运营中进行的人员结构优化,并不涉及其在今年10月宣布的全球性裁员计划。
每日低价跨境包裹数高达5万,希腊呼吁加强监管AMZ123获悉,近日,随着Shein、Temu等电商平台在欧洲快速扩张,大量单价不超过150欧元的跨境包裹每天通过免税政策进入希腊市场,希腊相关行业组织正呼吁欧盟建立统一的监管措施。希腊商贸与企业联合会(ESEE)的数据显示,欧盟范围内,91%以上的低于150欧元的跨境包裹来自中国。2024年,欧盟市场共进口约46亿件单价不超过150欧元的包裹,预计2025年将增至约60亿件。在希腊,每天进入市场的低价跨境订单数量最高可达5万单,且仍在增长。相关研究估算,希腊消费者在电商平台上的支出中,每5欧元就有1欧元流向中国,年交易规模约为5.29亿至6.27亿欧元。
25年美国社交电商市场将达870亿美元,TikTok推动增长AMZ123获悉,近日,研究机构Emarketer的最新报告显示,TikTok正持续推动社交电商市场增长,其中TikTok Shop已成为该领域的重要组成部分。2025年,TikTok Shop的销售额占全球社交电商总量的近20%。按照预测,TikTok Shop的销售规模将在2026年超过200亿美元,并在2028年突破300亿美元。与此同时,2026年预计将有一半的美国社交购物用户在TikTok平台完成购买。从整体市场来看,社交电商目前仍仅占美国电商总规模的一小部分,但占比正在稳步提升。
双十二期间,印尼消费者更偏好本地品牌与高品质商品AMZ123获悉,近日,电商平台Shopee与Lazada的数据均显示,印尼消费者的线上购物行为在 12.12 全国网购日(Harbolnas)活动期间呈现出明显变化。消费者在年终促销节点的购物重点正在发生转移,从单纯追求低价,逐步转向对本地产品和高质量商品的关注。Shopee 的数据显示,2025 年 12.12 活动期间,印尼消费者对本地产品的兴趣显著上升。平台观察到,用户通过多种活动和功能,更积极地寻找并支持本地中小微企业(UMKM)及本土品牌。该趋势不仅体现在购物热度上,也反映出 12.12 已从单一的促销活动,逐渐演变为消费者了解和选择本地产品的重要窗口。
《亚马逊生活日用品类攻略手册》PDF下载作为日常生活不可或缺的重要组成,生活百货品类覆盖范围广泛,包括家居用品、家具、车用配件、户外装备、园艺
工具、运动器材、家装用品、厨房、玩具以及宠物用品等众多领域。这类产品不仅是满足基本生活所需,更体现了人们对美好生活的向往和追求。
《掘金泰国-市场洞察与战略机遇报告2025》PDF下载随着全球经济一体化的加速,泰国作为东盟的核心枢纽,凭借其独特的地缘优势庞大的消费市场以及持续优化的营商环境,成为众多企业战略布局的重要目标。本报告深入剖析泰国市场的政策红利、消费趋势、产业机遇以及合规挑战,旨在为有志于开拓泰国市场的中国企业提供行动指南,助力企业在东盟这片充满活力的土地上把握机遇、应对挑战、!实现可持续发展。
《2025欧美假日购物季营销指南》PDF下载2025年美国假日购物季零售额预计同比仅增长1.2%,总销售额约1.359万亿美元,虽仍保持正增长,但为2009年以来最低增速,市场正在步入低增长的新常态。
《2025年跨境电商东南亚市场进入战略白皮书》PDF下载东南亚电商,正以惊人的速度复刻中国电商高速增长的黄金时代。2024年东南亚电商GMV达到1284亿美元,短短5年涨幅超过3倍。全球电商2024年GMV增幅最快的十大市场中,东南亚独占四席。东南亚是拥有约6.7亿人口的广阔市场,在现今全球关税的不确定性大格局下,因其电商基建完善,利好的贸易政策,和更高的年轻人口占比,成为跨境卖家生意拓张焦点之一。
《2025年TikTok Shop玩具品类行业报告(欧美站)》PDF下载分析TikTok Shop美国市场、英国市场、西班牙市场、墨西哥市场等主流市场点短视频及直播电商数据,选取TikTok与玩具爱好品类相关的内容进行分析报告。
《2025 洗护品类趋势与创新洞察》PDF下载本报告独特价值:将消费者的“行为结果”据),揭示消费者深层心理动机、并能精准预判未来增长机会
《亚马逊双轨增长指南》PDF下载亚马逊以“以客户为中心”为核心理念,通过整合B2B与B2C的全渠道服务,帮助卖家实现“一店双拓”-- 一次上架,同步触达个人消费者与企业买家,获得双重收益。同时,基于Direct to Buyer(直接触达买家)的模式,更能有效减少中间环节,提升利润空间与品牌掌控力。
《亚马逊全球线上商采趋势与区域洞察》PDF下载随着全球企业数字化转型的深入推进,B2B商采有望成为下一个万亿级别的蓝海市场然而,中国卖家在开拓海外企业商采市场时往往面临着一个关键挑战:难以准确把握海外企业买家的商采行为和决策模式。这种认知偏差不仅影响了产品开发方向,也制约了市场拓展策略的制定。

【美国近期下证外观专利侵权预警】今日品类:橱柜/Cabinet
小牛达人谈跨境防侵权
2025-09-11 09:30
1017










在这里需要提醒同样销售类似产品的卖家,定期排查商品特征,警惕侵权风险!注意规避侵权特征,及时下架侵权产品。
1







广东
12-26 周五











