Item 1 of 1
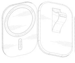
【美国近期下证外观专利侵权预警】今日品类:磁性手机支架/Magnetic phone holder(一)
2025-12-09 09:30
想系统掌握亚马逊广告的投放逻辑与底层闭环?










在这里需要提醒同样销售类似产品的卖家,定期排查商品特征,警惕侵权风险!注意规避侵权特征,及时下架侵权产品。
TikTok、Facebook、谷歌、Twitter广告服务,0门槛抢占全球流量!
极速开户+优化投流+风险保障+效果跟踪,仅需4步,轻松撬动亿万海外流量,让品牌销量翻倍增长!
已成功开通5000+账户

最新热门报告作者标签
突发!深圳大卖北美业务踩下 “急刹车”12月5日,深圳汇洁集团股份有限公司(以下简称“汇洁股份”)发布公告,宣布终止旗下跨境内衣品牌Understance的运营。这一决定,标志着一场为期四年的海外市场探索按下终止键,也折射出在复杂国际贸易环境下,中国品牌出海的现实挑战。AMZ123获悉,汇洁股份主营业务聚焦内衣的研发、设计、制造与品牌运营,核心产品涵盖文胸、内裤、背心、袜子等,旗下拥有曼妮芬、兰卓丽、伊维斯等多个国内知名内衣品牌,在国内内衣市场具备稳定的品牌基础与市场份额。为拓展海外市场,汇洁股份于2021年针对性推出中高端舒适内衣品牌Understance,专门布局北美市场。但2025年年底,受外部环境影响,这一拓展动作按下了“暂停键”。
重磅,亚马逊【价格历史】上线,打破价格信息差!近期,部分商品价格旁新增“Price History”(价格历史)功能,彻底打破价格信息差。消费者只需点击对应链接,页面左侧就会展开Rufus AI生成的价格曲线,过去30天、90天的价格波动、历史低价、过往折扣力度等信息一目了然,这意味着消费者再也不用“猜优惠”, 商品的价格变化轨迹会成为下单的重要参考之一。点击查看大图除此以外,不少消费者也会通过加购购物车后,对商品的价格变化进行前后对比。点击查看大图对卖家来说,每一次调价、每一场促销都将被 “公开记录”,这也让大家更需要重视价格形象管理,主动打造透明可信的价格认知 —— 毕竟,再花哨的促销话术,也抵不过一条真实的价格曲线有说服力。
印度电商Meesho成功上市,市值约90亿美元AMZ123获悉,近日,据外媒报道,印度电商平台Meesho于12月3日启动的6.04亿美元首次公开募股(IPO)在首日即实现足额认购。12月10日,Meesho在孟买证券交易所(BSE)和国家证券交易所(NSE)正式上市,首日股价表现强劲。根据交易所数据显示,截至印度标准时间12月3日下午3点32分,Meesho共获得4.2913亿股的认购需求,远高于2.7794亿股的发行规模,其中散户投资者认购1.7364亿股,为其预留配额的三倍以上。Meesho此次寻求的公司估值最高可达56亿美元。
90 后亚马逊运营现状:有人单干创业财富自由?有人35岁摸鱼躺平?大家的35岁是怎么样的呢匿名用户我的C位35岁左右,大概就是90前后这一波人,应该属于第一批接触亚马逊平台的最年轻的老人了。亚马逊全球开店进入中国大概是2012年,2012年毕业的大学生基本都是90后,在毕业的时间正好可以接触到亚马逊,基本属于第一批接触亚马逊的最年轻的人了。同时期布局亚马逊的老板,大多数是80后,90后在这个时期给80后打工。只是2012年到2015年期间,亚马逊普及率并不是那么高,从2016年开始,才被越来越多的人熟知,也有越来越多的95后开始接触亚马逊了。所以目前从事亚马逊的主力军应该是95后,95后也来到了30岁的十字路口。
25-cv-14879,GBC强势代理!Alo品牌发起TRO维权风暴,跨境卖家速自查避险本案是GBC律所继代理Lululemon维权后,全新代理的瑜伽品牌:Alo, 共涉及其在美国注册的03、05、09、18、25、35、41以及43等类目的ALO、AIRBRUSH 以及AIRLIFT等15个文字商标,涵盖精油、膳食补充剂、应用软件、运动配件以及服饰、慈善类活动、咖啡馆等多个领域。未经授权使用其商标进行商业行为,则会面临TRO冻结风险,麦家支持提醒广大卖家尽快展开排查,下架高危产品。
亚马逊近期回顾:欧洲低价时尚费用下调、Cyber Five余波与“销量波动问题”亚马逊卖家本周回顾:欧洲低价时尚费用下调、Cyber Five 余波与“销量波动问题”每年11月末到12月初,都是亚马逊卖家信息密度最高的时间段。旺季流量能快速暴露哪些策略有效、哪些环节脆弱,以及平台在悄悄发生什么变化。今年的 Cyber Five 结束后,卖家讨论热度依旧很高。与此同时,亚马逊在欧洲推出的一个重大政策也正在引发关注,这很可能会改变 2026 年低价时尚品类的竞争逻辑。下面我们来拆解本周最重要的动向,以及它们对卖家的现实意义。1. 亚马逊下调欧洲低价时尚卖家费用亚马逊宣布了近年来欧洲力度较大的卖家费用下调,目标非常明确:直指最受超低价平台冲击的品类。
亚马逊流量大洗牌!Rufus成交率暴涨100%一年一度的黑五网一大促已收官,今年,美国“黑五”线上销售额冲上118亿美元的历史新高,“网一”也达到了142.5亿美元。但对卖家而言,今年旺季的战果却是几家欢喜几家愁。“为什么我的销量比去年差了一倍不止,促销越卖越差了?”类似这样的疑惑比比皆是。看着竞品爆单大卖,不少卖家陷入沉思:亚马逊的玩法变了吗?你别说,还真的变了。据观察,与往年最大的不同,亚马逊其AI购物助手Rufus成了今年黑五网一的主角,根据SensorTower的数据显示,黑五期间,Rufus单日成交增幅高达75%,远超传统搜索模式35%的增幅。这其中的数据差距,清晰地指向一个事实:亚马逊平台的流量正在被AI重塑。
亚马逊加码印度市场,计划2030年前投资超350亿美元AMZ123获悉,近日,亚马逊宣布,将在2030年前在印度全业务范围内投资超过350亿美元。亚马逊表示,这笔投资将用于推动人工智能应用、扩大物流和数字基础设施、支持中小企业发展,并进一步创造就业岗位。亚马逊称,这一计划与印度的国家发展目标保持一致,未来将重点投入人工智能驱动的数字化、出口增长和就业创造三大领域。亚马逊表示,过去15年参与印度数字化发展,使亚马逊在印度的业务增长与印度推行的自力更生和发展愿景保持一致。此前,亚马逊已在印度推动数字和实体基础设施建设,帮助中小企业扩大规模,带动了数百万就业机会,并推动“印度制造”出口。
突发!亚马逊共享评论一夜清零,差评被置顶!这两天,亚马逊卖家圈子里又炸锅了。不少运营早上一打开后台,直接吓出一身冷汗:原本好好的爆款链接,评论数突然遭遇“腰斩”,甚至有的直接“一夜归零”。如果说4月份那一波是“常规扫除”,那这次12月的突袭,简直就是“定点爆破”。有位卖家朋友跟我诉苦,一条积累了两年的链接,好不容易攒了4000多条Review,一觉醒来只剩下不到800条。更有甚者,辛辛苦苦推起来的类目首页产品,评论直接被撸光,转化率当场崩盘。这次亚马逊到底在搞什么鬼?为什么这波整治来得这么猛?结合最新的消息和后台数据,我们发现这次并不是简单的“删评”,而是亚马逊正在进行一场针对“变体共享机制”的底层实验。
外贸跑出24.46万亿!亚马逊在深圳布局源头仓如果用一个字概括2025年的跨境电商,那大概就是“税”。从年初的关税博弈,到年中陆续升级的海内外税务合规要求,跨境行业几乎一路在“税”的阴影下前行。卖家们普遍感到—— 成本在涨、门槛在升、增长的空间却在被压缩。然而在这种“税字当头”的行业情绪中,最新公布的外贸数据却提供了完全不同的视角。AMZ123获悉,据海关统计,2025年前11个月中国出口继续保持增长态势。期间,我国货物贸易进出口总值达到41.21万亿元人民币,同比增长3.6%。其中,出口24.46万亿元,增长6.2%;进口16.75万亿元,微增0.2%。
海外溢价53倍!“自加热”妥妥的宠物赛道流量密码进入冬天,降温之后,保暖就是头等大事。晚上为了省钱而关掉暖气时,人类还有很多保暖方法,比如热水袋和电热毯。但宠物没有。这一痛点催生了庞大的宠物保暖装备市场,也让许多养宠人一到冬天就开始选购各种宠物保暖用品。从近期社媒热投的广告来看,一款自发热垫的推广特别多,在投独立站包括Cosyfur、Pawppen等;产品外观也基本一致,宽条、毛绒+厚垫子。图源:Pawppen从产品详情页来看,自发热垫的原理是使用隔热材料(聚酯薄膜)锁住宠物自身热量。严格来说它只能算作“保温”,没有“发热”功能。其它卖点还包括外层可拆卸机洗、面料耐抓挠、底部防滑。图源:Pawppen垫子颜色有灰、白和棕3种可选。
2026年的账单来了:有人省钱,有人失眠晚上11点,我还在电脑前核对上个月的利润表。FBA费用、佣金、仓储费、退货损耗……每一项都蚕食着本就微薄的利润。刚想关电脑,群里突然炸出一连串消息:“2026年亚马逊费用大调整!”我心头一紧——亚马逊又要涨费了?点开官方公告,一行行仔细读完,这次不一样。 01 欧洲站的“意外礼物”这次,欧洲站竟送来了一份罕见的“降费大礼包”。调整分两步走:今年12月15日一批,明年2月1日一批。核心就一句话——卖得便宜,成本更低。服装配饰、家居用品、宠物服装食品、维生素补充剂……这些类目里的低价商品,佣金率从15%直降到5%、8%,物流配送费也整体下调。我粗略算了一下:一件定价18欧的家居用品,月销1000单。
小卖家亚马逊蓝海突围:五大选品策略精准切入,告别盲目跟卖!在亚马逊这片竞争日益激烈的电商红海中,大型卖家凭借资本与规模优势牢牢占据高地。对于资源有限的小卖家而言,与其正面硬刚,不如智取——精准的选品,才是以小博大的核心武器。成功的选品,绝非盲目追逐爆款,而在于抢先洞察市场缝隙,捕捉未被充分满足的细分需求。今天,我们深入剖析五种经过实战检验、尤其适合小卖家的选品方法论,助您避开血海竞争,找到属于自己的蓝海航道。一、 低竞价词选品法:发现竞争弱势的“安静金矿”核心思路:通过亚马逊广告竞价(PPC)较低的关键词,反向推导出竞争温和的细分市场。通常,出价越低,竞争越弱,市场机会越“蓝海”。
Temu大规模宕机,影响大批卖家!此前 AMZ123 在文中提到,亚马逊宕机曾一度让“半个互联网陷入不可用状态”。而今,Temu 似乎也在上演类似一幕——据故障监测平台 Downdetector.com 统计,Temu疑似在 2025 年 12 月 9 日(星期二)出现大范围故障,截至目前,已有超过18000 名用户在该网站上报告访问异常。而在一线卖家端,这场故障被具象成一连串抱怨。不少卖家在社交媒体和卖家群里吐槽:“今天一切换到美区就报错。”“美区后台根本进不去,拣货单出不来,客户那边也下不了单。”“提现现在也卡住了。”还有人自嘲,“刚上班就可以下班了。”也有卖家表示,“不只是美区,其他站点现在也陆续打不开了,估计平台在后台紧急处理。
2025美国站推新“压力山大”!客单价100美金的新品,广告该如何布局?匿名用户我的C位美国站即将上架的新品,客单价在100左右,压力山大原先的广告计划如下,请大佬分享经验:1. 自动广告(固定竞价):紧密匹配:设置高竞价,获得更精准的流量。宽泛匹配:采用低竞价,扩大曝光范围。2. 手动精准广告(固定竞价):核心关键词单独分组,每个词都进行卡位,采用高竞价+bid,占据广告位。其他关键词放在一个组,统一采用高竞价。3. 手动广泛广告(固定竞价):将所有关键词放在一个组中,竞价接近系统推荐的竞价,扩大曝光。诚挚地邀请各位大佬指点。
英国网一订单量超过黑五,宠物等品类大幅增长AMZ123获悉,近日,根据交付管理平台Scurri的电商交易数据,在黑五/网一(11月28日至12月1日)期间,英国线上订单量同比增长15%,但消费者更倾向于在网一(Cyber Monday)下单,导致该日订单量较黑色星期五高出约70%。黑五/网一期间,每日订单均超过2024年同期水平,其中周六(11月29日)与周日(11月30日)同比分别增长19%,黑色星期五当日增长16%,网一增长11%。研究进一步指出,两个交易高峰的转化高峰均出现在下午5点左右。Visualsoft的分析显示,黑五周末平均订单价值(AOV)上升5.8%至121.63英镑,消费者更倾向于通过合并购物以达到免运费门槛。
《亚马逊生活日用品类攻略手册》PDF下载作为日常生活不可或缺的重要组成,生活百货品类覆盖范围广泛,包括家居用品、家具、车用配件、户外装备、园艺
工具、运动器材、家装用品、厨房、玩具以及宠物用品等众多领域。这类产品不仅是满足基本生活所需,更体现了人们对美好生活的向往和追求。
《掘金泰国-市场洞察与战略机遇报告2025》PDF下载随着全球经济一体化的加速,泰国作为东盟的核心枢纽,凭借其独特的地缘优势庞大的消费市场以及持续优化的营商环境,成为众多企业战略布局的重要目标。本报告深入剖析泰国市场的政策红利、消费趋势、产业机遇以及合规挑战,旨在为有志于开拓泰国市场的中国企业提供行动指南,助力企业在东盟这片充满活力的土地上把握机遇、应对挑战、!实现可持续发展。
《2025欧美假日购物季营销指南》PDF下载2025年美国假日购物季零售额预计同比仅增长1.2%,总销售额约1.359万亿美元,虽仍保持正增长,但为2009年以来最低增速,市场正在步入低增长的新常态。
《2025年跨境电商东南亚市场进入战略白皮书》PDF下载东南亚电商,正以惊人的速度复刻中国电商高速增长的黄金时代。2024年东南亚电商GMV达到1284亿美元,短短5年涨幅超过3倍。全球电商2024年GMV增幅最快的十大市场中,东南亚独占四席。东南亚是拥有约6.7亿人口的广阔市场,在现今全球关税的不确定性大格局下,因其电商基建完善,利好的贸易政策,和更高的年轻人口占比,成为跨境卖家生意拓张焦点之一。
《2025年TikTok Shop玩具品类行业报告(欧美站)》PDF下载分析TikTok Shop美国市场、英国市场、西班牙市场、墨西哥市场等主流市场点短视频及直播电商数据,选取TikTok与玩具爱好品类相关的内容进行分析报告。
《2025 洗护品类趋势与创新洞察》PDF下载本报告独特价值:将消费者的“行为结果”据),揭示消费者深层心理动机、并能精准预判未来增长机会
《亚马逊双轨增长指南》PDF下载亚马逊以“以客户为中心”为核心理念,通过整合B2B与B2C的全渠道服务,帮助卖家实现“一店双拓”-- 一次上架,同步触达个人消费者与企业买家,获得双重收益。同时,基于Direct to Buyer(直接触达买家)的模式,更能有效减少中间环节,提升利润空间与品牌掌控力。
《亚马逊全球线上商采趋势与区域洞察》PDF下载随着全球企业数字化转型的深入推进,B2B商采有望成为下一个万亿级别的蓝海市场然而,中国卖家在开拓海外企业商采市场时往往面临着一个关键挑战:难以准确把握海外企业买家的商采行为和决策模式。这种认知偏差不仅影响了产品开发方向,也制约了市场拓展策略的制定。

【美国近期下证外观专利侵权预警】今日品类:磁性手机支架/Magnetic phone holder(一)
小牛达人谈跨境防侵权
2025-12-09 09:30
1194










在这里需要提醒同样销售类似产品的卖家,定期排查商品特征,警惕侵权风险!注意规避侵权特征,及时下架侵权产品。
1







福建
12-12 周五











