亚马逊要在城市插根大柱子,送…快…递…
导言
在京东的618年中购物节中,除了成交额以外,智能物流也是大放异彩。国外的电商巨头亚马逊则是早早布局无人机送货。而最近,亚马逊又爆出个黑科技。
作者 | 丁少
来源 | 丁少黑科技(ID:pdview)
今天又曝出个新闻,说亚马逊申请了个新专利——
无人机配送塔

这个是概念图啊,看个感觉。
一根高高大大的棒子,笔直地耸立在城市之中(密恐犯了),不断有无人机从上面飞出来。
放张专利图给你们看看。

咦?怎么有点像……

额……毕竟是专利图,画得肯定会随意一点啦。
你要是不满意,他们还准备了好多款呢。
比如“子弹头”款;

“平房”款;

以及这个“不知道叫什么”款。

虽然造型不同,但是功能大同小异。
它们是为了取代传统配送点而生的。
如今的配送点,是这样的↓↓

遇到双十一、618,爆个仓就变成这样↓↓

造成这种情况怪货流量太大是没错,但效率低下的人力分拣也绝对是甩不了锅的。
来来来,像亚马逊那样,建个塔,就完事啦~
底层允许卡车和人进出,高层停满了无人机,塔内运用智能无人分拣系统。

货运进来→机器没日没夜地智能分拣→无人机送出去。

这效率……爆仓?不存在的。
这不是亚马逊第一次搞如此脑洞大开的专利了。
之前不是曝出了一个“空中仓库”的专利吗?

对,你没看错,真的上天了!
利用飞艇,把物流仓库建在1.3万米的高空中。

有了这个飞艇,仓库就能按需飞到指定的地方去了。
比如某地在开一场演唱会,或者一场大型体育赛事。
仓库就飞到这个体育场上方,即时配送演唱会和赛事的周边纪念品啊、食品啊什么的。(真尼玛会赚钱)

别急,花样还有呢。
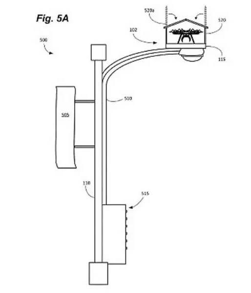
为了让买家收货更方便,亚马逊还有专利——
跟路灯结合在一起的无人机投递台。

这种路灯,哦不,投递台安装在每家每户的门口。
收快递不需要你在家,它直接投进投递台就完事。

顺便还能充个电。

炫吧,但首先,你得有独门独栋的房子……
总之呢,亚马逊为了建立一套完整的智能物流体系,实在是费了心思啊。
顺丰和京东你们知道该怎么做了吧……

导言
在京东的618年中购物节中,除了成交额以外,智能物流也是大放异彩。国外的电商巨头亚马逊则是早早布局无人机送货。而最近,亚马逊又爆出个黑科技。
作者 | 丁少
来源 | 丁少黑科技(ID:pdview)
今天又曝出个新闻,说亚马逊申请了个新专利——
无人机配送塔

这个是概念图啊,看个感觉。
一根高高大大的棒子,笔直地耸立在城市之中(密恐犯了),不断有无人机从上面飞出来。
放张专利图给你们看看。

咦?怎么有点像……

额……毕竟是专利图,画得肯定会随意一点啦。
你要是不满意,他们还准备了好多款呢。
比如“子弹头”款;

“平房”款;

以及这个“不知道叫什么”款。

虽然造型不同,但是功能大同小异。
它们是为了取代传统配送点而生的。
如今的配送点,是这样的↓↓

遇到双十一、618,爆个仓就变成这样↓↓

造成这种情况怪货流量太大是没错,但效率低下的人力分拣也绝对是甩不了锅的。
来来来,像亚马逊那样,建个塔,就完事啦~
底层允许卡车和人进出,高层停满了无人机,塔内运用智能无人分拣系统。

货运进来→机器没日没夜地智能分拣→无人机送出去。

这效率……爆仓?不存在的。
这不是亚马逊第一次搞如此脑洞大开的专利了。
之前不是曝出了一个“空中仓库”的专利吗?

对,你没看错,真的上天了!
利用飞艇,把物流仓库建在1.3万米的高空中。

有了这个飞艇,仓库就能按需飞到指定的地方去了。
比如某地在开一场演唱会,或者一场大型体育赛事。
仓库就飞到这个体育场上方,即时配送演唱会和赛事的周边纪念品啊、食品啊什么的。(真尼玛会赚钱)

别急,花样还有呢。
为了让买家收货更方便,亚马逊还有专利——
跟路灯结合在一起的无人机投递台。

这种路灯,哦不,投递台安装在每家每户的门口。
收快递不需要你在家,它直接投进投递台就完事。

顺便还能充个电。

炫吧,但首先,你得有独门独栋的房子……
总之呢,亚马逊为了建立一套完整的智能物流体系,实在是费了心思啊。
顺丰和京东你们知道该怎么做了吧……




福建
12-12 周五











