亚马逊上最容易成为被告的5种产品类目
AI设计/3D打印/欧洲市场实战拆解,点击报名
01
定制化商品

定制类的产品在亚马逊上也很火,但也有一定的侵权风险
在美国,就有人在定制类产品上栽跟头
事情是这样的:Printify 的平台用户自主上传了KAWS商标/版权的设计素材,并通过Printify 将素材定制出来,随后再进行二次销售。 KAWS认为Printify 通过服务间接参与侵权,直接将其告上法庭

虽然,法官最后认为Printify不符合直接侵权
不设计侵权产品、不提供侵权素材;
不直接打印商品(打印过程由第三方完成);
不控制销售渠道;
无 “品牌关联”(仅收固定费用,不参与利润分成)
但也给定制类的卖家敲响警钟:客户自带的素材是否含有明显的品牌标识、设计元素以及图片来源
如果有,商家也要尽到提醒的义务,避免后续吃侵权官司的风险
02
歌手周边

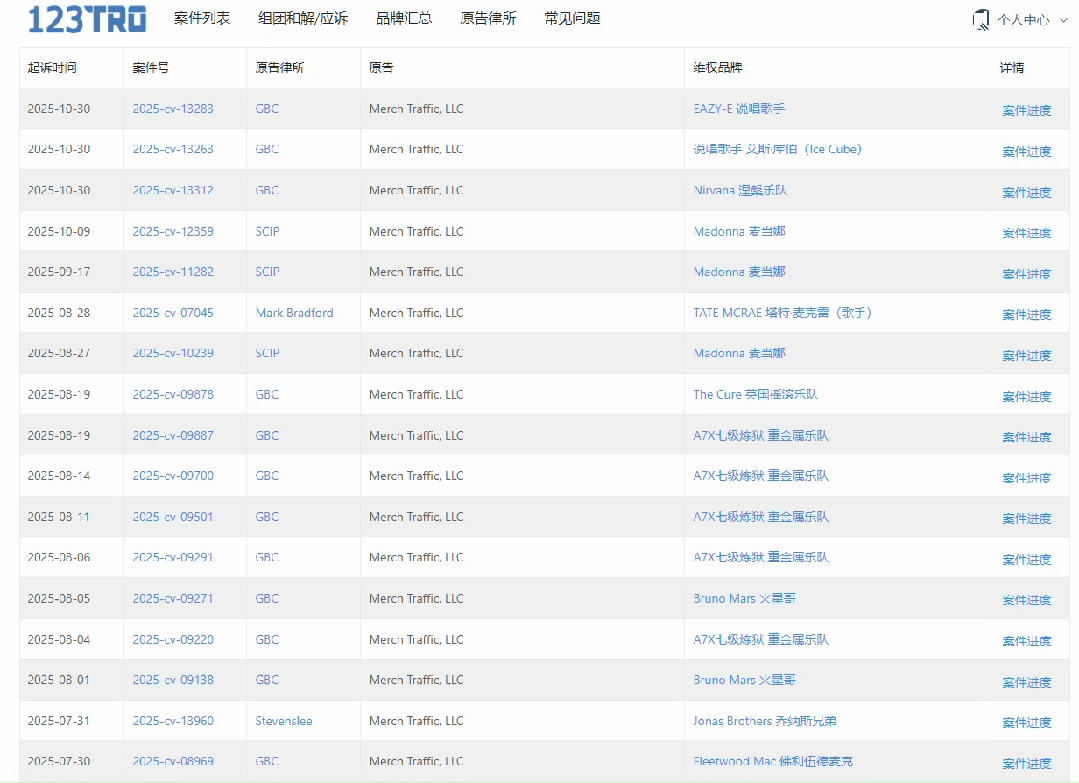
对美国歌手有了解的朋友都知道,他们在知产保护这块可是下足了功夫
有的歌手会委托Merch Traffic, LLC、Ceremony of Roses Acquisition LLC等公司管理他们的IP

而这些公司发案数量也不少

总而言之,只要你没有拿到授权,哪怕是粉丝为爱发电,自制周边放到网上卖,也会被视作侵权
03
汽配零件

近几年不少汽车品牌都加入到商标维权赛道

有卖家会在listing里面写上for XXX,但实际上还是容易被品牌方盯上

如果你是做汽配的卖家,最好提前查询其汽车品牌的商标注册情况,在listing或者详情页里考虑用通用词(比如SUV、Sedan、Coupe等)代替
04
服饰皮包

撇开大牌不说,大家要更留心美国当地的小众服饰品牌
除了文字商标,图形、花纹也是他们最喜欢注册的商标类型


其次就要数服饰花纹
历年来有不少面料商、小众服饰品牌和插画家注册自己设计的服饰纹饰和模特照

点击图片回顾推文
鉴于版权图不可查的情况,中招的卖家往往不清楚自己使用的版权是不是合法合规
大家在做服装的时候,要保留和面料商、品牌之间的授权证据,保留好自己的设计稿,不要过度借鉴网上的图案
05
家装挂画/拼图

这类产品简直是版权重灾区
现在不管是谷歌还是亚马逊,识图功能是越来越精准

只要上传图片,大概率会找到作者,也很容易找到同款的产品
如果你想安全销售,可以找到作者联系授权,或者购买第三方网站的会员,并在其协议范围内使用


图源shutterstock
以上就是亚马逊比较容易侵权的类目


01
定制化商品

定制类的产品在亚马逊上也很火,但也有一定的侵权风险
在美国,就有人在定制类产品上栽跟头
事情是这样的:Printify 的平台用户自主上传了KAWS商标/版权的设计素材,并通过Printify 将素材定制出来,随后再进行二次销售。 KAWS认为Printify 通过服务间接参与侵权,直接将其告上法庭

虽然,法官最后认为Printify不符合直接侵权
不设计侵权产品、不提供侵权素材;
不直接打印商品(打印过程由第三方完成);
不控制销售渠道;
无 “品牌关联”(仅收固定费用,不参与利润分成)
但也给定制类的卖家敲响警钟:客户自带的素材是否含有明显的品牌标识、设计元素以及图片来源
如果有,商家也要尽到提醒的义务,避免后续吃侵权官司的风险
02
歌手周边

对美国歌手有了解的朋友都知道,他们在知产保护这块可是下足了功夫
有的歌手会委托Merch Traffic, LLC、Ceremony of Roses Acquisition LLC等公司管理他们的IP

而这些公司发案数量也不少

总而言之,只要你没有拿到授权,哪怕是粉丝为爱发电,自制周边放到网上卖,也会被视作侵权
03
汽配零件

近几年不少汽车品牌都加入到商标维权赛道

有卖家会在listing里面写上for XXX,但实际上还是容易被品牌方盯上

如果你是做汽配的卖家,最好提前查询其汽车品牌的商标注册情况,在listing或者详情页里考虑用通用词(比如SUV、Sedan、Coupe等)代替
04
服饰皮包

撇开大牌不说,大家要更留心美国当地的小众服饰品牌
除了文字商标,图形、花纹也是他们最喜欢注册的商标类型


其次就要数服饰花纹
历年来有不少面料商、小众服饰品牌和插画家注册自己设计的服饰纹饰和模特照

点击图片回顾推文
鉴于版权图不可查的情况,中招的卖家往往不清楚自己使用的版权是不是合法合规
大家在做服装的时候,要保留和面料商、品牌之间的授权证据,保留好自己的设计稿,不要过度借鉴网上的图案
05
家装挂画/拼图

这类产品简直是版权重灾区
现在不管是谷歌还是亚马逊,识图功能是越来越精准

只要上传图片,大概率会找到作者,也很容易找到同款的产品
如果你想安全销售,可以找到作者联系授权,或者购买第三方网站的会员,并在其协议范围内使用


图源shutterstock
以上就是亚马逊比较容易侵权的类目







其他
04-09 周四











