亚马逊大规模误判!大批卖家链接遭下架
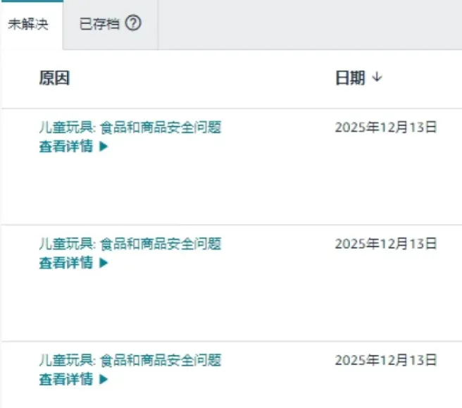
近期,大量亚马逊卖家反映收到平台发出的“儿童产品安全不合规”绩效通知,令人困惑的是,这些卖家所售商品明确不属于儿童用品范畴——如厨房用具、办公文具、成人服饰等,却仍被系统自动判定为“儿童产品”,面临Listing下架、账户审核甚至停用的风险。
眼下正值销售旺季,处理不当将直接影响单量和利润,这一现象在跨境圈内引发广泛关注与焦虑。
非儿童产品为何被“误判”?
一位卖家表示:“我一个卖普货的天天被判为儿童玩具我也是醉了,前几个月是加拿大的很多链接都被判为儿童玩具,申诉之后,现在又轮到美国,我这是普通产品不是儿童用品根本就没有kids、baby等词汇啊。”

遇到非儿童类产品被标 “儿童玩具”,并被要求提交合规文件否则就下架的卖家不止一个:
“一样,今天刚被误扫了几条链接,没什么销量的,直接下架删除了,不知道那个合规性的提醒会不会消失。”
“我也是,一个纸质装饰,说我是儿童玩具。”
“我也是,3d贴纸要求儿童....”
“我400多个普货给我判定为儿童玩具,真的吐了。”
据卖家们反馈,大量卖家的产品已经被下架,触发该类绩效通知的原因往往并非实际违规,而是亚马逊算法或关键词识别机制出现了偏差。例如:
一是标题或描述中包含“Kids、Baby、Child、Boy、Girl、School””等词汇,即使产品本身面向成人,也可能被系统误认为适用于12岁以下儿童;
二是产品图片使用了明亮色彩、动物图案或迷你尺寸设计,容易被AI图像识别模型归类为儿童用品;
三是类目属性错填,不小心归入儿童品类,或误选“适用12岁以下”;
四是某些品类天然存在模糊边界,如小号水杯、钥匙扣、毛绒挂件等,虽主要消费群体为成人,但若未明确标注适用年龄,极易被系统“一刀切”。
一旦被判定为儿童产品,亚马逊会强制要求提供CPC证书、第三方实验室测试报告等文件。若无法及时提交,系统将直接下架商品,并计入账户绩效违规。因此,针对被误判的卖家,必须及时进行申诉。
卖家:申诉困难
但不少卖家也反馈,这一波扫号,申诉复杂。
如果是Listing中包含敏感词,如child, children, kid, toy,for children, for kids,children‘s room等,直接通过后台“编辑商品信息”或上传库存文件模板的方式删除或替换这些词汇,提交申诉就很容易过。
一位卖家表示:“可以查看listing有没有关于baby kids等词汇 ,我之前加拿大有个链接就有kids这个词被判了,申诉没过找了客服,客服说链接里有关于儿童的词汇申诉不通过,删掉之后又重新提交申诉就过了。”
但更多卖家是彻底排查标题、五点描述、A+页面、后台搜索关键词都不存在敏感词汇,申诉就比较困难。有卖家称:“晚上找资料修改产品描述,标题,图片删除相关字样,然后提交申诉,被拒绝了,又提交了一次,又被拒绝了,现在不敢动了。”
有第三方检测机构认为,结合近期亚马逊产品被误判为儿童玩具的成功申诉案例,建议卖家可按以下流程高效解决,核心是整改商品信息+提交精准申诉:
1、紧急整改商品信息:先排查并删除标题、详情页等内容里kids、child、toy等敏感词,还得清理girls、cute这类易引发误判的词汇;
再明确标注“本产品不适用于12岁及以下儿童”,主图换成成人使用场景图,避开卡通配色等儿童元素,同时调整类目,远离Toys & Games,选成人爱好、办公用品等对应类目。
2、准备佐证材料:整理产品六面图、包装图和说明书,确保无儿童相关设计;导出成人购买占比高的订单截图,若有产品检测报告也一并备好,若说明书有标注适用年龄需加盖公章,强化非儿童产品属性。
3、提交结构化申诉:通过卖家中心“账户状况”页面或发邮件申诉,邮件标题注明“ASIN XXX 非玩具误判申诉”。正文说明产品实际用途和目标客群,阐述已完成的整改操作,附上修改后的商品信息截图、佐证材料等;也可参考平台提供的申诉模板撰写内容,确保逻辑清晰。
4、跟进申诉进度:提交后3 - 5个工作日留意回复,若申诉被驳回,可补充非玩具类相关认证再次提交;多次失败则联系账户健康团队,邮件抄送合规部门,说明情况并请求重新审核。
面对“儿童产品误判”,唯有主动优化、积极应对,才能在保障账户安全的同时,守护来之不易的业务成果。


近期,大量亚马逊卖家反映收到平台发出的“儿童产品安全不合规”绩效通知,令人困惑的是,这些卖家所售商品明确不属于儿童用品范畴——如厨房用具、办公文具、成人服饰等,却仍被系统自动判定为“儿童产品”,面临Listing下架、账户审核甚至停用的风险。
眼下正值销售旺季,处理不当将直接影响单量和利润,这一现象在跨境圈内引发广泛关注与焦虑。
非儿童产品为何被“误判”?
一位卖家表示:“我一个卖普货的天天被判为儿童玩具我也是醉了,前几个月是加拿大的很多链接都被判为儿童玩具,申诉之后,现在又轮到美国,我这是普通产品不是儿童用品根本就没有kids、baby等词汇啊。”

遇到非儿童类产品被标 “儿童玩具”,并被要求提交合规文件否则就下架的卖家不止一个:
“一样,今天刚被误扫了几条链接,没什么销量的,直接下架删除了,不知道那个合规性的提醒会不会消失。”
“我也是,一个纸质装饰,说我是儿童玩具。”
“我也是,3d贴纸要求儿童....”
“我400多个普货给我判定为儿童玩具,真的吐了。”
据卖家们反馈,大量卖家的产品已经被下架,触发该类绩效通知的原因往往并非实际违规,而是亚马逊算法或关键词识别机制出现了偏差。例如:
一是标题或描述中包含“Kids、Baby、Child、Boy、Girl、School””等词汇,即使产品本身面向成人,也可能被系统误认为适用于12岁以下儿童;
二是产品图片使用了明亮色彩、动物图案或迷你尺寸设计,容易被AI图像识别模型归类为儿童用品;
三是类目属性错填,不小心归入儿童品类,或误选“适用12岁以下”;
四是某些品类天然存在模糊边界,如小号水杯、钥匙扣、毛绒挂件等,虽主要消费群体为成人,但若未明确标注适用年龄,极易被系统“一刀切”。
一旦被判定为儿童产品,亚马逊会强制要求提供CPC证书、第三方实验室测试报告等文件。若无法及时提交,系统将直接下架商品,并计入账户绩效违规。因此,针对被误判的卖家,必须及时进行申诉。
卖家:申诉困难
但不少卖家也反馈,这一波扫号,申诉复杂。
如果是Listing中包含敏感词,如child, children, kid, toy,for children, for kids,children‘s room等,直接通过后台“编辑商品信息”或上传库存文件模板的方式删除或替换这些词汇,提交申诉就很容易过。
一位卖家表示:“可以查看listing有没有关于baby kids等词汇 ,我之前加拿大有个链接就有kids这个词被判了,申诉没过找了客服,客服说链接里有关于儿童的词汇申诉不通过,删掉之后又重新提交申诉就过了。”
但更多卖家是彻底排查标题、五点描述、A+页面、后台搜索关键词都不存在敏感词汇,申诉就比较困难。有卖家称:“晚上找资料修改产品描述,标题,图片删除相关字样,然后提交申诉,被拒绝了,又提交了一次,又被拒绝了,现在不敢动了。”
有第三方检测机构认为,结合近期亚马逊产品被误判为儿童玩具的成功申诉案例,建议卖家可按以下流程高效解决,核心是整改商品信息+提交精准申诉:
1、紧急整改商品信息:先排查并删除标题、详情页等内容里kids、child、toy等敏感词,还得清理girls、cute这类易引发误判的词汇;
再明确标注“本产品不适用于12岁及以下儿童”,主图换成成人使用场景图,避开卡通配色等儿童元素,同时调整类目,远离Toys & Games,选成人爱好、办公用品等对应类目。
2、准备佐证材料:整理产品六面图、包装图和说明书,确保无儿童相关设计;导出成人购买占比高的订单截图,若有产品检测报告也一并备好,若说明书有标注适用年龄需加盖公章,强化非儿童产品属性。
3、提交结构化申诉:通过卖家中心“账户状况”页面或发邮件申诉,邮件标题注明“ASIN XXX 非玩具误判申诉”。正文说明产品实际用途和目标客群,阐述已完成的整改操作,附上修改后的商品信息截图、佐证材料等;也可参考平台提供的申诉模板撰写内容,确保逻辑清晰。
4、跟进申诉进度:提交后3 - 5个工作日留意回复,若申诉被驳回,可补充非玩具类相关认证再次提交;多次失败则联系账户健康团队,邮件抄送合规部门,说明情况并请求重新审核。
面对“儿童产品误判”,唯有主动优化、积极应对,才能在保障账户安全的同时,守护来之不易的业务成果。






广东
12-18 周四











