专利权人多平台发起诉讼!# 宠物追逐玩具 同类卖家别踩坑,防护指南来了
,OpenClaw助力亚马逊广告运营提效,点击报名>>>
一美国企业发现一家外国实体通过亚马逊等多个平台销售的产品发现了一批与自己专利设计如出一辙的宠物追逐玩具,证据确凿后,该产品的专利权人果断向侵权方发起专利侵权诉讼。这并非简单的纠纷,而是一次精准的主动出击。



4. 关键特征:
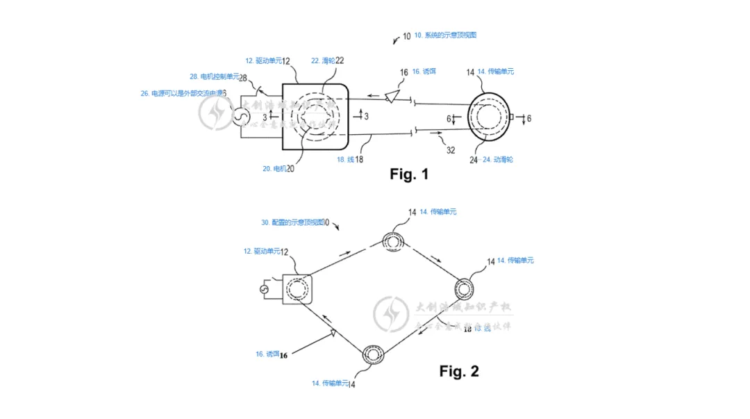
壳体部分包覆滑轮,起到保护和导引作用。
环形凹槽与物体通过口相互连通,形成连续通路。
滑轮壳体边缘设计为向内倾斜的护边,有助于绳索在运行中始终保持在凹槽内,避免脱轨。


为玩具提供了一个更平滑、封闭且受引导的专属通道。它能有效减少玩具在通过时的卡滞或摆动,确保其绕滑轮运动更加顺畅、稳定。

增加了“滑轮与可控电机可操作地连接” 这一关键特征。 滑轮通过滑轮与壳体结构之间的可转动连接件安装在壳体结构上,该滑轮设有旋转轴线。

1. 滑轮与安装:必须有一个通过可转动方式安装在壳体上的滑轮。
2. 环形凹槽:滑轮外圆周必须有用于容纳绳索的环形凹槽。
3. 物体通过口:壳体上必须有邻近滑轮的开口,供绳索上的物体穿过。
4. 壳体包围:壳体至少部分包围滑轮。
5. 槽口相通:环形凹槽与该物体通过口是连通的。
6. 向内倾斜的护边:滑轮壳体具有向内倾斜的滑轮护边。
7. 可开合壳体:壳体必须由通过铰链连接的底座和盖组成,可实现不影响滑轮的开合。
权利要求1是基础专利,保护范围最宽。只要产品有“带内倾护边的封闭滑轮系统”,就可能侵权。
权利要求6、11、15是从属或进阶方案,保护范围更具体但更窄。侵权它们的前提是必须先侵权权利要求1。
例如,一个产品如果没有“向内倾斜的滑轮护边”,那么它不会侵犯所有四项权利要求中的任何一项。


一美国企业发现一家外国实体通过亚马逊等多个平台销售的产品发现了一批与自己专利设计如出一辙的宠物追逐玩具,证据确凿后,该产品的专利权人果断向侵权方发起专利侵权诉讼。这并非简单的纠纷,而是一次精准的主动出击。



4. 关键特征:
壳体部分包覆滑轮,起到保护和导引作用。
环形凹槽与物体通过口相互连通,形成连续通路。
滑轮壳体边缘设计为向内倾斜的护边,有助于绳索在运行中始终保持在凹槽内,避免脱轨。


为玩具提供了一个更平滑、封闭且受引导的专属通道。它能有效减少玩具在通过时的卡滞或摆动,确保其绕滑轮运动更加顺畅、稳定。

增加了“滑轮与可控电机可操作地连接” 这一关键特征。 滑轮通过滑轮与壳体结构之间的可转动连接件安装在壳体结构上,该滑轮设有旋转轴线。

1. 滑轮与安装:必须有一个通过可转动方式安装在壳体上的滑轮。
2. 环形凹槽:滑轮外圆周必须有用于容纳绳索的环形凹槽。
3. 物体通过口:壳体上必须有邻近滑轮的开口,供绳索上的物体穿过。
4. 壳体包围:壳体至少部分包围滑轮。
5. 槽口相通:环形凹槽与该物体通过口是连通的。
6. 向内倾斜的护边:滑轮壳体具有向内倾斜的滑轮护边。
7. 可开合壳体:壳体必须由通过铰链连接的底座和盖组成,可实现不影响滑轮的开合。
权利要求1是基础专利,保护范围最宽。只要产品有“带内倾护边的封闭滑轮系统”,就可能侵权。
权利要求6、11、15是从属或进阶方案,保护范围更具体但更窄。侵权它们的前提是必须先侵权权利要求1。
例如,一个产品如果没有“向内倾斜的滑轮护边”,那么它不会侵犯所有四项权利要求中的任何一项。







其他
04-09 周四











