亚马逊广告案例:大词竞价高、长尾词又没量?怎样判断产品现阶段适不适合打大词?
,OpenClaw助力亚马逊广告运营提效,点击报名>>>
大词竞价高、长尾词又没量?手动广告词到底怎么选?
月初时有个朋友私信问了我这个问题,但因为这个月忙于旺季发货,一直没时间回复。临近月底稍微空闲一些,我就结合自己的理解,简单的聊一聊。
首先选词出来打手动(关键词从哪里来),通常需要产品自身广告的转化数据作为支撑。在自动广告有转化出单词并且数据非偶然性的情况下,这是最简单获取手动广告词的办法。
那么如果自动广告没有任何转化数据作为支撑,该如何选词?这时可以通过后台的搜索词报告,结合ABA数据,或直接使用第三方工具分析竞品的流量词进行筛选(需要注意不是任何竞品的词都可以拿来打)。
ABA选词的原则一般是从“高排名”词逐步打向“低排名”词(例如从排名10万的长尾词慢慢打到1万以内的大词)。
实操过程中通常出现两种策略:一类人偏好核心长尾词的精准匹配,因为转化相对较好、花费可控;另一类人倾向打大词,看中其流量大、订单上限高的特点。
那么,大词和长尾词具体有哪些区别?(我通常将ABA排名1万以内的词视为大词)实操过程中又有那些不一样的地方?
以下是一个实际案例:同一款产品不同颜色(节点一致、售价相同,分别由两位运营负责)。产品A因合并老款,Review数量多于产品B。产品A在整个推广过程中只投高度相关的精准长尾词(ABA排名5万-15万),而产品B则主打宽泛词 少量精准长尾词 大词词组匹配。很明显,B的订单量和整体流量均高于A。
A不愿投大词的原因是认为大词CPC太高、且转化率低——之前尝试过一些非核心大词(如Garden Decor),效果均不理想,因此后期完全放弃。即便A的排名进入小类BSR前十,也未再尝试大词。

再看产品B,主打的是如“xx装饰”这类词(如下图)。做过家居类目的朋友应该知道,任何带“Decor”的词通常高曝光低转化(甚至可能CTR都极低),因为客户的搜索意图过于宽泛。


因此B的广告结构中,除核心精准长尾词的手动广告(此处不展开)外,前期还主投了 hanging garden decor、hanging outdoor decor、patio hanging decor 等词。随着这些词自然排名上升,开始投放大词词组如 outdoor decor(投大词时搭配BD活动效果更好,否则广告花费容易失控),后期又逐步加入 garden decor for outside、outdoor patio decor 等词。
如果对应的手动关键词广告转化很差长时间推不上去或者广告预算严重超出的话,可以按照SPR值去估算一下,看看单量缺口是多少然后“加上去”,B的最终目标是通过这些带Decor的长尾词间接推动 outdoor decor、garden decor 等大词排名,从而实现自然流量的扩张。
通过上述对比可以看到,A与B在关键词的广告布局上差异显著。那么同款产品为何B能成功推起大词并实现反超?根本原因在于关键词策略应随产品阶段动态调整。
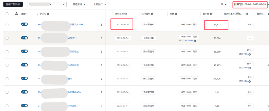
基于此我让A运营尝试用B的办法重新梳理了一款万圣节产品,主要目的是尝试看看引入大词的广告组对于该产品的销量提升是否有帮助,是否又会出现之前光烧钱不出单的窘境。于是在这个月9号新开了一个大词的广告,具体数据如下。


可以看到这一个大词fall decorations for home的曝光在选定的时间段内仅低于自动广告,并且通过第三方工具可以很明显的看到整个产品的流量增幅几乎都是由这个关键词直接/间接带来的(虽然该词的直接转化增量不多)。



然后在对比其他数据(这里是按照7天为一个周期来对比),可以很明显的看到自然点击增长的非常迅速,并且自然单的占比提升的也非常明显,说明这个大词对于该产品的销量提升比较显著,并且因为自然单占比多,所以该产品的整体利润率有原先的12%提升至21%。


然后回到最开始的那个问题,手动广告词到底怎么选?总结起来就是新品期靠核心精准长尾词“活下去”,成长期用精准长尾词的利润支撑大词的广告曝光,成熟期则通过大词与长尾词的组合进一步巩固市场份额。因此,手动广告的选词并非简单二选一,而应依据产品发展阶段,动态的、组合的运用这两种词类型。
最后提前祝大家在接下来的3个月:销量乘风破浪,突破历史巅峰!利润厚积薄发,红红火火!订单应接不暇,仓库发货发到手软!
匿名用户
当自然位置在核心关键词足够高的时候,是否还需要去打这些核心关键词呢,核心关键词转化可以但是由于客单低导致整体ACOS爆炸,这种情况该如何调整,还有核心关键词精准匹配词组匹配不如广泛来的转化高
需要沉淀 • 金华
1.如果自然排名稳定的情况下,可以慢慢降低该关键词的竞价,此时你的目的不是争抢顶部广告位,而是出现在搜索结果页的底部或其它不那么显眼的位置(占着坑位),简单来说这个时候你的广告目的更多的是保护你的自然位,而不是获取流量。 2.低客单价确实比较麻烦,正常情况下只能慢慢降低竞价了或者提高售价来抵消部分高CPC的影响 3.你可以先分析一下看看广泛的出单词都是那些,是不是匹配到一些你未曾想到但实际有转化潜力的长尾变体词,其次包括你的广告竞价有没有给足,广告位置目前处于什么位置,你产品目前在该核心关键词下是否具有竞争力等等
匿名用户 • 上海
@需要沉淀:好的 感谢大佬
conterless • 洛杉矶
@需要沉淀:大佬,对于第一点我也疑问,自然排名稳定在前面,广告排名如果往下降的话,竟对立马顶上来,从而对自然排名没有起到稳定的作用,观察类目排名前几的对主要关键词的广告排名位置,就算是大词关键词排名第一第二的,广告排名也通常保持在该词的TOP位。
bubblegum • 长沙
核心词自然位稳定了之后可以先尝试降低bid,观察转化是否能达标,不达标的话就调回去,改成降低预算。
阿发发 • 深圳
@bubblegum:你好,向你请教一下,我降低了bid,转化降了一些,但7天14天30天这样的指标跟没降之前是差不多的,只是每天的起伏比较大,需要怎么调整呢?
庄一点 • 广州
@conterless:我也是比较疑惑的地方,打顶部位置出了出单还有一个目的占坑位,防守竞对拿到顶部位置出单最终影响自己的自然位。如果退下来在早期可能变化不是很大慢慢的流量逐渐少了,等发现还想打回去的时候已经给竞对超过了。我目前有的品就出现这个情况。
lalalal123 • 东莞
我是做非标品的,但是有时候就是关键词排名在2-3页,提高竞价到首位后acos爆了,只能降价
jiiiiii
感谢lz分享!感觉有点思路清晰了。再提问一下,核心关键词的点击份额和转化份额的数值有参考么,怎样才算是热门且转化好的词呢?
茄qie子 • 深圳
1. 核心词的点击和转化份额可以参考西*的TOP3点击和转化份额; 2. 想找到热门词的话可以看关键词的搜索量,转化好的词可以看看关键词的点击转化率
jiiiiii • 成都
@茄qie子:好的谢谢


大词竞价高、长尾词又没量?手动广告词到底怎么选?
月初时有个朋友私信问了我这个问题,但因为这个月忙于旺季发货,一直没时间回复。临近月底稍微空闲一些,我就结合自己的理解,简单的聊一聊。
首先选词出来打手动(关键词从哪里来),通常需要产品自身广告的转化数据作为支撑。在自动广告有转化出单词并且数据非偶然性的情况下,这是最简单获取手动广告词的办法。
那么如果自动广告没有任何转化数据作为支撑,该如何选词?这时可以通过后台的搜索词报告,结合ABA数据,或直接使用第三方工具分析竞品的流量词进行筛选(需要注意不是任何竞品的词都可以拿来打)。
ABA选词的原则一般是从“高排名”词逐步打向“低排名”词(例如从排名10万的长尾词慢慢打到1万以内的大词)。
实操过程中通常出现两种策略:一类人偏好核心长尾词的精准匹配,因为转化相对较好、花费可控;另一类人倾向打大词,看中其流量大、订单上限高的特点。
那么,大词和长尾词具体有哪些区别?(我通常将ABA排名1万以内的词视为大词)实操过程中又有那些不一样的地方?
以下是一个实际案例:同一款产品不同颜色(节点一致、售价相同,分别由两位运营负责)。产品A因合并老款,Review数量多于产品B。产品A在整个推广过程中只投高度相关的精准长尾词(ABA排名5万-15万),而产品B则主打宽泛词 少量精准长尾词 大词词组匹配。很明显,B的订单量和整体流量均高于A。
A不愿投大词的原因是认为大词CPC太高、且转化率低——之前尝试过一些非核心大词(如Garden Decor),效果均不理想,因此后期完全放弃。即便A的排名进入小类BSR前十,也未再尝试大词。

再看产品B,主打的是如“xx装饰”这类词(如下图)。做过家居类目的朋友应该知道,任何带“Decor”的词通常高曝光低转化(甚至可能CTR都极低),因为客户的搜索意图过于宽泛。


因此B的广告结构中,除核心精准长尾词的手动广告(此处不展开)外,前期还主投了 hanging garden decor、hanging outdoor decor、patio hanging decor 等词。随着这些词自然排名上升,开始投放大词词组如 outdoor decor(投大词时搭配BD活动效果更好,否则广告花费容易失控),后期又逐步加入 garden decor for outside、outdoor patio decor 等词。
如果对应的手动关键词广告转化很差长时间推不上去或者广告预算严重超出的话,可以按照SPR值去估算一下,看看单量缺口是多少然后“加上去”,B的最终目标是通过这些带Decor的长尾词间接推动 outdoor decor、garden decor 等大词排名,从而实现自然流量的扩张。
通过上述对比可以看到,A与B在关键词的广告布局上差异显著。那么同款产品为何B能成功推起大词并实现反超?根本原因在于关键词策略应随产品阶段动态调整。
基于此我让A运营尝试用B的办法重新梳理了一款万圣节产品,主要目的是尝试看看引入大词的广告组对于该产品的销量提升是否有帮助,是否又会出现之前光烧钱不出单的窘境。于是在这个月9号新开了一个大词的广告,具体数据如下。


可以看到这一个大词fall decorations for home的曝光在选定的时间段内仅低于自动广告,并且通过第三方工具可以很明显的看到整个产品的流量增幅几乎都是由这个关键词直接/间接带来的(虽然该词的直接转化增量不多)。



然后在对比其他数据(这里是按照7天为一个周期来对比),可以很明显的看到自然点击增长的非常迅速,并且自然单的占比提升的也非常明显,说明这个大词对于该产品的销量提升比较显著,并且因为自然单占比多,所以该产品的整体利润率有原先的12%提升至21%。


然后回到最开始的那个问题,手动广告词到底怎么选?总结起来就是新品期靠核心精准长尾词“活下去”,成长期用精准长尾词的利润支撑大词的广告曝光,成熟期则通过大词与长尾词的组合进一步巩固市场份额。因此,手动广告的选词并非简单二选一,而应依据产品发展阶段,动态的、组合的运用这两种词类型。
最后提前祝大家在接下来的3个月:销量乘风破浪,突破历史巅峰!利润厚积薄发,红红火火!订单应接不暇,仓库发货发到手软!
匿名用户
当自然位置在核心关键词足够高的时候,是否还需要去打这些核心关键词呢,核心关键词转化可以但是由于客单低导致整体ACOS爆炸,这种情况该如何调整,还有核心关键词精准匹配词组匹配不如广泛来的转化高
需要沉淀 • 金华
1.如果自然排名稳定的情况下,可以慢慢降低该关键词的竞价,此时你的目的不是争抢顶部广告位,而是出现在搜索结果页的底部或其它不那么显眼的位置(占着坑位),简单来说这个时候你的广告目的更多的是保护你的自然位,而不是获取流量。 2.低客单价确实比较麻烦,正常情况下只能慢慢降低竞价了或者提高售价来抵消部分高CPC的影响 3.你可以先分析一下看看广泛的出单词都是那些,是不是匹配到一些你未曾想到但实际有转化潜力的长尾变体词,其次包括你的广告竞价有没有给足,广告位置目前处于什么位置,你产品目前在该核心关键词下是否具有竞争力等等
匿名用户 • 上海
@需要沉淀:好的 感谢大佬
conterless • 洛杉矶
@需要沉淀:大佬,对于第一点我也疑问,自然排名稳定在前面,广告排名如果往下降的话,竟对立马顶上来,从而对自然排名没有起到稳定的作用,观察类目排名前几的对主要关键词的广告排名位置,就算是大词关键词排名第一第二的,广告排名也通常保持在该词的TOP位。
bubblegum • 长沙
核心词自然位稳定了之后可以先尝试降低bid,观察转化是否能达标,不达标的话就调回去,改成降低预算。
阿发发 • 深圳
@bubblegum:你好,向你请教一下,我降低了bid,转化降了一些,但7天14天30天这样的指标跟没降之前是差不多的,只是每天的起伏比较大,需要怎么调整呢?
庄一点 • 广州
@conterless:我也是比较疑惑的地方,打顶部位置出了出单还有一个目的占坑位,防守竞对拿到顶部位置出单最终影响自己的自然位。如果退下来在早期可能变化不是很大慢慢的流量逐渐少了,等发现还想打回去的时候已经给竞对超过了。我目前有的品就出现这个情况。
lalalal123 • 东莞
我是做非标品的,但是有时候就是关键词排名在2-3页,提高竞价到首位后acos爆了,只能降价
jiiiiii
感谢lz分享!感觉有点思路清晰了。再提问一下,核心关键词的点击份额和转化份额的数值有参考么,怎样才算是热门且转化好的词呢?
茄qie子 • 深圳
1. 核心词的点击和转化份额可以参考西*的TOP3点击和转化份额; 2. 想找到热门词的话可以看关键词的搜索量,转化好的词可以看看关键词的点击转化率
jiiiiii • 成都
@茄qie子:好的谢谢







其他
04-09 周四











