Lei非电香薰机
一、产品介绍
官网链接:https://lei-aroma.com/en/

Lei 是一种最终可持续的香味扩散器,通过蜡烛的热量而不是电源来供电。重新定义了现有的家用电器,热能带动风扇转动所产生的微风,让香气挥发渗透到空间中。

(Lei非电动香薰机使用方法摘自官网)
二、知识产权
这款产品已申请世界发明WO2021039568A1(PCT国际公布),日本发明JP6701475B1
专利持有人:ANTBEE INC (アントビー株式会社 ), 发明人:长门康之(该公司CEO)
Antbee Co., Ltd.(アントビー株式会社 )是一家综合性制造商,以冰箱等家电产品的制造和销售业务为基础,在意大利开展有机产品的进口业务以及制造和销售旅行冷却器和烤箱的户外业务。酒窖和香气扩散器。
官网链接:https://antbee.co.jp/about/
以下是专利情况:
WO2021039568A1 香味扩散装置及香味扩散方法
|
|
|
|
专利要点:
本发明的目的在于提供一种能够将来自香味源的香味高效地扩散到温和的气氛中的香味扩散装置。
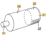
该装置包含产生热源(火焰或光)的热源安装部分20、用于安装香源的香源安装部分30、用于散发香源的风扇40、驱动风扇的电机50、用于从Peltier元件10向电机供电的电路组成。
注释:Peltier元件是一种半导体元件,能够通过直流电通过两种金属的结,并将热量从一种金属转移到另一种金属,从而控制金属的冷却和加热。
综上,包含以上结构元件的香味扩散装置,即落入该发明的权利保护范围。
三、获得的荣誉
此外这款香薰机获得了许多享有盛誉的设计奖项,是世界三大设计奖项之一。
荣获“iF Design Award 2021”、“Red Dot Design Award 2021”、“A' Design Award”
参考链接:https://competition.adesignaward.com/design.php?ID=120800


一、产品介绍
官网链接:https://lei-aroma.com/en/

Lei 是一种最终可持续的香味扩散器,通过蜡烛的热量而不是电源来供电。重新定义了现有的家用电器,热能带动风扇转动所产生的微风,让香气挥发渗透到空间中。

(Lei非电动香薰机使用方法摘自官网)
二、知识产权
这款产品已申请世界发明WO2021039568A1(PCT国际公布),日本发明JP6701475B1
专利持有人:ANTBEE INC (アントビー株式会社 ), 发明人:长门康之(该公司CEO)
Antbee Co., Ltd.(アントビー株式会社 )是一家综合性制造商,以冰箱等家电产品的制造和销售业务为基础,在意大利开展有机产品的进口业务以及制造和销售旅行冷却器和烤箱的户外业务。酒窖和香气扩散器。
官网链接:https://antbee.co.jp/about/
以下是专利情况:
WO2021039568A1 香味扩散装置及香味扩散方法
|
|
|
|
专利要点:
本发明的目的在于提供一种能够将来自香味源的香味高效地扩散到温和的气氛中的香味扩散装置。
该装置包含产生热源(火焰或光)的热源安装部分20、用于安装香源的香源安装部分30、用于散发香源的风扇40、驱动风扇的电机50、用于从Peltier元件10向电机供电的电路组成。
注释:Peltier元件是一种半导体元件,能够通过直流电通过两种金属的结,并将热量从一种金属转移到另一种金属,从而控制金属的冷却和加热。
综上,包含以上结构元件的香味扩散装置,即落入该发明的权利保护范围。
三、获得的荣誉
此外这款香薰机获得了许多享有盛誉的设计奖项,是世界三大设计奖项之一。
荣获“iF Design Award 2021”、“Red Dot Design Award 2021”、“A' Design Award”
参考链接:https://competition.adesignaward.com/design.php?ID=120800









福建
12-12 周五











