炸锅!外观完全不同照样被起诉TRO!46 家亚马逊店铺已冻结
平台新政&爆款打造及差异化布局攻略揭秘,手把手教你进军巴西>>>
Squishmallows版权商标案

最近跨境圈炸锅:圆形化妆镜、车载遮阳板镜、便携折叠镜,明明长得不一样,却集体被 Roadway Retail LLC 起诉 TRO,46 家亚马逊店铺直接冻结。
Roadway Retail LLC是一家德国公司,维权一款LED化妆镜,针对女性补妆“缺电源、光线不适配”的问题,内置储电电池。点击触摸按钮开启灯光,继续点击可切换为白色、自然色和暖白色。该产品满足了不同照明环境的照明需求,适用于日常/办公室、派对/俱乐部、户外化妆等不同的场合,是情人节、母亲节、周年纪念日送给母亲、姐妹、妻子、女朋友的理想礼物。
Roadway Retail LLC 通过律师事务所,向亚马逊平台及相关侵权卖家发起维权诉讼。
不少卖家懵了:我的产品和原告八竿子打不着,凭什么被下架、被冻结?

*来源:小红书
今天一次性讲透:这起25-cv-00494案件,到底藏着什么专利陷阱。

先看案件核心信息
案件号:25-cv-00494
起诉时间:2025 年 10 月 22 日
原告:Roadway Retail LLC
代理律所:Avek
法院:德克萨斯州西区法院
涉案专利:US9198261B2(2015 年授权,照明装置发明专利)
此次维权行动涵盖:
涉案专利US9198261B2的原发明者是Christian Schech,在2015年11月24日授权给Roadway Retail LLC
所涉专利为一项照明装置发明专利,这是一种可充电、能嵌入开合式物体的照明设备,会通过传感器检测物体的开合状态,自动控制光源的开关。
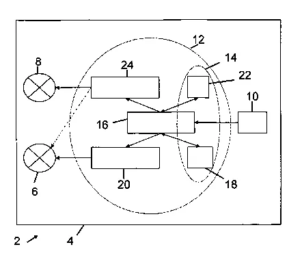
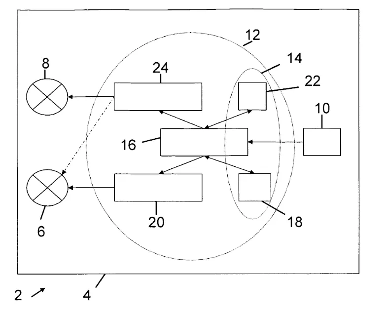
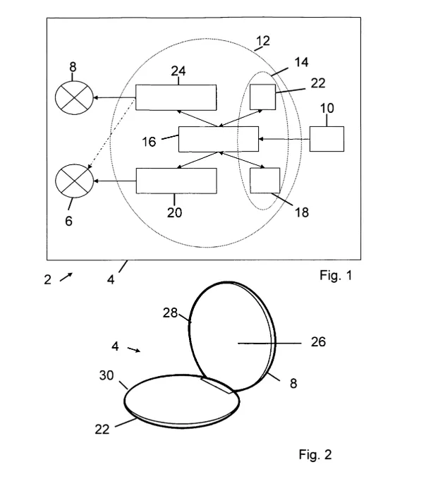
涉案专利图示



*来源:美国专利局
重点来了:这不是外观专利,是发明专利!外观再不一样,只要技术方案落入保护范围,直接判定侵权,这也是大量卖家 “莫名其妙” 被 TRO 的根本原因。

US9198261B2 保护的不是 “化妆镜”,而是可携带 + 可开合物体 + 双传感器 + 双光源 + 自动控制的照明方案。

*产品示例
核心保护要件(缺一不可)
可随身携带,能放进可开合物体(镜盒、车镜翻盖、收纳盒都算)
至少 1 个第一光源:触摸 / 检测运动就亮
储电 + 开关 + 控制单元 + 传感器:第二传感器专门判断 “开合状态”
2 个可切换开合状态的开关部件
同时满足以下任意附加特征,侵权风险直接拉满:
第二传感器:按钮 / 霍尔 / 磁吸干簧管 / 亮度传感器(>100 勒克斯)
第一传感器:热释电 / 电容 / 超声波(带调光必踩电容)
5-60 秒无操作自动断电
支持 LED / 灯丝 / 发光薄膜
带调光器,可骤暗或 1-90 秒渐暗

*产品示例
很多卖家犯了 3 个致命错误:
把发明专利当外观专利发明专利看功能、结构、原理,不看长相。车载镜和圆镜外观天差地别,但双传感 + 自动亮灯 + 开合控制逻辑一模一样。
以为 “小改动” 能绕开专利。换壳、改尺寸、加配色,不改变核心技术方案,照样侵权。
不知道这个专利早就大范围维权。Roadway 从 2024 年就开始起诉(24-cv-12029),去年10 月再次重拳出击,覆盖亚马逊全平台便携照明类化妆镜。
你的车载镜、折叠镜、圆镜,只要是 “翻盖 + 感应亮灯 + 电池 + 自动控制”,外观再不一样,也 100% 落入保护范围。

截止目前已有46 家亚马逊卖家被起诉,46 家店铺的产品均构成不同程度的外观设计专利侵权。
案件进入PI 初步禁令阶段,部分卖家已应诉。此次案件给所有跨境人敲响警钟:选品先查专利,发明专利比外观专利杀伤力更大!
外观专利:只防长得像
发明专利:防“原理一样”,覆盖全品类相似技术方案
尤其亚马逊、Wish、速卖通等平台,近期知识产权整治力度空前,累计超 1609 家店铺因侵权被冻结,中小卖家务必重视合规,避免 “一夜归零”。
紧急自查清单:你的产品是否踩雷?
对照以下要点,满足 2 项及以上立即下架排查:
便携 / 车载 / 可折叠,带翻盖结构
触摸 / 挥手感应亮灯
打开翻盖自动亮灯,合上熄灭
内置电池可充电
支持调光 / 多档亮度
长时间无操作自动关灯
已收到 TRO?按这 4 步止损:
立即停售:下架涉案 Listing,保留采购、销售、设计相关证据。
专利比对:对照 US9198261B2 权利要求书,判断侵权风险,挖掘抗辩空间。
后续合规:新品上架前必做专利检索,重点排查美妆工具等类目发明专利风险。
专业和解:委托知产团队对接律所,争取低赔偿 / 0 赔偿 + 撤诉 + 账号解冻。


Squishmallows版权商标案

最近跨境圈炸锅:圆形化妆镜、车载遮阳板镜、便携折叠镜,明明长得不一样,却集体被 Roadway Retail LLC 起诉 TRO,46 家亚马逊店铺直接冻结。
Roadway Retail LLC是一家德国公司,维权一款LED化妆镜,针对女性补妆“缺电源、光线不适配”的问题,内置储电电池。点击触摸按钮开启灯光,继续点击可切换为白色、自然色和暖白色。该产品满足了不同照明环境的照明需求,适用于日常/办公室、派对/俱乐部、户外化妆等不同的场合,是情人节、母亲节、周年纪念日送给母亲、姐妹、妻子、女朋友的理想礼物。
Roadway Retail LLC 通过律师事务所,向亚马逊平台及相关侵权卖家发起维权诉讼。
不少卖家懵了:我的产品和原告八竿子打不着,凭什么被下架、被冻结?

*来源:小红书
今天一次性讲透:这起25-cv-00494案件,到底藏着什么专利陷阱。

先看案件核心信息
案件号:25-cv-00494
起诉时间:2025 年 10 月 22 日
原告:Roadway Retail LLC
代理律所:Avek
法院:德克萨斯州西区法院
涉案专利:US9198261B2(2015 年授权,照明装置发明专利)
此次维权行动涵盖:
涉案专利US9198261B2的原发明者是Christian Schech,在2015年11月24日授权给Roadway Retail LLC
所涉专利为一项照明装置发明专利,这是一种可充电、能嵌入开合式物体的照明设备,会通过传感器检测物体的开合状态,自动控制光源的开关。
涉案专利图示



*来源:美国专利局
重点来了:这不是外观专利,是发明专利!外观再不一样,只要技术方案落入保护范围,直接判定侵权,这也是大量卖家 “莫名其妙” 被 TRO 的根本原因。

US9198261B2 保护的不是 “化妆镜”,而是可携带 + 可开合物体 + 双传感器 + 双光源 + 自动控制的照明方案。

*产品示例
核心保护要件(缺一不可)
可随身携带,能放进可开合物体(镜盒、车镜翻盖、收纳盒都算)
至少 1 个第一光源:触摸 / 检测运动就亮
储电 + 开关 + 控制单元 + 传感器:第二传感器专门判断 “开合状态”
2 个可切换开合状态的开关部件
同时满足以下任意附加特征,侵权风险直接拉满:
第二传感器:按钮 / 霍尔 / 磁吸干簧管 / 亮度传感器(>100 勒克斯)
第一传感器:热释电 / 电容 / 超声波(带调光必踩电容)
5-60 秒无操作自动断电
支持 LED / 灯丝 / 发光薄膜
带调光器,可骤暗或 1-90 秒渐暗

*产品示例
很多卖家犯了 3 个致命错误:
把发明专利当外观专利发明专利看功能、结构、原理,不看长相。车载镜和圆镜外观天差地别,但双传感 + 自动亮灯 + 开合控制逻辑一模一样。
以为 “小改动” 能绕开专利。换壳、改尺寸、加配色,不改变核心技术方案,照样侵权。
不知道这个专利早就大范围维权。Roadway 从 2024 年就开始起诉(24-cv-12029),去年10 月再次重拳出击,覆盖亚马逊全平台便携照明类化妆镜。
你的车载镜、折叠镜、圆镜,只要是 “翻盖 + 感应亮灯 + 电池 + 自动控制”,外观再不一样,也 100% 落入保护范围。

截止目前已有46 家亚马逊卖家被起诉,46 家店铺的产品均构成不同程度的外观设计专利侵权。
案件进入PI 初步禁令阶段,部分卖家已应诉。此次案件给所有跨境人敲响警钟:选品先查专利,发明专利比外观专利杀伤力更大!
外观专利:只防长得像
发明专利:防“原理一样”,覆盖全品类相似技术方案
尤其亚马逊、Wish、速卖通等平台,近期知识产权整治力度空前,累计超 1609 家店铺因侵权被冻结,中小卖家务必重视合规,避免 “一夜归零”。
紧急自查清单:你的产品是否踩雷?
对照以下要点,满足 2 项及以上立即下架排查:
便携 / 车载 / 可折叠,带翻盖结构
触摸 / 挥手感应亮灯
打开翻盖自动亮灯,合上熄灭
内置电池可充电
支持调光 / 多档亮度
长时间无操作自动关灯
已收到 TRO?按这 4 步止损:
立即停售:下架涉案 Listing,保留采购、销售、设计相关证据。
专利比对:对照 US9198261B2 权利要求书,判断侵权风险,挖掘抗辩空间。
后续合规:新品上架前必做专利检索,重点排查美妆工具等类目发明专利风险。
专业和解:委托知产团队对接律所,争取低赔偿 / 0 赔偿 + 撤诉 + 账号解冻。







其他
04-16 周四










