1218美国专利新下证!喂鸟器*2、纸巾架*5、宠物用品
,OpenClaw助力亚马逊广告运营提效,点击报名>>>
产品名称:写字板Writing tablet
美国外观专利号:USD1106157S1

产品名称:LCD写字板LCD writing tablet
美国外观专利号:USD1106152S1

产品名称:书签Bookmark
美国外观专利号:USD1106323S1

产品名称:液体分配器Liquid dispenser
美国外观专利号:USD1105926S1

产品名称:猫砂盆Cat litter box
美国外观专利号:USD1106610S1

产品名称:投影灯Projection lamp
美国外观专利号:USD1106556S1

产品名称:汽车杯Car mug
美国外观专利号:USD1105853S1

产品名称:瓶架Bottle holder
美国外观专利号:USD1105857S1

产品名称:挂钩Hook
美国外观专利号:USD1105901S1

产品名称:喂鸟器Bird feeder
美国外观专利号:USD1106599S1

产品名称:喂鸟器Bird feeder
美国外观专利号:USD1106600S1

产品名称:蔬菜切碎机Vegetable chopper
美国外观专利号:USD1105862S1

产品名称:拖把头Floor scrub brush head
美国外观专利号:USD1105768S1

产品名称:用于挂板的紧固件Fastener for pegboard
美国外观专利号:USD1105905S1

产品名称:袜子分类器Sock sorter
美国外观专利号:USD1105772S1

产品名称:卫生纸架Toilet paper holder
美国外观专利号:USD1105796S1

产品名称:Towel holder
美国外观专利号:USD1105793S1

产品名称:卫生纸架Toilet paper holder
美国外观专利号:USD1105795S1

产品名称:Towel holder
美国外观专利号:USD1105794S1

产品名称:卫生纸架Toilet paper holder
美国外观专利号:USD1105797S1

产品名称:可缩回宠物皮带Retractable pet leash
美国外观专利号:USD1106605S1

产品名称:珠宝扣Jewelry clasp
美国外观专利号:USD1105969S1

产品名称:U形发夹挂钩U shape hair extensions holder hanger
美国外观专利号:USD1105771S1

产品名称:贝壳形肥皂碟Shell shaped soap dish
美国外观专利号:USD1105800S1

产品名称:桌面整理器Desktop organizer
美国外观专利号:USD1106326S1

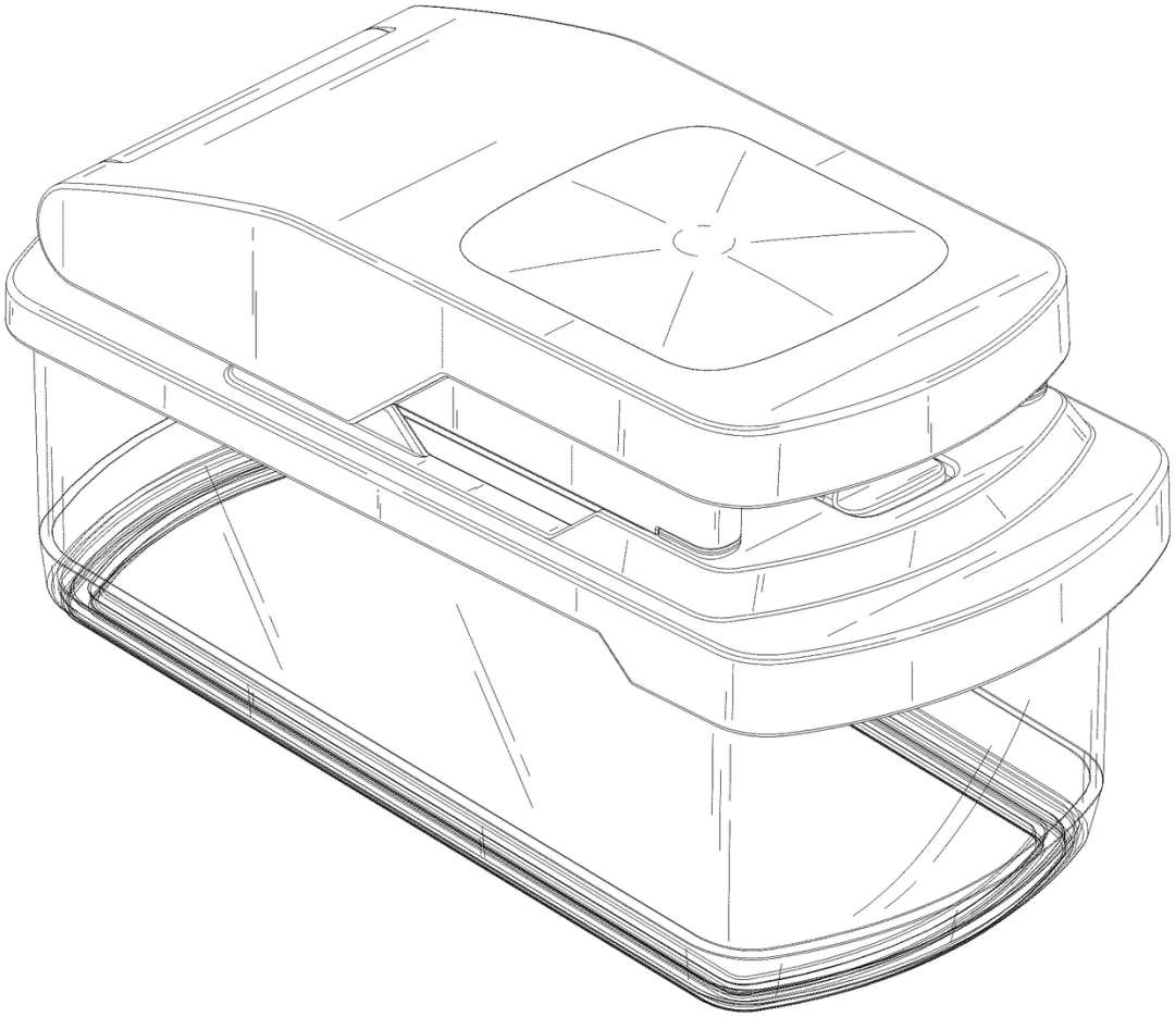
产品名称:慢速进食器Slow feeder
美国外观专利号:USD1106601S1

产品名称:烹饪篮Cooking basket
美国外观专利号:USD1105845S1

产品名称:头皮刷Scalp brush
美国外观专利号:USD1105767S1

产品名称:融蜡器Candle warmer lamp
美国外观专利号:USD1106552S1

产品名称:融蜡器Starry candle heating lamp
美国外观专利号:USD1106413S1



产品名称:写字板Writing tablet
美国外观专利号:USD1106157S1

产品名称:LCD写字板LCD writing tablet
美国外观专利号:USD1106152S1

产品名称:书签Bookmark
美国外观专利号:USD1106323S1

产品名称:液体分配器Liquid dispenser
美国外观专利号:USD1105926S1

产品名称:猫砂盆Cat litter box
美国外观专利号:USD1106610S1

产品名称:投影灯Projection lamp
美国外观专利号:USD1106556S1

产品名称:汽车杯Car mug
美国外观专利号:USD1105853S1

产品名称:瓶架Bottle holder
美国外观专利号:USD1105857S1

产品名称:挂钩Hook
美国外观专利号:USD1105901S1

产品名称:喂鸟器Bird feeder
美国外观专利号:USD1106599S1

产品名称:喂鸟器Bird feeder
美国外观专利号:USD1106600S1

产品名称:蔬菜切碎机Vegetable chopper
美国外观专利号:USD1105862S1

产品名称:拖把头Floor scrub brush head
美国外观专利号:USD1105768S1

产品名称:用于挂板的紧固件Fastener for pegboard
美国外观专利号:USD1105905S1

产品名称:袜子分类器Sock sorter
美国外观专利号:USD1105772S1

产品名称:卫生纸架Toilet paper holder
美国外观专利号:USD1105796S1

产品名称:Towel holder
美国外观专利号:USD1105793S1

产品名称:卫生纸架Toilet paper holder
美国外观专利号:USD1105795S1

产品名称:Towel holder
美国外观专利号:USD1105794S1

产品名称:卫生纸架Toilet paper holder
美国外观专利号:USD1105797S1

产品名称:可缩回宠物皮带Retractable pet leash
美国外观专利号:USD1106605S1

产品名称:珠宝扣Jewelry clasp
美国外观专利号:USD1105969S1

产品名称:U形发夹挂钩U shape hair extensions holder hanger
美国外观专利号:USD1105771S1

产品名称:贝壳形肥皂碟Shell shaped soap dish
美国外观专利号:USD1105800S1

产品名称:桌面整理器Desktop organizer
美国外观专利号:USD1106326S1

产品名称:慢速进食器Slow feeder
美国外观专利号:USD1106601S1

产品名称:烹饪篮Cooking basket
美国外观专利号:USD1105845S1

产品名称:头皮刷Scalp brush
美国外观专利号:USD1105767S1

产品名称:融蜡器Candle warmer lamp
美国外观专利号:USD1106552S1

产品名称:融蜡器Starry candle heating lamp
美国外观专利号:USD1106413S1








其他
04-09 周四











