谁碰谁遭殃!这款产品手握“360°无死角”专利!
AI设计/3D打印/欧洲市场实战拆解,点击报名
本案分析的产品是一款手握全方位无死角专利的爆款儿童玩具产品。我们都知道孩子在0-3岁正是感官发育的关键期,视觉、听觉、触觉、味觉、嗅觉的全面激活,才是智商、专注力、创造力的底层逻辑。与其逼娃学超前知识,不如做好感官训练,娃未来学习力会直接开挂!而今天分析的维权产品是一款爆款儿童感官玩具,专利维权,目前亚马逊等主流跨境平台上,涉及该类产品的卖家需自查侵权风险!建议全面排查相关产品,即使产品外观相似但未完全复制,也可能面临侵权风险!

本案原告Pushpeel LLC 是一家注册于美国纽约州奥尔巴尼市的公司,核心业务聚焦于感官互动玩具的研发、生产与全球销售,其产品主要通过亚马逊等线上平台推向市场。该公司的创始人 Sayer Murphy 是 “感官活动板(sensory activity board)” 这一概念的提出者,Pushpeel品牌在全球范围内取得成功,其产品在感官与认知发展领域具有较高的知名度和影响力。
专利介绍:
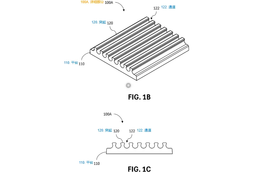
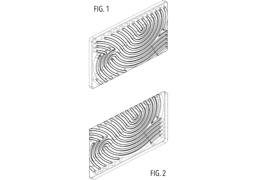
经查询于这款Sensorial activity toys儿童感官玩具产品于2024年11月14日申请,于2025年11月25日在美国获得授权,发明专利(专利号:US12478892B2)。

专利产品名称:感官活动玩具
发明专利号:US12478892B2
申请日:2024-11-14
公开(公告)日:2025-11-25
当前申请(专利权)人:PUSHPEEL LLC
案件信息:
案件号:25-cv-1957
品牌原告:Pushpeel LLC
起诉类型: 专利
起诉日期:2025-12-16
代理律所:FERENCE & ASSOCIATES LLC
官网:https://thepushpeel.com/
产品示例:

用权利人PUSHPEEL LLC查询,可以看到能查到权利人名下专利产品详情。

本次案件涉及的专利产品为一款Sensorial activity toys儿童感官玩具产品。
每位家长都想做好孩子的教育,却常陷入迷茫,要么盲目超前施压,要么错过关键节点,等孩子出现问题才追悔莫及。其实孩子的成长有明确的规律可循,每个年龄段都有对应的教育关键期,抓准这些黄金阶段顺势引导,能让教育事半功倍,更能为孩子的一生筑牢根基。
0-3岁是孩子安全感与感官发育的关键期,也是人生的基础阶段。这个时期孩子大脑发育速度极快,对外界的感知力敏锐,同时对抚养人有着极强的依赖。此时无需急于教知识,核心是给予高质量陪伴,及时回应孩子的需求,帮他建立十足的安全感;多通过色彩、声音、触感玩具激发感官,多跟孩子语言互动,既能促进大脑发育,也能为后续语言能力打基础,这份安全感会成为孩子一生自信的底气。
挤压填充玩法的感官板既能有效缓解压力与焦虑,又能促进孩子精细运动、手眼协调能力发展,不仅仅是孩子更是一款老少皆宜的热门玩具。各大跨境电商平台都有不少相关产品在售,其中月销过百破千的产品不在少数。
本案分析的Sensorial activity toys儿童感官玩具专利产品,建议跨境卖家立即排查,避免后续TRO冻结风险。
本次主要针对这款Sensorial activity toys儿童感官玩具产品进行分析!该品牌权利人名下专利产品,给大家列举专利产品如下!
专利检索
专利详情1:



专利详情2:



相似专利:

总结:
以上就是本次关于这款Sensorial activity toys儿童感官玩具产品的专利检索分享。真正的赢在起跑线,不是让娃提前学会课本知识,而是保护他的好奇心,激活他的感官能力,让他愿意主动去探索世界。放下焦虑,每天花15分钟陪娃玩一场感官小游戏,这才是给娃最好的早教礼物,未来娃的学习力会给你惊喜!
本案分析的这款Sensorial activity toys儿童感官玩具产品,卖家如果想要在这类目产品中找到新机会。需注意以下几点:
1. 提升产品品质和产品体验感。
2. 自主研发产品提前进行知识产权保护,及时商标注册专利。在新品上市之前保护好产品。
3.不是自有产品,注意不要侵权!产品上架之前,及时做好侵权检索!


本案分析的产品是一款手握全方位无死角专利的爆款儿童玩具产品。我们都知道孩子在0-3岁正是感官发育的关键期,视觉、听觉、触觉、味觉、嗅觉的全面激活,才是智商、专注力、创造力的底层逻辑。与其逼娃学超前知识,不如做好感官训练,娃未来学习力会直接开挂!而今天分析的维权产品是一款爆款儿童感官玩具,专利维权,目前亚马逊等主流跨境平台上,涉及该类产品的卖家需自查侵权风险!建议全面排查相关产品,即使产品外观相似但未完全复制,也可能面临侵权风险!

本案原告Pushpeel LLC 是一家注册于美国纽约州奥尔巴尼市的公司,核心业务聚焦于感官互动玩具的研发、生产与全球销售,其产品主要通过亚马逊等线上平台推向市场。该公司的创始人 Sayer Murphy 是 “感官活动板(sensory activity board)” 这一概念的提出者,Pushpeel品牌在全球范围内取得成功,其产品在感官与认知发展领域具有较高的知名度和影响力。
专利介绍:
经查询于这款Sensorial activity toys儿童感官玩具产品于2024年11月14日申请,于2025年11月25日在美国获得授权,发明专利(专利号:US12478892B2)。

专利产品名称:感官活动玩具
发明专利号:US12478892B2
申请日:2024-11-14
公开(公告)日:2025-11-25
当前申请(专利权)人:PUSHPEEL LLC
案件信息:
案件号:25-cv-1957
品牌原告:Pushpeel LLC
起诉类型: 专利
起诉日期:2025-12-16
代理律所:FERENCE & ASSOCIATES LLC
官网:https://thepushpeel.com/
产品示例:

用权利人PUSHPEEL LLC查询,可以看到能查到权利人名下专利产品详情。

本次案件涉及的专利产品为一款Sensorial activity toys儿童感官玩具产品。
每位家长都想做好孩子的教育,却常陷入迷茫,要么盲目超前施压,要么错过关键节点,等孩子出现问题才追悔莫及。其实孩子的成长有明确的规律可循,每个年龄段都有对应的教育关键期,抓准这些黄金阶段顺势引导,能让教育事半功倍,更能为孩子的一生筑牢根基。
0-3岁是孩子安全感与感官发育的关键期,也是人生的基础阶段。这个时期孩子大脑发育速度极快,对外界的感知力敏锐,同时对抚养人有着极强的依赖。此时无需急于教知识,核心是给予高质量陪伴,及时回应孩子的需求,帮他建立十足的安全感;多通过色彩、声音、触感玩具激发感官,多跟孩子语言互动,既能促进大脑发育,也能为后续语言能力打基础,这份安全感会成为孩子一生自信的底气。
挤压填充玩法的感官板既能有效缓解压力与焦虑,又能促进孩子精细运动、手眼协调能力发展,不仅仅是孩子更是一款老少皆宜的热门玩具。各大跨境电商平台都有不少相关产品在售,其中月销过百破千的产品不在少数。
本案分析的Sensorial activity toys儿童感官玩具专利产品,建议跨境卖家立即排查,避免后续TRO冻结风险。
本次主要针对这款Sensorial activity toys儿童感官玩具产品进行分析!该品牌权利人名下专利产品,给大家列举专利产品如下!
专利检索
专利详情1:



专利详情2:



相似专利:

总结:
以上就是本次关于这款Sensorial activity toys儿童感官玩具产品的专利检索分享。真正的赢在起跑线,不是让娃提前学会课本知识,而是保护他的好奇心,激活他的感官能力,让他愿意主动去探索世界。放下焦虑,每天花15分钟陪娃玩一场感官小游戏,这才是给娃最好的早教礼物,未来娃的学习力会给你惊喜!
本案分析的这款Sensorial activity toys儿童感官玩具产品,卖家如果想要在这类目产品中找到新机会。需注意以下几点:
1. 提升产品品质和产品体验感。
2. 自主研发产品提前进行知识产权保护,及时商标注册专利。在新品上市之前保护好产品。
3.不是自有产品,注意不要侵权!产品上架之前,及时做好侵权检索!







其他
04-09 周四











