8.30-9.3侵权案件汇总,又有两大世界著名乐队起诉!
本周案件特别多!
哥斯拉继续诉讼2起案件,
又有两大世界著名乐队起诉!
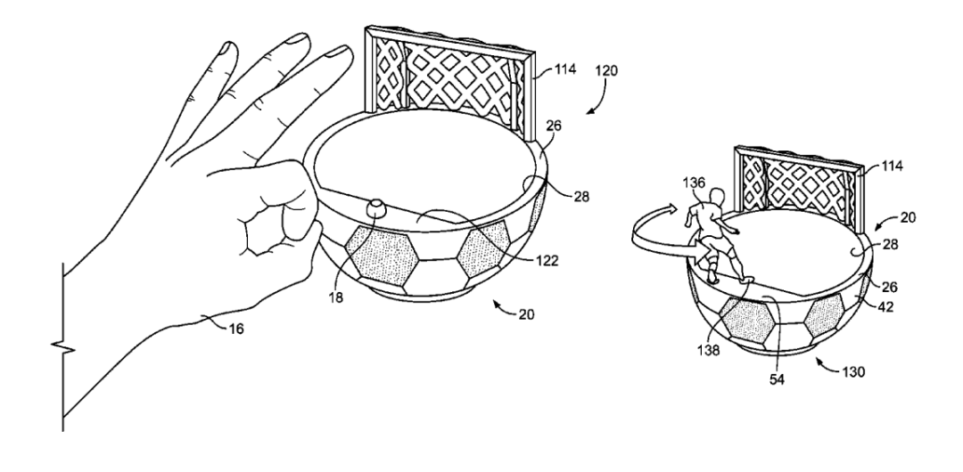
01 GODZILLA 哥斯拉 起诉日期:8月30日、8月31日 案件号:21cv04619、21cv04651 诉讼理由:商标侵权 代理律所:Keith 原告:Toho Co., Ltd 官网:https://www.toho.co.jp/en/ 品牌简介:日本影史上最悠久,世界影史上公认最经典最有名的怪兽角色。 原告知识产权: (Toho部分商标截图) 02 Monster 起诉日期:8月30日 案件号:21cv04620 诉讼理由:商标侵权 代理律所:GBC 原告:Monster Energy Company 官网:https://www.monsterenergy.com/ 品牌简介:一种能量饮料,截至 2019 年,Monster Energy 在能量饮料市场的份额为 35%,位居第二,在红牛之后。经常赞助和支持各类极限运动赛事。 原告知识产权: (Monster部分商标截图) 03 TOMMY 起诉日期:8月31日、9月2日 案件号:21cv04657、21cv04701 诉讼理由:商标侵权 代理律所:GBC 原告:Tommy Hilfiger Licensing LLC, Calvin Klein Trademark Trust, Calvin Klein, Inc. 官网:https://global.tommy.com/en_int 品牌简介:Tommy Hilfiger的时尚生涯始于 1968 年,是美国的高档服装品牌,生产服装,鞋类,配饰,香水和家居用品。 原告知识产权: (Tommy部分商标截图) (Tommy部分商标截图) 04 Motorhead 摩托头乐队 起诉日期:9月1日 案件号:21cv04669 诉讼理由:商标侵权 代理律所:Keith 原告:Global Merchandising Services Ltd. 官网:https://www.globalmerchservices.com/ 品牌简介:Motorhead英国的一个摇滚乐队,创建于1975年。 原告知识产权: (Motorhead部分商标截图) 05 大众 起诉日期:8月24日、9月2日 案件号:21cv04705、21cv04699 诉讼理由:商标侵权 代理律所:GBC 原告:Volkswagen Group of America, Inc. 官网:https://www.volkswagengroupofamerica.com/en-us/ 品牌简介:大众汽车主要五个品牌:奥迪、宾利、布加迪、兰博基尼和大众汽车。 原告知识产权: (大众部分商标截图) 06 隐藏案件 起诉日期:9月2日 案件号:21cv04709 诉讼理由:商标侵权 07 Wu-Tang Clan 武当乐队 起诉日期:9月3日 案件号:21cv04716 诉讼理由:商标侵权 代理律所:GBC 原告:Robert Diggs 官网:https://wutangclan.com/ 品牌简介:也译做武当派,成立于1991年,纽约史坦顿岛的美国嘻哈乐团(少数成员来自布鲁克林区),被认为是有史以来最具影响力的嘻哈团体之一。 原告知识产权: (Wu-Tang Clan部分商标截图) 08 SECRET XPRESS CONTROL 起诉日期:8月27日 案件号:21cv23025 诉讼理由:商标侵权 代理律所:Joel Rothman 原告:Frugality Inc. 亚马逊链接:https://www.amazon.com/Secret-Xpress-Control-Lengthening-Smudge-Proof/dp/B08NZDJY9F/ref=cm_cr_arp_d_product_top?ie=UTF8 原告知识产权: (SECRET XPRESS CONTROL商标截图) 09 Safety Nailer 安全钉 起诉日期:8月27日 案件号:21cv22703 诉讼理由:商标侵权 原告:Safety Nailer LLC 官网:https://www.safetynailer.com/ 品牌简介:可保护你的手指,同时使手钉和拧螺丝更轻松、更安全。 原告知识产权: (Safety Nailer 商标截图) 10 Form-A-Funnel 排油工具 起诉日期:7月23日 案件号:21cv03924 诉讼理由:商标侵权 代理律所:SAPER LAW OFFICES, LLC 原告:SmoothAir, Inc. 官网:https://formafunnel.com/ 品牌简介:排油工具是一种灵活的工具,可轻松弯曲以适应狭小空间,保持任何形状,并且足够宽以接住每一滴水。边缘可以围绕大型过滤器和排水管成型,以形成防漏密封。 原告知识产权: (Form-A-Funnel 商标截图) 11 The Mug With A Hoop 创意球杯 起诉日期:8月30日 案件号:21cv22920 诉讼理由:商标、专利侵权 代理律所:Sriplaw 原告:Max'is Creations Inc. 官网:https://maxiscreations.com/ 品牌简介: Max 患有阅读障碍, 8 岁时就创造了一个灌篮高手设计。当他的二年级美术老师要求他制作一个杯子时,Max 在被子边缘添加一个篮球架,将棉花糖扔进热可可中。Max 的父母帮助他参加产品创新竞赛,被评为前十名决赛选手和社区投票的获胜者。全场媒体将杯子投入生产,他成为 MAX'IS Creations (www.maxiscreations.com) 的首席创造者,目前拥有 6 项已授权专利,销售量超过 10w件。 原告知识产权: (Max'is Creations商标截图) (Max'is Creations专利截图) 12 AirTamer 个人空气净化器 起诉日期:7月27日 案件号:21cv3987 诉讼理由:商标侵权 代理律所:Revision Legal, PLLC 原告:HEADWATERS, INC. 官网:https://www.airtamer.com/ 品牌简介:自 2004 年以来,AirTamer 一直是世界上最畅销、最有效的个人空气净化器,在全球超过 55 个国家/地区有售。 原告知识产权: (airtamer商标截图)




























本周案件特别多!
哥斯拉继续诉讼2起案件,
又有两大世界著名乐队起诉!
01 GODZILLA 哥斯拉 起诉日期:8月30日、8月31日 案件号:21cv04619、21cv04651 诉讼理由:商标侵权 代理律所:Keith 原告:Toho Co., Ltd 官网:https://www.toho.co.jp/en/ 品牌简介:日本影史上最悠久,世界影史上公认最经典最有名的怪兽角色。 原告知识产权: (Toho部分商标截图) 02 Monster 起诉日期:8月30日 案件号:21cv04620 诉讼理由:商标侵权 代理律所:GBC 原告:Monster Energy Company 官网:https://www.monsterenergy.com/ 品牌简介:一种能量饮料,截至 2019 年,Monster Energy 在能量饮料市场的份额为 35%,位居第二,在红牛之后。经常赞助和支持各类极限运动赛事。 原告知识产权: (Monster部分商标截图) 03 TOMMY 起诉日期:8月31日、9月2日 案件号:21cv04657、21cv04701 诉讼理由:商标侵权 代理律所:GBC 原告:Tommy Hilfiger Licensing LLC, Calvin Klein Trademark Trust, Calvin Klein, Inc. 官网:https://global.tommy.com/en_int 品牌简介:Tommy Hilfiger的时尚生涯始于 1968 年,是美国的高档服装品牌,生产服装,鞋类,配饰,香水和家居用品。 原告知识产权: (Tommy部分商标截图) (Tommy部分商标截图) 04 Motorhead 摩托头乐队 起诉日期:9月1日 案件号:21cv04669 诉讼理由:商标侵权 代理律所:Keith 原告:Global Merchandising Services Ltd. 官网:https://www.globalmerchservices.com/ 品牌简介:Motorhead英国的一个摇滚乐队,创建于1975年。 原告知识产权: (Motorhead部分商标截图) 05 大众 起诉日期:8月24日、9月2日 案件号:21cv04705、21cv04699 诉讼理由:商标侵权 代理律所:GBC 原告:Volkswagen Group of America, Inc. 官网:https://www.volkswagengroupofamerica.com/en-us/ 品牌简介:大众汽车主要五个品牌:奥迪、宾利、布加迪、兰博基尼和大众汽车。 原告知识产权: (大众部分商标截图) 06 隐藏案件 起诉日期:9月2日 案件号:21cv04709 诉讼理由:商标侵权 07 Wu-Tang Clan 武当乐队 起诉日期:9月3日 案件号:21cv04716 诉讼理由:商标侵权 代理律所:GBC 原告:Robert Diggs 官网:https://wutangclan.com/ 品牌简介:也译做武当派,成立于1991年,纽约史坦顿岛的美国嘻哈乐团(少数成员来自布鲁克林区),被认为是有史以来最具影响力的嘻哈团体之一。 原告知识产权: (Wu-Tang Clan部分商标截图) 08 SECRET XPRESS CONTROL 起诉日期:8月27日 案件号:21cv23025 诉讼理由:商标侵权 代理律所:Joel Rothman 原告:Frugality Inc. 亚马逊链接:https://www.amazon.com/Secret-Xpress-Control-Lengthening-Smudge-Proof/dp/B08NZDJY9F/ref=cm_cr_arp_d_product_top?ie=UTF8 原告知识产权: (SECRET XPRESS CONTROL商标截图) 09 Safety Nailer 安全钉 起诉日期:8月27日 案件号:21cv22703 诉讼理由:商标侵权 原告:Safety Nailer LLC 官网:https://www.safetynailer.com/ 品牌简介:可保护你的手指,同时使手钉和拧螺丝更轻松、更安全。 原告知识产权: (Safety Nailer 商标截图) 10 Form-A-Funnel 排油工具 起诉日期:7月23日 案件号:21cv03924 诉讼理由:商标侵权 代理律所:SAPER LAW OFFICES, LLC 原告:SmoothAir, Inc. 官网:https://formafunnel.com/ 品牌简介:排油工具是一种灵活的工具,可轻松弯曲以适应狭小空间,保持任何形状,并且足够宽以接住每一滴水。边缘可以围绕大型过滤器和排水管成型,以形成防漏密封。 原告知识产权: (Form-A-Funnel 商标截图) 11 The Mug With A Hoop 创意球杯 起诉日期:8月30日 案件号:21cv22920 诉讼理由:商标、专利侵权 代理律所:Sriplaw 原告:Max'is Creations Inc. 官网:https://maxiscreations.com/ 品牌简介: Max 患有阅读障碍, 8 岁时就创造了一个灌篮高手设计。当他的二年级美术老师要求他制作一个杯子时,Max 在被子边缘添加一个篮球架,将棉花糖扔进热可可中。Max 的父母帮助他参加产品创新竞赛,被评为前十名决赛选手和社区投票的获胜者。全场媒体将杯子投入生产,他成为 MAX'IS Creations (www.maxiscreations.com) 的首席创造者,目前拥有 6 项已授权专利,销售量超过 10w件。 原告知识产权: (Max'is Creations商标截图) (Max'is Creations专利截图) 12 AirTamer 个人空气净化器 起诉日期:7月27日 案件号:21cv3987 诉讼理由:商标侵权 代理律所:Revision Legal, PLLC 原告:HEADWATERS, INC. 官网:https://www.airtamer.com/ 品牌简介:自 2004 年以来,AirTamer 一直是世界上最畅销、最有效的个人空气净化器,在全球超过 55 个国家/地区有售。 原告知识产权: (airtamer商标截图)































福建
12-12 周五











