离谱!刚夺冠!发现商标在别人手里!
平台新政&爆款打造及差异化布局攻略揭秘,手把手教你进军巴西>>>
商标遭受抢注确实是知识产权领域长期存在的“老生常谈”问题!常见的有抢注知名商标,针对已具知名度但未及时注册的品牌、名人姓名、网络热词等,抢注者抢先申请注册,意图通过高价转让或恶意维权获利。其次是跨类别抢注,企业仅注册主营类别商标,抢注者却在关联或非关联类别注册相同或近似商标,阻碍品牌拓展。还有就是批量囤积抢注!抢注者短时间内申请大量商标,不实际使用,待价而沽,扰乱商标注册秩序。这次分析的是张雪机车商标抢注,撕开无数企业的知产盲区!

近日登上热搜的张雪机车,在世界超级摩托车锦标赛(WSBK)葡萄牙站 SSP组别实现两日连冠,成为首个在该顶级赛事夺冠的中国摩托车制造商,瞬间引爆全网,让“中国智造”的机车轰鸣响彻世界。然后伴随出来的是深陷商标被抢注的风波——张雪机车商标被抢注,引发全网热议,有网友直接怒斥张雪在玩命,你缺在玩他!。
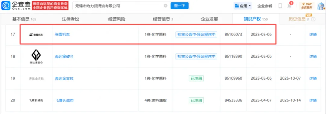
据报道,一家名为润滑油有限公司的企业于2025年5月6日申请注册“张雪机车”商标,类别为“化学原料”,目前该申请正处于等待实质审查阶段。同年,该企业还提交了 “凯越机车” 商标的注册申请,同样归属化学原料类别,且现已注册成功。


抢注方注册的商品与是机车相关的化工配件(商品分类表第1类),不是机车及基础件商品(商品分类表第12类),在商标申请阶段审查时,不会做跨类别交叉检索,故会获初步审定公告。但初步审定公告不是注册公告,也同时给予其他权利人依法提出异议的权利。
其实,张雪早在公司成立之初,就着手进行了产品系统性商标布局:
旗下公司注册商标覆盖 12 类运输工具(核心)、42 类设计研究、9 类科学仪器、25 类服装鞋帽等关联类别,同步注册主品牌、拼音、图形等衍生商标,杜绝 “傍名牌” 风险。

不仅仅商标,据查询,重庆张雪机车工业有限公司拥有26项技术专利,涵盖发明、实用新型和外观设计三大类型,为机车的创造发展保驾护航。

“先为不可胜,以待敌之可胜。”张雪机车夺冠,这不只是赛道上的胜利,更是研发投入和知识产权布局谋篇的“先胜”锁定。知识产权,是你产品“跑得更稳、跑得更远”的底气。
总结:
商标遭抢注,是品牌经营者最为头疼的一大问题。自己辛辛苦苦经营的品牌,多年倾注心血、投入高额宣传费用,到头来商标却被他人轻易盗用牟利,就像自己怀胎十月辛辛苦苦生下的孩子,好不容易培养长大被别人一下子偷走之痛。更有甚者,恶意抢注他人商标,再以此为依据发起诉讼,假借 “维权” 之名,索要高额赔偿金。
商标一旦遭遇抢注,企业往往要面临诸多严重后果。但放眼国内外、各个行业,商标恶意抢注至今仍是屡见不鲜。
我国《商标法》也早已明确,规定不以使用为目的的恶意商标注册申请,应当依法驳回;其中第三十二条也明确,申请商标注册,不得损害他人现有在先权利,更不能以不正当手段,抢先注册他人已使用且具备一定知名度的商标。
商标是企业与产品的核心标识,承载着企业声誉与品牌价值。恶意抢注商标的行为屡禁不止,不仅严重扰乱市场经营秩序、损害创新主体的合法权益,更对社会诚信体系造成冲击。对此,品牌经营者务必保持高度警惕,主动采取有效防范措施。
企业既是经营主体,更是创新主体,要像保护核心资产一样守护自身品牌,树立“商标即资产”的防御意识,及时布局商标注册,筑牢防护壁垒,不给不法分子可乘之机。
同时建议卖家,还可通过马德里体系进行国际注册,对于重点国家,则可考虑单一国家注册,以获取更强的保护力度和更灵活的应对空间。
除了商标布局,企业还应建立全球商标预警机制,定期监控目标市场的商标公告。一旦发现近似商标进入初审公告期,可在法定期限内提出异议,有效控制商标抢注。


商标遭受抢注确实是知识产权领域长期存在的“老生常谈”问题!常见的有抢注知名商标,针对已具知名度但未及时注册的品牌、名人姓名、网络热词等,抢注者抢先申请注册,意图通过高价转让或恶意维权获利。其次是跨类别抢注,企业仅注册主营类别商标,抢注者却在关联或非关联类别注册相同或近似商标,阻碍品牌拓展。还有就是批量囤积抢注!抢注者短时间内申请大量商标,不实际使用,待价而沽,扰乱商标注册秩序。这次分析的是张雪机车商标抢注,撕开无数企业的知产盲区!

近日登上热搜的张雪机车,在世界超级摩托车锦标赛(WSBK)葡萄牙站 SSP组别实现两日连冠,成为首个在该顶级赛事夺冠的中国摩托车制造商,瞬间引爆全网,让“中国智造”的机车轰鸣响彻世界。然后伴随出来的是深陷商标被抢注的风波——张雪机车商标被抢注,引发全网热议,有网友直接怒斥张雪在玩命,你缺在玩他!。
据报道,一家名为润滑油有限公司的企业于2025年5月6日申请注册“张雪机车”商标,类别为“化学原料”,目前该申请正处于等待实质审查阶段。同年,该企业还提交了 “凯越机车” 商标的注册申请,同样归属化学原料类别,且现已注册成功。


抢注方注册的商品与是机车相关的化工配件(商品分类表第1类),不是机车及基础件商品(商品分类表第12类),在商标申请阶段审查时,不会做跨类别交叉检索,故会获初步审定公告。但初步审定公告不是注册公告,也同时给予其他权利人依法提出异议的权利。
其实,张雪早在公司成立之初,就着手进行了产品系统性商标布局:
旗下公司注册商标覆盖 12 类运输工具(核心)、42 类设计研究、9 类科学仪器、25 类服装鞋帽等关联类别,同步注册主品牌、拼音、图形等衍生商标,杜绝 “傍名牌” 风险。

不仅仅商标,据查询,重庆张雪机车工业有限公司拥有26项技术专利,涵盖发明、实用新型和外观设计三大类型,为机车的创造发展保驾护航。

“先为不可胜,以待敌之可胜。”张雪机车夺冠,这不只是赛道上的胜利,更是研发投入和知识产权布局谋篇的“先胜”锁定。知识产权,是你产品“跑得更稳、跑得更远”的底气。
总结:
商标遭抢注,是品牌经营者最为头疼的一大问题。自己辛辛苦苦经营的品牌,多年倾注心血、投入高额宣传费用,到头来商标却被他人轻易盗用牟利,就像自己怀胎十月辛辛苦苦生下的孩子,好不容易培养长大被别人一下子偷走之痛。更有甚者,恶意抢注他人商标,再以此为依据发起诉讼,假借 “维权” 之名,索要高额赔偿金。
商标一旦遭遇抢注,企业往往要面临诸多严重后果。但放眼国内外、各个行业,商标恶意抢注至今仍是屡见不鲜。
我国《商标法》也早已明确,规定不以使用为目的的恶意商标注册申请,应当依法驳回;其中第三十二条也明确,申请商标注册,不得损害他人现有在先权利,更不能以不正当手段,抢先注册他人已使用且具备一定知名度的商标。
商标是企业与产品的核心标识,承载着企业声誉与品牌价值。恶意抢注商标的行为屡禁不止,不仅严重扰乱市场经营秩序、损害创新主体的合法权益,更对社会诚信体系造成冲击。对此,品牌经营者务必保持高度警惕,主动采取有效防范措施。
企业既是经营主体,更是创新主体,要像保护核心资产一样守护自身品牌,树立“商标即资产”的防御意识,及时布局商标注册,筑牢防护壁垒,不给不法分子可乘之机。
同时建议卖家,还可通过马德里体系进行国际注册,对于重点国家,则可考虑单一国家注册,以获取更强的保护力度和更灵活的应对空间。
除了商标布局,企业还应建立全球商标预警机制,定期监控目标市场的商标公告。一旦发现近似商标进入初审公告期,可在法定期限内提出异议,有效控制商标抢注。







其他
04-16 周四










