Item 1 of 1
版权风暴Ⅴ!David律所代理鸟屋、木盒、风铃三案齐发!以及车辆间隙填充物专利维权案同步进行!跨境卖家速查避雷!
2025-10-23 15:50
想系统掌握亚马逊广告的投放逻辑与底层闭环?




































TikTok、Facebook、谷歌、Twitter广告服务,0门槛抢占全球流量!
极速开户+优化投流+风险保障+效果跟踪,仅需4步,轻松撬动亿万海外流量,让品牌销量翻倍增长!
已成功开通5000+账户

最新热门报告作者标签
俄罗斯电商市场快速增长,综合平台优势大于独立站AMZ123获悉,近日,Euromonitor、EMARKETER及Yakov and Partners发布了《俄罗斯电商市场发展现状》报告。报告基于2020-2024年的数据,对俄罗斯电商市场的发展趋势、综合电商平台与独立电商的竞争格局、各品类表现、未来市场预测进行了系统分析。一、俄罗斯电商趋势1.互联网渗透率增长放缓2020至2024年,俄罗斯互联网使用率从78.1%(约9560万用户)提升至85.5%(约1.04亿用户),四年间增加7.4%(新增约790万用户)。俄罗斯的互联网渗透率增速正在逐年放缓,预计到2029年互联网渗透率将达到89%(约1.08亿用户)。
越南加强进口商品监管,修订多项增值税和海关规则AMZ123获悉,近日,越南海关公布了2026年对增值税(VAT)、特别消费税(SCT)及电子交易管理的多项修订,核心在于统一税制规则、扩大免税范围并加强跨境与电子化申报管理。此次调整既有减轻企业合规成本、扶持出口与产业链升级的内容,也伴随对部分消费品与临时进口再出口环节的更严监管,直接影响生产、进出口和跨境电商卖家。在增值税方面,新法律将此前零散的官方函件并入法律和配套法令,提升透明度并便于电子化处理。关键变化包括扩大增值税免税目录:列入政府清单的自然资源与矿产(无论原料还是加工品)在出口时被明确归为增值税免税项目。
TikTok Shop黑五复盘,一堆中国卖家晒出百万GMV黑五复盘,TikTok卖家:“库存差点给我爆完了!”
存生命危险!美国CPSC紧急召回超1万件儿童手写板玩具AMZ123获悉,近日,美国消费品安全委员会(CPSC)宣布,紧急召回亚马逊在售的KTEBO品牌的儿童书写板玩具,原因是该产品未能符合玩具类产品的强制性安全标准,电池仓固定螺丝无法保持牢固,可能导致纽扣电池外露。若儿童误吞纽扣电池,可能造成严重伤害、内部化学灼伤,甚至威胁生命。此次召回涉及KTEBO品牌的双件套书写平板玩具,召回数量约10,380件,产品提供四种颜色组合,包括粉色/蓝色、绿色/黄色、橙色/蓝色以及紫色/红色,并有8.5英寸与10英寸两种规格,每套配有与机身同色的手写笔。
AliExpress波兰11月增长显著,双十一活动日活用户增长37%AMZ123获悉,近日,AliExpress的数据显示,平台11月的消费者参与度与卖家销售额大幅增长。今年11月11日至19日举行的AliExpress双十一购物节活动期间,波兰用户的参与度显著提升,日活跃用户数量同比增长37%。随着去年秋季AliExpress开放波兰本地卖家入驻,今年波兰本地卖家的参与度也明显提高,他们在此次双十一促销期间的GMV同比增长74%。从消费偏好来看,智能生活类产品持续吸引波兰消费者,智能家居与清洁设备成为销售榜单的主导品类。Dreame、ILIFE、Laresar等品牌的扫地机器人和自动吸尘设备进入最畅销产品行列,反映波兰家庭对智能化、便捷化生活方式的需求不断上升。
亚马逊印度计划投资127亿美元,推动本地云和AI基础设施建设AMZ123获悉,近日,亚马逊宣布,将在2030年前进一步推动人工智能在印度的普及,计划投入127亿美元建设本地云和AI基础设施。亚马逊表示,这项长期投资将为超过1500万家中小企业带来AI应用能力,同时在2030年前为400万名公立学校学生提供AI素养课程与职业教育,提高数字技能普及度。亚马逊认为,AI正成为提升印度数字包容性的关键力量,能够突破语言、读写能力与访问渠道的限制,让更多个人与企业受益。在中小企业领域,亚马逊正在推出新一代AI工具,以降低经营门槛、简化业务操作并提升增长效率。
“黑五网一”DTC投放数据复盘,流量都去哪了?2025 年“黑五网一”大战,终于落下帷幕。除了 GMV ,这场仗花了多少“弹药”,你算清楚了吗?流量场上的每一发子弹,都正中靶心了吗?偏离的原因找到了吗?除了看自己后台的数据,还要看清整个大盘的趋势——这决定了我们下一步该往哪儿走。基于 GoodsFox 监控的投放数据,我们有以下发现:服装、美妆的竞争力度只增不减3D 打印与机械键盘,从“小众圈层”跃升为热门赛道宠物经济的流量稳定,不靠爆点也能撑起大盘这些变化背后,都在重塑今年“黑五网一”的投放结构,我们先从流量基本盘讲起——尽管每年都有新风口,但从广告投放的绝对体量来看,传统大盘仍在支撑整体流量水位。
还在“索评”?亚马逊Review管理的红线与出路亚马逊的评论管理格局是如何改变的?首先要明确一点:过去几年,亚马逊的Review生态系统发生了剧变,这对各类管理工具产生了深远影响。在买家端,那些专门用来标记“虚假评论”(或帮助买家鉴别真伪)的老一代工具正在失效甚至消失。不少买家就因为Fakespot在平台冲突、合规问题和数据接口变更的压力下关停而感到措手不及。Fakespot是一个分析电商产品评论真实性、帮助消费者识别虚假评价的平台。在卖家端,亚马逊的政策合规和风控机制变得更加严厉。这意味着Review的风险红线变了:以前那些“地毯式索评”或“送测(Giveaway)”的套路可能有效,但现在操作这些手段的封号风险极高。
AMZ123PayPal计算器使用指南及常见问题详解(内附计算公式)Paypal手续费计算器介绍及计算公式分享
https://www.amz123.com/tools-paypal
重磅!亚马逊公布2026年战略重心变化AMZ123获悉,12月4日,2025年亚马逊全球开店跨境峰会上,亚马逊回顾了过去一年里中国卖家在亚马逊上所取得的进展,并围绕2026年四大业务战略重点——供应链服务、AI赋能、全球拓展布局、本地服务,揭晓了40余项创新举措。根据亚马逊披露的数据:2025年以来,中国卖家通过亚马逊全球站点售出数十亿件商品,在美欧等成熟站点的销售额增长超过15%,在新兴站点的销售额增长超过30%;2025年以来,销售额达到200万、500万、800万美金的中国卖家数量,增长均超过20%;销售额超过1000万美金的中国卖家数量,增幅近30%。
卖家还在等口径!欠税公示制度却已明确落地卖家还在“等政策”,但政策已明确趋严过去几个月里,跨境卖家对税务政策最大的期待就是——“能不能再等等,看会不会有新口径”。但事实上,政策并没有往宽松走,而是沿着“数据透明—提醒申报—强化监管”这条路径一步步推进。AMZ123了解到,目前已有超过7000家境内外平台完成涉税信息报送,卖家的线上线下销售数据已全面纳入监管体系。随着数据比对展开,税务部门对申报明显低于平台数据的经营者陆续发出提示,要求补充申报;多数卖家在收到提示后完成了更正,但也的确还有部分经营者迟迟没有动作,继续处于观望甚至低申报的状态。在这种情况下,监管的态度也开始变得更为明确:对于未按规定申报的行为,将从提醒阶段进入到强化管理阶段。
亚马逊新功能,能救你一整条链接!最近有卖家后台发现,亚马逊多了一个新功能,看起来不起眼,实则很关键——绩效提醒(Performance Notifications)。这个功能解决了我们运营过程中的一个老大难:链接出问题时能不能第一时间被提醒?以前我们发现Listing出状况,大多靠“事后诸葛”:出单突然断了,去查是不是被下架;关键词排名一夜暴跌,才想起去对比转化率;广告Acos拉爆、CTR异常,才知道图可能挂了;等你发现问题,可能已经晚了。这次,亚马逊终于“良心发现”,开始主动提醒你链接的数据异常了。这个新功能到底能干啥?说白了,它就是一个链接级别的数据异常预警系统。
汽配类目又现吸金王,TikTok卖家30天入账1100万月销量暴涨36007900%,这一汽配用品在TikTok卖爆了
跨界AI失败?深圳大卖资产重组终止!12月2日,跨境3C 配件大卖杰美特发布公告,宣布决定终止筹划以现金方式收购AI 算力解决方案提供商思腾合力(天津)科技有限公司(以下简称“思腾合力”)控制权的重大资产重组事项。这场筹划半年、备受行业关注的跨界收购突然落幕,消息一出引发市场热议。AMZ123获悉,杰美特于2025年6月21日首次披露了筹划重组的提示性公告,拟通过现金交易控股思腾合力,该交易初步测算构成重大资产重组,且不涉及发行股份、不构成关联交易,也不会导致公司控制权变更。杰美特是“中国手机壳第一股”,主营业务为移动智能终端保护类产品的研发、设计与销售,产品包括手机、平板及穿戴设备的保护壳与表带等。
宠物消费持续升温,亚马逊10款月销过万宠物产品推荐AMZ123获悉,近日,亚马逊各类产品搜索量增长显著,以下10款产品在亚马逊上销量表现突出,深受消费者欢迎。1. 猫咪情绪舒缓喷雾预计销售额:139.84万美元/月销量:26,000+星级评分:4.4好评数量:12,694+图源:亚马逊产品描述:FELIWAY Optimum猫咪情绪舒缓喷雾的专利信息素复合物能显著减少猫咪的应激表现,包括喷尿、抓挠、恐惧反应、紧张冲突等。产品无药性、安全且不干扰人类与其他宠物,每个喷雾覆盖面积约 700 平方英尺。
TikTok Shop英国站黑五创历史新高,销售额同比飙升50%AMZ123获悉,近日,根据TikTok的公告,TikTok Shop英国站在今年黑色星期五期间创下平台历史最高销售纪录,整体销售额较去年同期提升50%。高峰期出现在黑色星期五当天,当日每秒售出27件商品,刷新TikTok Shop在英国的单日销售纪录。今年消费者开始促销季的时间更早,“假黑五”(Fake Friday,即黑五前一周)的销售额达到去年黑色星期五的纪录水平。黑五周末期间,“TikTok Shop Black Friday”搜索量同比增长404%,成为2025年与黑五相关的最高热度搜索词。同期,平台活跃购物人数较去年增加28%。
《亚马逊生活日用品类攻略手册》PDF下载作为日常生活不可或缺的重要组成,生活百货品类覆盖范围广泛,包括家居用品、家具、车用配件、户外装备、园艺
工具、运动器材、家装用品、厨房、玩具以及宠物用品等众多领域。这类产品不仅是满足基本生活所需,更体现了人们对美好生活的向往和追求。
《掘金泰国-市场洞察与战略机遇报告2025》PDF下载随着全球经济一体化的加速,泰国作为东盟的核心枢纽,凭借其独特的地缘优势庞大的消费市场以及持续优化的营商环境,成为众多企业战略布局的重要目标。本报告深入剖析泰国市场的政策红利、消费趋势、产业机遇以及合规挑战,旨在为有志于开拓泰国市场的中国企业提供行动指南,助力企业在东盟这片充满活力的土地上把握机遇、应对挑战、!实现可持续发展。
《2025欧美假日购物季营销指南》PDF下载2025年美国假日购物季零售额预计同比仅增长1.2%,总销售额约1.359万亿美元,虽仍保持正增长,但为2009年以来最低增速,市场正在步入低增长的新常态。
《2025年跨境电商东南亚市场进入战略白皮书》PDF下载东南亚电商,正以惊人的速度复刻中国电商高速增长的黄金时代。2024年东南亚电商GMV达到1284亿美元,短短5年涨幅超过3倍。全球电商2024年GMV增幅最快的十大市场中,东南亚独占四席。东南亚是拥有约6.7亿人口的广阔市场,在现今全球关税的不确定性大格局下,因其电商基建完善,利好的贸易政策,和更高的年轻人口占比,成为跨境卖家生意拓张焦点之一。
《2025年TikTok Shop玩具品类行业报告(欧美站)》PDF下载分析TikTok Shop美国市场、英国市场、西班牙市场、墨西哥市场等主流市场点短视频及直播电商数据,选取TikTok与玩具爱好品类相关的内容进行分析报告。
《2025 洗护品类趋势与创新洞察》PDF下载本报告独特价值:将消费者的“行为结果”据),揭示消费者深层心理动机、并能精准预判未来增长机会
《亚马逊双轨增长指南》PDF下载亚马逊以“以客户为中心”为核心理念,通过整合B2B与B2C的全渠道服务,帮助卖家实现“一店双拓”-- 一次上架,同步触达个人消费者与企业买家,获得双重收益。同时,基于Direct to Buyer(直接触达买家)的模式,更能有效减少中间环节,提升利润空间与品牌掌控力。
《亚马逊全球线上商采趋势与区域洞察》PDF下载随着全球企业数字化转型的深入推进,B2B商采有望成为下一个万亿级别的蓝海市场然而,中国卖家在开拓海外企业商采市场时往往面临着一个关键挑战:难以准确把握海外企业买家的商采行为和决策模式。这种认知偏差不仅影响了产品开发方向,也制约了市场拓展策略的制定。

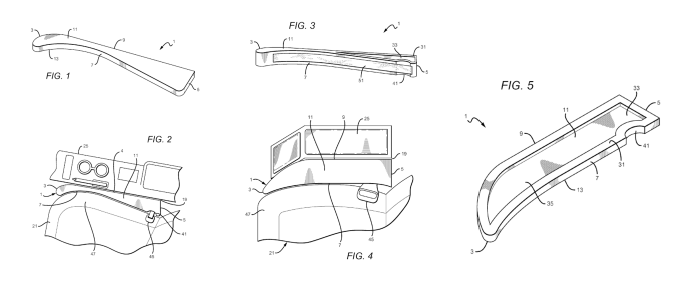
版权风暴Ⅴ!David律所代理鸟屋、木盒、风铃三案齐发!以及车辆间隙填充物专利维权案同步进行!跨境卖家速查避雷!
悟空和解
2025-10-23 15:50
821




































1







福建
12-12 周五











