新品牌!Keener两个隐匿案件维权品牌曝光!
据敦煌网冻结卖家提供的资料,Kenner2月底和1月底立案起诉的2隐匿案件信息与维权曝光。
案件号:21-cv-1123
起诉时间:2021/2/26
原告产品:Hygiene Hand 病毒隔离钥匙扣
原告公司:Magenav, Inc.
代理律所:Keener
案件号:21-cv-1123
起诉时间:2021/1/28
原告产品:Wig Grip Apparatus 假发束发带
原告公司:NG Imports
代理律所:Keener
Hygiene Hand 病毒隔离钥匙扣

Hygiene Hand 是一款由黄铜制成的小挂件,使用场景非常广泛,各种公共场所的按键,都可以用它来按,也可以用来拉门把手开门,新冠期间可以让用户免于用手直接接触可能携带病毒的物品。


Magenav, Inc. 公司为该产品申请了商标Hygiene Hand ,该商标于2020年底才获批,可能正是为了本次维权准备的。

本案为商标维权,Hygiene Hand 这个商标不能使用,诉状未提及相关的设计专利。
刊登举例:


本案共有869个店铺被告,敦煌网卖家已经被冻结,其他平台的冻结估计也会在最近这段时间。

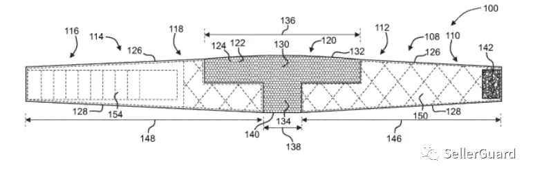
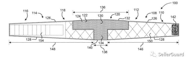
Wig Grip Apparatus 假发束发带


此案并不是商标维权,而仅仅是外观设计专利,以下为注册的外观专利:




今天又是Wish 平台的放款日了,今天的冻结反馈比较多,涉及近期新案的冻结主要有:
Marilyn Monroe [玛丽莲·梦露]


2.Stussy [斯图西]


3.MASHA AND THE BEAR 【玛莎和熊】


以上就是今天的所有内容,更多最新消息,我将进一步跟踪。

据敦煌网冻结卖家提供的资料,Kenner2月底和1月底立案起诉的2隐匿案件信息与维权曝光。
案件号:21-cv-1123
起诉时间:2021/2/26
原告产品:Hygiene Hand 病毒隔离钥匙扣
原告公司:Magenav, Inc.
代理律所:Keener
案件号:21-cv-1123
起诉时间:2021/1/28
原告产品:Wig Grip Apparatus 假发束发带
原告公司:NG Imports
代理律所:Keener
Hygiene Hand 病毒隔离钥匙扣

Hygiene Hand 是一款由黄铜制成的小挂件,使用场景非常广泛,各种公共场所的按键,都可以用它来按,也可以用来拉门把手开门,新冠期间可以让用户免于用手直接接触可能携带病毒的物品。


Magenav, Inc. 公司为该产品申请了商标Hygiene Hand ,该商标于2020年底才获批,可能正是为了本次维权准备的。

本案为商标维权,Hygiene Hand 这个商标不能使用,诉状未提及相关的设计专利。
刊登举例:


本案共有869个店铺被告,敦煌网卖家已经被冻结,其他平台的冻结估计也会在最近这段时间。

Wig Grip Apparatus 假发束发带


此案并不是商标维权,而仅仅是外观设计专利,以下为注册的外观专利:




今天又是Wish 平台的放款日了,今天的冻结反馈比较多,涉及近期新案的冻结主要有:
Marilyn Monroe [玛丽莲·梦露]


2.Stussy [斯图西]


3.MASHA AND THE BEAR 【玛莎和熊】


以上就是今天的所有内容,更多最新消息,我将进一步跟踪。




福建
12-12 周五











