这21款产品已下证美国外观专利!警惕侵权投诉
AI设计/3D打印/欧洲市场实战拆解,点击报名
8月26日,美国专利局公布了一批正式生效的外观专利,今天为大家整理了其中21款。关注到这些产品里面其中不乏是亚马逊,TEMU,Ebay,速卖通,沃尔玛等跨境电商平台热卖品。如有在美国市场刊登售卖,各位跨境卖家需警惕后续可能发生的站内专利权利人投诉甚至发起TRO的风险。
Shelf 架子

专利编号:Patent US D1090134
申请日期:2024/07/24
下证日期:2025/08/26
Slow feeder 慢食碗

专利编号:Patent US D1091004
申请日期:2024/06/26
下证日期:2025/08/26

专利编号:Patent US D1090154
申请日期:2024/09/30
下证日期:2025/08/26
Door magnetic alarm 门磁报警器

专利编号:Patent US D1090309
申请日期:2025/03/06
下证日期:2025/08/26

专利编号:Patent US D1090153
申请日期:2023/11/03
下证日期:2025/08/26

专利编号:Patent US D1090205
申请日期:2024/02/23
下证日期:2025/08/26
Mobile phone holder 手机架

专利编号:Patent US D1090522
申请日期:2025/03/27
下证日期:2025/08/26
Handheld fan 手持风扇

专利编号:Patent US D1090180
申请日期:2023/03/27
下证日期:2025/08/26

专利编号:Patent US D1090874
申请日期:2024/05/21
下证日期:2025/08/26
Egg carton 鸡蛋盒

专利编号:Patent US D1090277
申请日期:2021/04/28
下证日期:2025/08/26
专利受让人:Huhtamaki Molded Fiber Technology B.V.
Dumbbell 哑铃

专利编号:Patent US D1090741
申请日期:2024/05/21
下证日期:2025/08/26

专利编号:Patent US D1090875
申请日期:2024/05/21
下证日期:2025/08/26
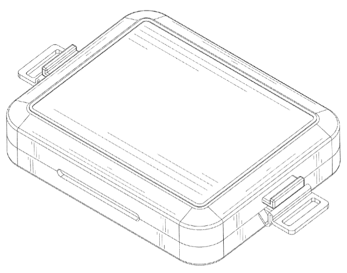
Container tray 集装箱托盘

专利编号:Patent US D1090179
申请日期:2024/01/11
下证日期:2025/08/25

专利编号:Patent US D1090483
申请日期:2023/05/17
下证日期:2025/08/26
Tape dispenser 胶带分配器

专利编号:Patent US D1090696
申请日期:2024/06/24
下证日期:2025/08/26
Hearing aid 助听器

专利编号:Patent US D1090489
申请日期:2024/04/15
下证日期:2025/08/26

专利编号:Patent US D1091007
申请日期:2023/10/31
下证日期:2025/08/26
Paper towel holder 纸巾架

专利编号:Patent US D1090102
申请日期:2023/06/27
下证日期:2025/08/26
Drain basket 排水篮

专利编号:Patent US D1091038
申请日期:2025/03/17
下证日期:2025/08/26
Digital camera 数码相机

专利编号:Patent US D1090672
申请日期:2023/11/20
下证日期:2025/08/26
Portable power supply 便携充电宝

专利编号:Patent US D1090421
申请日期:2024/05/29
下证日期:2025/08/26
以上产品请注意查利文件,如有雷同产品在售,请警惕接下来被投诉甚至被钓鱼律所TRO的潜在风险。


8月26日,美国专利局公布了一批正式生效的外观专利,今天为大家整理了其中21款。关注到这些产品里面其中不乏是亚马逊,TEMU,Ebay,速卖通,沃尔玛等跨境电商平台热卖品。如有在美国市场刊登售卖,各位跨境卖家需警惕后续可能发生的站内专利权利人投诉甚至发起TRO的风险。
Shelf 架子

专利编号:Patent US D1090134
申请日期:2024/07/24
下证日期:2025/08/26
Slow feeder 慢食碗

专利编号:Patent US D1091004
申请日期:2024/06/26
下证日期:2025/08/26

专利编号:Patent US D1090154
申请日期:2024/09/30
下证日期:2025/08/26
Door magnetic alarm 门磁报警器

专利编号:Patent US D1090309
申请日期:2025/03/06
下证日期:2025/08/26

专利编号:Patent US D1090153
申请日期:2023/11/03
下证日期:2025/08/26

专利编号:Patent US D1090205
申请日期:2024/02/23
下证日期:2025/08/26
Mobile phone holder 手机架

专利编号:Patent US D1090522
申请日期:2025/03/27
下证日期:2025/08/26
Handheld fan 手持风扇

专利编号:Patent US D1090180
申请日期:2023/03/27
下证日期:2025/08/26

专利编号:Patent US D1090874
申请日期:2024/05/21
下证日期:2025/08/26
Egg carton 鸡蛋盒

专利编号:Patent US D1090277
申请日期:2021/04/28
下证日期:2025/08/26
专利受让人:Huhtamaki Molded Fiber Technology B.V.
Dumbbell 哑铃

专利编号:Patent US D1090741
申请日期:2024/05/21
下证日期:2025/08/26

专利编号:Patent US D1090875
申请日期:2024/05/21
下证日期:2025/08/26
Container tray 集装箱托盘

专利编号:Patent US D1090179
申请日期:2024/01/11
下证日期:2025/08/25

专利编号:Patent US D1090483
申请日期:2023/05/17
下证日期:2025/08/26
Tape dispenser 胶带分配器

专利编号:Patent US D1090696
申请日期:2024/06/24
下证日期:2025/08/26
Hearing aid 助听器

专利编号:Patent US D1090489
申请日期:2024/04/15
下证日期:2025/08/26

专利编号:Patent US D1091007
申请日期:2023/10/31
下证日期:2025/08/26
Paper towel holder 纸巾架

专利编号:Patent US D1090102
申请日期:2023/06/27
下证日期:2025/08/26
Drain basket 排水篮

专利编号:Patent US D1091038
申请日期:2025/03/17
下证日期:2025/08/26
Digital camera 数码相机

专利编号:Patent US D1090672
申请日期:2023/11/20
下证日期:2025/08/26
Portable power supply 便携充电宝

专利编号:Patent US D1090421
申请日期:2024/05/29
下证日期:2025/08/26
以上产品请注意查利文件,如有雷同产品在售,请警惕接下来被投诉甚至被钓鱼律所TRO的潜在风险。







其他
04-09 周四











