Item 1 of 1
【25-cv-00335】Jug Plug水桶盖专利再维权!跨境卖家速看避雷!
2025-08-04 19:17
想系统掌握亚马逊广告的投放逻辑与底层闭环?
律所:THE
品牌介绍


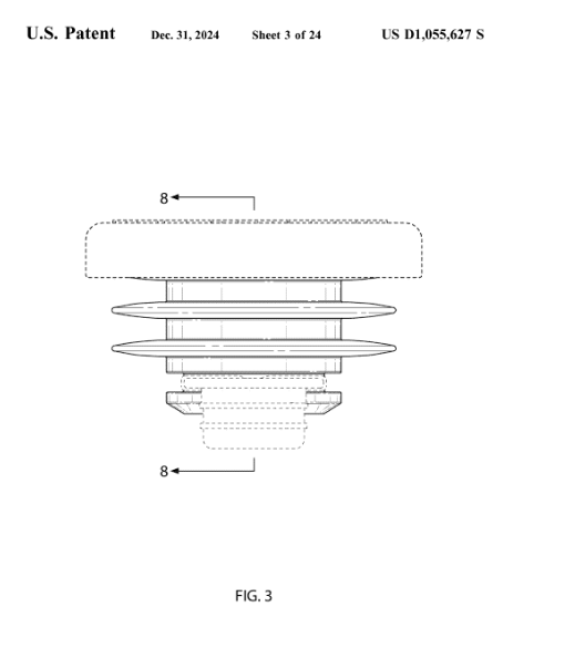
本案涉及三项美国设计专利,分别是:USD977973、USD979404、USD1055627,以下是专利详情,跨境卖家选品时需注意,未经授权切勿上架!

























产品展示


如果美国外观专利被 TRO(临时限制令)认定侵权,可以参考以下建议来应对:
禁令确认阶段(0-48 小时)
: 暂停涉诉产品链接
:立即暂停所有与涉诉产品相关的销售链接,避免继续销售导致侵权损害扩大,进而增加潜在的赔偿责任。 验证专利有效性
:通过专业的跨境侵权排查工具或咨询专业机构,验证原告主张的外观专利权利基础的有效性。例如,仔细比对原告专利图与涉案产品,查看是否存在关键设计差异,以争取抗辩窗口期。 法律响应阶段(3-15 天)
: 委托专业律师
:聘请具备美国联邦法院出庭资质的律师团队。律师能够根据具体情况,从法律角度分析案件走向,制定合理的应对策略,并代表被告与原告进行沟通和谈判。 核查原告权利情况
:重点核查原告是否存在权利滥用嫌疑。例如,确认原告是否未履行《兰哈姆法》第 32 条规定的 “真实使用证据”,若存在此类情况,有可能使 TRO 案件自动撤销。 资金解冻阶段(16-21 天)
: 启动保证金谈判
:与原告或法院进行保证金谈判,尝试通过预存一定比例的争议金额作为担保金,来降低被冻结的账户资金数额,减少资金压力。 优化和解协议
:在律师的指导下,与原告协商和解协议的条款,争取更有利的和解条件。例如,明确和解的范围、后续的产品处理方式以及是否可以继续在一定条件下使用相关设计等。
TikTok、Facebook、谷歌、Twitter广告服务,0门槛抢占全球流量!
极速开户+优化投流+风险保障+效果跟踪,仅需4步,轻松撬动亿万海外流量,让品牌销量翻倍增长!
已成功开通5000+账户

最新热门报告作者标签
Lazada菲律宾电子产品GMV增长11倍,消费者购物更理性AMZ123获悉,近日,Lazada菲律宾公布的双十二大促数据显示,菲律宾消费者的网购行为正在发生明显变化,相比冲动型下单,消费者更重视商品质量、正品保障和长期使用价值。这一变化表明,电商平台在节日购物季中的角色,正从“低价促销渠道”转向承载高价值、强信任型消费的重要场景。从具体数据来看,电子产品成为本次12.12期间表现最突出的品类,成交总额(GMV)较日常水平增长11倍。美妆和家居品类在LazMall(官方认证品牌专区)同样实现显著增长。Lazada指出,越来越多菲律宾家庭通过电商平台购买电子产品,包括智能设备、娱乐系统及日用家电,选购决策更强调耐用性与可靠性。
摩尔多瓦拟对跨境包裹征税,欧洲监管持续收紧AMZ123获悉,近日,欧洲摩尔多瓦政府正推进针对跨境电商包裹的新一轮监管与征税措施,重点对象包括Temu、Shein、AliExpress等电商平台。据了解,摩尔多瓦政府正在与财政部制定新的法律和税收框架,以应对近年来跨境包裹数量激增以及由此带来的安全与公平竞争问题。摩尔多瓦政府表示,当前跨境小额包裹几乎处于“零监管、零税收”的状态,已难以持续。随着跨境电商迅速扩张,政府必须对该领域进行规范调整,不仅涉及经济层面的税收问题,也包括包裹内容的安全监管。政府指出,摩尔多瓦现行制度下,大量低价值商品进入国内市场,却缺乏明确的法律基础和有效审查机制,这在长期内对摩尔多瓦国家经济秩序和消费者安全构成风险。
快时尚冲击本土产业,拉美多国计划调整关税政策AMZ123获悉,近日,随着中国超快时尚平台在拉美市场的迅速扩张,阿根廷、墨西哥、巴西、智利等多国立法机构和政府部门正计划或已推出针对中国超快时尚平台的进口限制和税收措施,试图保护本土纺织与服装产业。在全球范围内,Shein在2022年底至2023年底期间上线的新产品数量达到150万款,而Zara约为4万款、H&M约为2.3万款。市场研究机构Sensor Tower的数据显示,2025年上半年,Temu在拉丁美洲的月活跃用户同比增长143%,达到1.05亿。低价、快速上新和跨境直邮模式,使这些平台在拉美市场迅速占据份额。在阿根廷,Shein的受欢迎程度在近两年迅速攀升,尤其是在政府大幅放松进口管制之后。
扎心了,超7成跨境人今年无年终奖年终奖取消,公司岌岌可危,跨境人:今年太难了
跨境电商的入场券,变了2025年,跨境电商仍在增长,但增长的方式已悄然改写——它不再均匀洒向每一个卖家,而是像一场“定向灌溉”,愈发向头部与合规能力强的卖家集中。平台数据揭示出这一分化:2025年1—9月,亚马逊中国卖家上新数量同比提升近25%;销售额达到200万、500万、800万美元的卖家数量增幅均超过20%;而销售额超过1000万美元的头部卖家,增幅接近30%。这不是简单的强弱分化,而是一次行业的深层迁移:平台正在亲手改写规则,把“可控”定为第一要义。随之而来的,是三条谁都绕不开的趋势——它们共同把跨境电商,从过去的“流量快跑”,推向了如今的“系统耐力赛”。
25-cv-15218,可食用野生花卉海报版权维权进行时,跨境卖家注意TRO冻结风险!本案是keith律所代理Botanical Arts Press LLC 针对其于2025年8月14获得美国版权认证的VA 2-458-669作品发起的版权维权案件
美国圣诞节后预计迎来退货高峰,退货率或将高出35%AMZ123获悉,近日,Adobe最新发布的假日购物数据分析显示,2025年假日季至今,美国消费者的退货行为较去年同期有所放缓,但整体趋势仍需谨慎看待。11月1日至12月12日,线上购物退货量同比下降2.5%;而在黑五周(Cyber Week)结束后的7天内,退货量仅同比下降0.1%,降幅明显收窄。Adobe指出,当前的退货下降并不意味着假日季整体退货压力减轻。按照历史规律,圣诞节后将迎来集中退货高峰。预计12月26日至12月31日期间,退货量将较11月1日至12月12日这一阶段高出25%至35%。根据2024年假日季数据,每8笔退货中就有1笔发生在这一6天内,Adobe预计这一趋势将在今年延续。
11月波兰电商平台流量排名出炉,Allegro重返第一AMZ123获悉,近日,Mediapane最新的l数据显示,波兰电商平台的流量排名在11月出现变化。波兰本土电商平台Allegro以1919万名用户重新夺回波兰电商访问量第一的位置,超过Temu的1910万名用户,结束了此前数月Temu持续领先的局面。对比来看,10月Temu仍明显领先,当月其用户规模达到1976万人,而Allegro为1897万人。Temu自今年3月首次超越Allegro后,连续多月位居榜首,但两者之间的用户差距始终不大。除Allegro和Temu外,11月的第三名为电子产品零售商Media Expert,用户规模为1340万人,较10月的1164万人明显增长。
抢攻新兴蓝海,一批中国卖家已爆单!你眼中的非洲,是什么样的?偏远、贫瘠、基建差……在这些刻板印象的束缚下,过去很长一段时间里,许多卖家对于非洲的认知都停留在“待开发的潜力股”上,因此鲜少有人在攻略新城池时考虑到非洲电商市场。然而士别三日,当刮目相看。如今去到非洲国家,这样的场景已十分普遍:尼日利亚拉各斯的街头,电商配送车穿梭在车流中,装载着从中国跨境而来的电子产品与时尚服饰;在肯尼亚内罗毕的社区,年轻人正在Jumia的橙色自提点前排起长队,领取他们通过手机订购的中国商品。 这片被误解的电商新大陆,正在成为藏金纳银的财富洼地。
新入口曝光!亚马逊广告后台新增 Prompts(提示词)功能今日分享「结合数据高效优化老品广告」
亚马逊如何结合竞价,优化广告位置表现在亚马逊平台的标品运营中,流量结构的精准布局是决定 ASIN 成长效率与成熟期收益的核心要素之一。标品(如标准化 3C 配件、家居日用品等)具有用户决策链路短、搜索意图明确的特征,其流量资源的分配需高度聚焦于高转化曝光位。本文将系统解析适用于标品成长 / 成熟期 ASIN 的流量结构”,明确其逻辑框架、落地步骤与效果验证,为新人卖家提供可复用的运营范式。一、模式 1 的核心定义与适配场景模式 1 是针对标品成长 / 成熟期 ASIN设计的流量结构策略,其核心特征为 “三角形流量布局”—— 即通过资源倾斜,将大部分流量集中于 “搜索结果首页首位” 这一核心曝光位。
2026,亚马逊卖家生存指南面对亚马逊的透明化转型,卖家与其焦虑抱怨,不如主动调整策略,适应新的游戏规则:一、摒弃价格投机,坚守稳定定价告别 "今日涨价、明日打折" 的短视操作,将定价锚定在市场均价附近,保持长期稳定性。促销活动需提前做好长远规划,避免频繁波动的价格曲线被 Rufus 标记为 "不诚信"。稳定的价格不仅能获得算法青睐,更能积累品牌信任,形成长期复购。二、用自然语言重构 Listing 逻辑过去写 Listing 是为了给 A9 算法埋关键词,现在则要适配 Rufus 的对话式搜索逻辑。
25年健康品牌TOP10榜单出炉,功能型健康产品爆火AMZ123获悉,近日,AI 市场研究平台 Spate 基于 Google、TikTok 和 Instagram 的搜索与互动数据,对健康品牌的年度热度变化进行了统计,整理出 2025 年最受关注、同比增长最快的十大健康品牌。随着“长寿”“功能性健康”等议题持续升温,线上健康消费品牌的关注度在2025年显著提升。这些品牌主要集中在营养补充、功能性食品、运动营养和情绪健康等领域,反映出消费者在压力管理、肠道健康、能量补充和整体健康管理方面的需求持续扩大。数据显示,2025 年热度排名第一的品牌为 Goli,其年度“人气指数”增长达 15 亿次,同比提升 217%。
美国圣诞节后预计迎来退货高峰,退货率或将高出35%AMZ123获悉,近日,Adobe最新发布的假日购物数据分析显示,2025年假日季至今,美国消费者的退货行为较去年同期有所放缓,但整体趋势仍需谨慎看待。11月1日至12月12日,线上购物退货量同比下降2.5%;而在黑五周(Cyber Week)结束后的7天内,退货量仅同比下降0.1%,降幅明显收窄。Adobe指出,当前的退货下降并不意味着假日季整体退货压力减轻。按照历史规律,圣诞节后将迎来集中退货高峰。预计12月26日至12月31日期间,退货量将较11月1日至12月12日这一阶段高出25%至35%。根据2024年假日季数据,每8笔退货中就有1笔发生在这一6天内,Adobe预计这一趋势将在今年延续。
德国对Temu展开反垄断调查,定价机制受关注AMZ123获悉,近日,据外媒报道,德国联邦卡特尔局(Bundeskartellamt)已正式对Temu德国母公司Whaleco Technology Limited启动反垄断调查,重点审查其在平台运营中是否存在限制卖家定价自由的行为。该公司注册地位于爱尔兰都柏林,此次调查源于德国零售协会(HDE)于今年4月向监管机构提交的正式投诉。调查核心为Temu是否违反德国及欧盟层面的“卡特尔禁令”。相关法律明确禁止具有竞争限制效果的协议或行为,若构成违法,最高可处以企业年度营业额10%的高额罚款。德国监管机构怀疑,Temu通过其卖家合作条款,对入驻卖家的价格制定施加不当限制,从而削弱市场竞争。
亚马逊走9810退税模式的灵魂拷问!亚马逊走9810退税模式的灵魂拷问!
《亚马逊生活日用品类攻略手册》PDF下载作为日常生活不可或缺的重要组成,生活百货品类覆盖范围广泛,包括家居用品、家具、车用配件、户外装备、园艺
工具、运动器材、家装用品、厨房、玩具以及宠物用品等众多领域。这类产品不仅是满足基本生活所需,更体现了人们对美好生活的向往和追求。
《掘金泰国-市场洞察与战略机遇报告2025》PDF下载随着全球经济一体化的加速,泰国作为东盟的核心枢纽,凭借其独特的地缘优势庞大的消费市场以及持续优化的营商环境,成为众多企业战略布局的重要目标。本报告深入剖析泰国市场的政策红利、消费趋势、产业机遇以及合规挑战,旨在为有志于开拓泰国市场的中国企业提供行动指南,助力企业在东盟这片充满活力的土地上把握机遇、应对挑战、!实现可持续发展。
《2025欧美假日购物季营销指南》PDF下载2025年美国假日购物季零售额预计同比仅增长1.2%,总销售额约1.359万亿美元,虽仍保持正增长,但为2009年以来最低增速,市场正在步入低增长的新常态。
《2025年跨境电商东南亚市场进入战略白皮书》PDF下载东南亚电商,正以惊人的速度复刻中国电商高速增长的黄金时代。2024年东南亚电商GMV达到1284亿美元,短短5年涨幅超过3倍。全球电商2024年GMV增幅最快的十大市场中,东南亚独占四席。东南亚是拥有约6.7亿人口的广阔市场,在现今全球关税的不确定性大格局下,因其电商基建完善,利好的贸易政策,和更高的年轻人口占比,成为跨境卖家生意拓张焦点之一。
《2025年TikTok Shop玩具品类行业报告(欧美站)》PDF下载分析TikTok Shop美国市场、英国市场、西班牙市场、墨西哥市场等主流市场点短视频及直播电商数据,选取TikTok与玩具爱好品类相关的内容进行分析报告。
《2025 洗护品类趋势与创新洞察》PDF下载本报告独特价值:将消费者的“行为结果”据),揭示消费者深层心理动机、并能精准预判未来增长机会
《亚马逊双轨增长指南》PDF下载亚马逊以“以客户为中心”为核心理念,通过整合B2B与B2C的全渠道服务,帮助卖家实现“一店双拓”-- 一次上架,同步触达个人消费者与企业买家,获得双重收益。同时,基于Direct to Buyer(直接触达买家)的模式,更能有效减少中间环节,提升利润空间与品牌掌控力。
《亚马逊全球线上商采趋势与区域洞察》PDF下载随着全球企业数字化转型的深入推进,B2B商采有望成为下一个万亿级别的蓝海市场然而,中国卖家在开拓海外企业商采市场时往往面临着一个关键挑战:难以准确把握海外企业买家的商采行为和决策模式。这种认知偏差不仅影响了产品开发方向,也制约了市场拓展策略的制定。

【25-cv-00335】Jug Plug水桶盖专利再维权!跨境卖家速看避雷!
捷胤知识产权资讯栏
2025-08-04 19:17
1426
律所:THE
品牌介绍


本案涉及三项美国设计专利,分别是:USD977973、USD979404、USD1055627,以下是专利详情,跨境卖家选品时需注意,未经授权切勿上架!

























产品展示


如果美国外观专利被 TRO(临时限制令)认定侵权,可以参考以下建议来应对:
禁令确认阶段(0-48 小时)
: 暂停涉诉产品链接
:立即暂停所有与涉诉产品相关的销售链接,避免继续销售导致侵权损害扩大,进而增加潜在的赔偿责任。 验证专利有效性
:通过专业的跨境侵权排查工具或咨询专业机构,验证原告主张的外观专利权利基础的有效性。例如,仔细比对原告专利图与涉案产品,查看是否存在关键设计差异,以争取抗辩窗口期。 法律响应阶段(3-15 天)
: 委托专业律师
:聘请具备美国联邦法院出庭资质的律师团队。律师能够根据具体情况,从法律角度分析案件走向,制定合理的应对策略,并代表被告与原告进行沟通和谈判。 核查原告权利情况
:重点核查原告是否存在权利滥用嫌疑。例如,确认原告是否未履行《兰哈姆法》第 32 条规定的 “真实使用证据”,若存在此类情况,有可能使 TRO 案件自动撤销。 资金解冻阶段(16-21 天)
: 启动保证金谈判
:与原告或法院进行保证金谈判,尝试通过预存一定比例的争议金额作为担保金,来降低被冻结的账户资金数额,减少资金压力。 优化和解协议
:在律师的指导下,与原告协商和解协议的条款,争取更有利的和解条件。例如,明确和解的范围、后续的产品处理方式以及是否可以继续在一定条件下使用相关设计等。
1







广东
12-18 周四











