Item 1 of 1
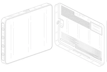
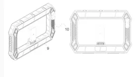
【美国外观专利侵权预警】今日品类:补光灯/Fill light
2026-01-13 09:30
AI设计/3D打印/欧洲市场实战拆解,点击报名










在这里需要提醒同样销售类似产品的卖家,定期排查商品特征,警惕侵权风险!注意规避侵权特征,及时下架侵权产品
TikTok、Facebook、谷歌、Twitter广告服务,0门槛抢占全球流量!
极速开户+优化投流+风险保障+效果跟踪,仅需4步,轻松撬动亿万海外流量,让品牌销量翻倍增长!
已成功开通5000+账户

最新热门报告作者标签
沙特央行向支付公司Lean发放首张开放银行牌照Fin123获悉,近日,沙特中央银行Saudi Central Bank(SAMA)宣布,正式向金融科技公司颁发开放银行服务许可证(Major Payment Institution licence),这标志着开放银行从此前的监管沙盒测试阶段,进入到正式持牌运营阶段。在这一新框架下,中东和北非地区支付基础设施公司Lean Technologies获得首张“主要支付机构(MPI)”牌照,成为沙特首家获得许可的开放银行服务提供商。
巴西电商支出到2036年将增长104%,新兴市场加速崛起AMZ123获悉,近日,由EBANX与World Data Lab联合发布、收录于《2026超越国界》报告的数据显示,巴西电商在整体消费结构中的占比持续提升。到2036年,巴西消费者线上支出预计增长104%,明显高于整体消费(包含线上与线下)66%的增速。目前,巴西消费者已将11.5%的消费支出用于电商,这一比例已经高于多个发达国家,包括美国(9.1%)、荷兰(9%)、法国(6.9%)、德国(6.4%)和意大利(5.4%)。未来十年,巴西消费者线上支出占比预计将进一步提升至15.2%。类似趋势也出现在印度、印度尼西亚和尼日利亚等新兴市场,这些国家的电商增长速度整体快于发达市场。
25年韩国线上购物报告发布:支出创1880亿美元新纪录AMZ123获悉,近日,韩国国家数据部门发布《2025年12月及全年在线购物报告》。2025年,韩国线上消费规模继续扩大,全年在线购物交易额达到2720.398万亿韩元(约1880亿美元),同比增长4.9%,创下历史新高。报告显示,移动端已成为推动线上消费增长的核心动力。2025年移动购物交易额达到2111.448万亿韩元,同比增长6.5%,同样创下历史最高水平。12月在线购物交易额为24.2904万亿韩元,同比增长6.2%,其中移动端交易额为18.7991万亿韩元,占比达到77.4%,与上年同期持平。12月增长主要来自食品服务(+9.1%)、食品饮料(+10.2%)以及汽车及汽车用品(+66.4%)。
卖家必看!2026出海全链路行动指南在全球贸易格局深度重构、跨境电商从规模扩张转向高质量发展的今天,中国品牌出海已迈入全新阶段:精细化运营、品牌化建设、本地化深耕、生态化协同成为出海企业的核心竞争力。面对合规门槛提升、消费者需求升级、市场竞争加剧的多重挑战,单打独斗的出海模式早已行不通,与专业生态伙伴一起价值拼合,成为品牌高效破局、降低风险、实现可持续增长的必然选择。为此,卧兔WotoHub联合YinoLink易诺、店匠Shoplazza、连连、云途物流五大出海生态领军者,重磅发布《2026品牌出海行动指南》。
Lazada印尼斋月大促销售增长3.5倍,多品类销售大涨AMZ123获悉,近日,根据Lazada披露的数据,在“3.3斋月大促”和“THR促销”等一系列活动带动下,LazMall印尼站整体销售额较平日增长3.5倍,这一增长不仅来自订单数量提升,也受到单笔订单金额上升的推动。从消费节奏来看,购物高峰出现在斋月第二周,正值印尼消费者开始领取开斋节奖金(THR)阶段,消费能力释放带动整体交易规模扩大。从品类结构来看,多个核心品类均实现大幅增长。其中,时尚类表现最为突出,销售额较平日增长5倍,主要由男装、女装、童装及运动服饰等品类订单金额提升带动。家居生活用品类增长4.5倍;电子产品类同样表现强劲,销售额增长4倍,智能手机、平板电脑以及电视等家电产品需求明显上升。
Etsy新增卖家数据洞察工具,提升运营效率AMZ123获悉,近日,Etsy对卖家工具进行了一系列更新,这些调整围绕商品上架、店铺管理、订单处理以及数据洞察等多个环节,重点提升数据分析能力和日常运营效率,旨在帮助卖家更高效地经营决策。在商品管理方面,Etsy对商品上架页面进行了优化,布局更加清晰,并通过快捷入口帮助卖家更快找到所需字段。同时,系统会基于卖家过往信息自动填充部分内容,如物流方案和退货政策,以节省操作时间。Etsy还取消了“材料标签”,相关信息已包含在属性字段中。此外,商品链接在首次发布后将保持固定,有助于平台外搜索引擎更好识别和推荐商品,从而提升曝光机会。
霍尔木兹海峡突传大消息!伊朗拟参照苏伊士运河实施收费制度,特朗普再放狠话...全球航运、能源运输“咽喉”再起波澜。当地时间3月30日,伊朗方面释放重磅信号——正考虑对通过霍尔木兹海峡的船只实施准入许可与收费制度,模式或参照苏伊士运河等国际水道。这一动向叠加当前中东紧张局势,引发航运、能源及金融市场高度关注。美国总统特朗普再次释放强硬的信号。他在社交媒体上表示,美伊之间的磋商“已取得重大进展”,但若短期内无法达成协议且海峡未恢复正常通航,美方可能对伊朗关键基础设施实施打击,包括发电站、油井以及重要能源枢纽哈尔克岛等。霍尔木兹海峡局势近日出现新的变化。
Shopee三站点国际快速物流不再支持泉州仓发货;触犯这三点强制暂停直播,越南新规即将实施;LazMall大促销售额增长3.5倍01 Shopee三站点国际快速物流不再支持泉州仓发货商品据 Shopee 消息,为了给您持续提供更优质的物流服务和资源,自 2026 年 4 月 1 日(北京时间)起,Shopee 菲律宾、马来西亚和台湾站点国际快速(N日达)物流渠道发运将不再接收由泉州仓(QZWH)发货的商品。2026 年 4 月 1 日前生成的相关订单仍将正常完成派送,请您放心。
世贸组织电商关税禁令谈判陷入僵局AMZ123获悉,近日,据外媒报道,World Trade Organization(世贸组织)第14届部长级会议(MC14)围绕是否延长跨境电商关税禁令展开激烈讨论,但成员之间始终存在分歧。该禁令自1998年实施以来,要求各成员不对电商(如数字下载和在线服务)征收关税,并在过去近30年中每两年延长一次。在本次会议中,多方一度考虑将该禁令延长五年,甚至有草案提出将期限延长至2031年6月30日。然而,截至会议结束,各方仍未达成最终一致意见。会议在喀麦隆首都雅温得举行,为期四天,最终未能形成正式协议或部长宣言。
深圳制造又出爆款,电热冰淇淋勺在TikTok爆单又一国产小家电火遍海外,TikTok卖家已入账数百万
亚马逊生意,加速向少数卖家集中“强者愈强、富者愈富”的马太效应,正在亚马逊美国站疯狂上演。来自Marketplace Pulse的最新数据显示,截至2026年2月,在亚马逊美国站上,仅7760名的头部卖家就包揽了平台第三方总GMV的50%,而这部分卖家占活跃卖家总数的比例仅为1.6%。对比三年前,这项数据呈现出的趋势更为显著:2023年贡献50%份额的卖家尚有15000名,不到三年时间,撑起亚马逊半壁江山的卖家数量几乎锐减了一半,财富集中度正急剧上升。属于草根卖家的野蛮生长时代,正在彻底宣告落幕。中国卖家们在性价比的战场上大打出手,在品牌化的舞台上却有些力不从心。
趣味开瓶器爆火,靠情绪价值在TikTok拿下百万GMV近年来,从圣诞树造型的厨房隔热垫,马卡龙配色的高颜值五金工具,再到能在浴室K歌的麦克风花洒,不难看出这些TikTok爆品的共性在于,跳出了 “纯工具、纯实用” 的刻板框架,转而以颜值、趣味、娱乐社交属性等为突破口,给人耳目一新的体验感。近期在TikTok美区,又一司空见惯的厨房用品成为被“选中的孩子”,凭借赋能后的趣味技能点在酒桌上开辟出一片“整活修罗场”。01TikTok爆款开瓶器TT123观察到,在一周的TikTok美区视频带货热销榜,新入围了一款炒热酒桌氛围的神器,发令枪开瓶器。近一周时间, 这款产品在一则播放突破420万+视频的拉动下,成为炙手可热的单品。
欧盟拟对跨境电商包裹加收新处理费,最迟11月实施AMZ123获悉,近日,欧洲议会与欧盟理事会就欧盟关税法改革达成初步协议,这是自1968年以来最重要的一次改革。该改革重点围绕电商平台责任、包裹收费机制以及海关系统数字化等方面展开,旨在加强对来自欧盟以外国家商品的监管,提升市场公平性与安全性。根据协议,未来从非欧盟国家直接寄送至欧洲消费者的商品,将新增一项“处理费用”,用于覆盖不断增长的小额包裹带来的额外海关处理成本。该费用将由负责缴纳关税的同一主体承担,以避免成本转嫁给消费者。具体收费标准将由欧盟委员会制定,并每两年进行一次评估。成员国需在相关信息系统上线后开始征收,最迟不晚于2026年11月1日实施。
境外主体也难逃!亚马逊Q4税务数据穿透公司外壳,直指中国卖家!注册地不再是“护身符”,税务合规已成跨境生存底线!
26年美国复活节消费将达249亿美元,创历史新高AMZ123获悉,近日,根据Adobe的预测,随着4月5日美国复活节临近,2026年3月28日至29日期间,线上与节日相关商品的消费额将较2026年以来的平均水平增长255%,明显高于2025年同期132%的增幅。从具体品类来看,节日相关商品需求大幅提升。塑料彩蛋的线上支出预计增长1030%(2025年为587%),复活节篮子增长870%(2025年为553%),染蛋用品增长810%(2025年为388%),节日装饰增长645%(2025年为395%),毛绒兔增长390%(2025年为257%)。
2026年亚马逊权重逻辑巨变:别再堆关键词了,AI正在“冷落”你的Listing如果你的运营思路还停留在“堆砌大词、狂烧广告”,那么你的链接很可能正在被系统悄悄降权。
《TikTok Shop 2025年度报告》PDF下载2025年,TikTok Shop进一步加快扩张步伐,在巩固欧美成熟市场的同时,积极开拓新兴市场,先后上线德国、意大利、法国、日本等站点。此举不仅为平台带来新增量,也体现出其多元化市场战略的初步成效,以分散地缘政治风险。
《Shopee2025印尼站点X 汽车摩托品类专题》PDF下载印尼当地汽车保有量并不高,每一千人的机动车保有量仅96人,未来可提升的空间仍大。空间参照系可以看泰国和马来,2024年泰国汽车保有量为322辆/千人,马来西亚为531辆/千人。
《2026年Shopee运动户外类目自行车爆品分享》PDF下载巴西骑行爱好群体广泛,但平台上热销品呈现出的国际大牌极少,推测可能原因是国际品牌可能主要通过线下经销或自行渠道销售,未深度参与Shopee等本土电商。因此巴西用户在平台上几乎接触不到这些高端品牌产品。平台上巴西用户更倾向购买本土品牌的自行车,可能出于价格实惠和售后便利考虑。
2025年TikTok生态发展白皮书2025年,全球内容电商迈入深度跃迁的新周期。TikTokShop正以前所未有的速度拓展市场版图,完成从高速增长向高质量增长的跃迁。在这一进程中,生态结构重构、参与者多元化、全球政策协同等因素叠加,构成内容电商演进的核心变量。
《2026美妆健康与保健创新报告》PDF下载每年,我们都会分析美妆与个护以及健康与家居类目的动态变化。但2026 年呈现了一个意外的新现象:这两个类目不再孤立运营。美妆和健康正与食品杂货融合,形成由配方创新、成分病毒式传播和消费者行为演变所驱动的强大三方生态系统。
《中国宠物食品行业出海国别机会洞察报告》PDF下载本报告旨在深入分析中国宠物食品的全球出口机遇与国别差异,通过对行业发展现状、出口趋势及各国政策环境的研究,揭示中国宠物食品企业在国际市场中的竞争优势与面临的潜在挑战。
《市场洞察:2025中国汽车出海英国市场动态追踪》PDF下载根据英国汽车制造商与贸易商协会数据显示,2025年1-9月中国汽车出海英国累计销量142,684辆,同比增长91%,远超英国整体市场4.2%增速。中国汽车出海英国市场份额从年初5%升至9月12.4%,成为英国第二大汽车来源国,仅次于德国。
《2026取暖电器行业简析报告》PDF下载系统梳理了行业发展脉络、市场格局与未来趋势。取暖电器按能源类型与产品形态可分为电取暖、燃气取暖、辅助本报告为 2026 年中国取暖电器行业专业简析,集成类三大核心品类,行业发展历经萌芽起步、快速成长、加速升级、高质量发展四大阶段,完成了从单一功能向智能化、节能化、场景化的全面演进。

【美国外观专利侵权预警】今日品类:补光灯/Fill light
小牛达人谈跨境防侵权
2026-01-13 09:30
847










在这里需要提醒同样销售类似产品的卖家,定期排查商品特征,警惕侵权风险!注意规避侵权特征,及时下架侵权产品







其他
04-09 周四











