Moki Door Step 来不及了先上车!
2020-09-03 14:29

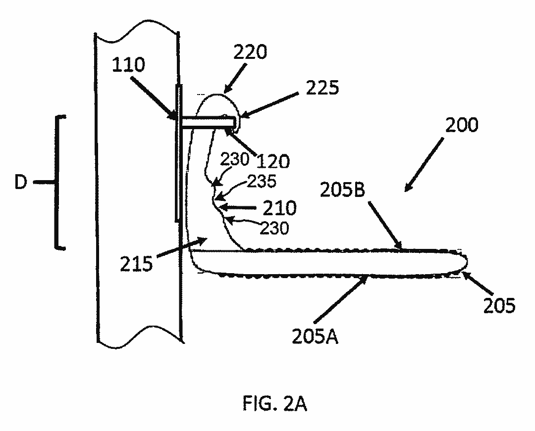
Rightline Gear Moki Door Step可以轻松进入车辆的车顶。只需将它钩在每个车门的U形门闩上即可。Moki Door Step可以用来装载货物如:箱子;独木舟,皮艇和SUP;滑雪板和单板滑雪;又或者自行车;甚至用它来帮助清洗车辆的车顶。Moki Door Step为双脚提供了舒适的平台,并允许平衡的站立姿势,避免踩脏汽车座椅,并且无需脚凳或梯子。对于一些高度较大的车辆,Moki Door Step轻而易举地帮助你上下车!



多国注册发明专利:US20180194290;AU2018205352;CA3049121;EP3565740 ;WO2018129504

该专利描述了可移除地联接至车辆的门闩元件(例如,U形撞针元件)的踏板装置。踏板装置可包括钩元件,该钩元件使踏板装置能够从车门井中的门闩元件悬挂。踏板装置还可以能够延伸穿过门闩元件,使得踏板装置可以在竖直位置上联接至门闩元件。一种踏板装置可包括一个或多个踏板结构。
目前已收到投诉,所有站点均有侵权风险!
最新热门报告作者标签
沃尔玛推出新供应链策略“预付整合”,提升配送效率沃尔玛推出一项新的供应链策略“Prepaid Consolidation(预付整合)”,旨在通过简化供应商入库物流流程,加快商品从供应端到门店及消费者的流转速度,同时降低整体运营成本,并进一步提升库存稳定性与服务效率。
eBay英国站将实施P&A品类30天免费退货及运费补贴2026年6月8日起,eBay将在英国站点对符合条件的Parts & Accessories(P&A)商品实施新规,符合要求的商品将必须提供至少30天的免费退货服务和50%退货运费补贴机制。
2个月营收300万美元,TikTok直播拍卖正批量造富撕开年中流量困局,TikTok开卷直播拍卖
Allegro进军乌克兰市场波兰电商平台Allegro正计划进入乌克兰市场,并在分阶段推进其跨境电商布局。该项目将首先在2026年6月启动第一阶段。
多类目利润缩水,卖家打法大变天跨境电商行业,近年来正在陷入“规模向上、利润向下”的怪圈。根据Marketplace Pulse的数据,2026年受调的年收入超20亿美元的181家电商平台卖家中,有高达69%的卖家利润表现不佳,其中有38.1%的卖家收入、利润双双下滑,同时还有30.9%的卖家收入虽有所增长,但利润率却停滞不前、甚至有所下降。图源:Marketplace Pulse在行业整体利润走低的背景下,亚马逊美国站多个核心类目的卖家也都感受到了经营压力。从家居厨房到办公用品,再到玩具品类,“盈利难”已成为诸多跨境卖家面临的共同挑战。
卖家达2.1万,TikTok Shop成西班牙第16大电商平台数据显示,在2025年11月至2026年4月期间,TikTok Shop平台累计吸引约21,000家本地卖家入驻。
亚马逊品牌推广,如何创建个性化图片素材亚马逊搜索结果页的注意力竞争已进入毫秒级,用户单次浏览搜索结果的平均停留时间不足3秒。在这一极短时间内,文字信息几乎无法被有效接收,图片素材成为决定用户是否点击广告的唯一决定性因素。多数卖家仍依赖产品白底图作为广告素材,导致广告在同质化的搜索结果中被淹没,点击率长期低于行业平均水平。本文基于亚马逊平台品牌推广广告的投放数据,从视觉设计、内容构建、优化三个维度,提供可直接复用的个性化图片素材创建方法,帮助卖家系统性提升广告点击率与销售额。一、图片素材对广告效果的决定性影响亚马逊品牌推广广告的展示位置集中在搜索结果页顶部与中部,同一页面通常会同时展示4-6组广告素材。
Etsy将实施儿童产品新规,新增多项禁售与安全要求Etsy最新的“儿童与婴幼儿产品政策”将于2026年6月2日正式生效。该政策旨在进一步强化平台对儿童相关商品的安全管理,并明确部分儿童产品的禁售范围。
流量更贵、转化更难,亚马逊卖家2026全面承压Jungle Scout发布了《2026年亚马逊基准测试报告》,报告系统性分析了2024年1月1日至2025年12月31日亚马逊美国站整体市场表现与2026年竞争环境,重点围绕美妆个护等品类洞察、竞争格局、广告与转化表现等维度展开。
亚马逊推出新品推荐标签,帮助卖家获取更多曝光亚马逊将为平台上的部分新品自动添加“New Arrival(新品到货)”或“Notable Arrival(值得关注的新品)”徽章,以帮助消费者更容易发现新上架商品,同时提升新品的曝光度和前期销量表现。
靠“站外 2.0”,亚马逊亿级大卖实现百万美金增量!ACOS狂飙之下,出海大卖为何转向站外联盟?
2026亚马逊Prime Day定档6月,最后27天运营冲刺手册Prime Day仅剩27天,促销规则和费用模式全面翻新。本文拆解促销优选、广告分层、库存风控和利润守护四大模块,助你精算每一分钱。
28天卖了50万,中式菜刀在TikTok美区太好赚了!中国菜刀在TikTok火了,跨境卖家靠其入账上百万
存跌落风险,美国CPSC紧急召回亚马逊在售儿童餐椅美国消费品安全委员会宣布召回PandaEar品牌两款便携式挂桌儿童餐椅,原因是产品存在严重跌落风险,可能导致婴儿受伤甚至死亡。此次召回涉及约9700件产品,召回日期为2026年5月21日。
运营风向标!亚马逊7大核心品类洞察本文章为Jungle Scout《2026年亚马逊基准测试报告》下半部分,主要内容为2024年1月1日至2025年12月31日亚马逊美国站,厨房、庭院、办公用品、宠物用品、运动户外、家装改进、玩具与游戏七个核心品类亚马逊市场分析;2026年卖家运营建议。
“多功能”护肤彩妆受欢迎,85%消费者开始关注成分GlobalData发布的报告显示,将护肤与彩妆结合的“混合美妆”正在全球范围内快速升温。随着消费者开始追求更简单、更高效的个人护理流程,多功能产品正在成为越来越多消费者的新选择。
AMZ123《全球电商市场报告——俄罗斯篇》 全球格局也在分化。新兴市场依靠渗透率提升释放空间,成熟市场则在消费习惯与渠道格局的更迭中重塑增长逻辑。社交化购物、价格敏感度提升、平台多元化交织,使用户行为与市场秩序进入重构周期。
《美国电商领域美妆行业现状》PDF下载“2025 年是护肤品风靡市场的一年。从去角质产品、精华液到红光美妆仪和韩式美妆热潮,所有人都热衷于追求有光泽的肌肤。消费者希望拥有真正有效的产品,而且喜欢在购买前先试用迷你装或套装。与此同时,A 正在悄然主导一切。
《韩国电商市场数据月报》PDF下载韩国拥有全球第五大电子商务市场,2024年电商销售额超过千亿美元,预计到2026年将超过1600亿美元。这种快速增长主要得益于韩国高达97%的互联网普及率和对5G技术的早期采用。韩国消费者的购物习惯正迅速向线上转移,2023年线上购买已占总销售额的50.5%。此外,中韩自由贸易协定的签订进一步促进了两国之间的贸易合作,降低了关税壁垒,为中国品牌出海进入韩国市场创造了有利条件。
《出海中东指南》PDF下载2025年开年以来,美国关税政策持续收紧,中美贸易关系的不确定性加剧,依赖美国市场的中国跨境卖家面临利润压缩与合规风险的双重挑战。在中美贸易摩擦持续深化的背景下,中东电商市场正成为跨境卖家多元化布局的战略要地。
《TikTok Shop 2024-2025西班牙站点报告》PDF下载在全球社交电商高速发展的时代浪潮中,TikTok已然崛起为品牌与消费者深度互动的重要阵地。TikTok不仅重塑了用户的消费习惯,更开创了"发现式购物"的新模式,为品牌营销带来了前所未有的机遇与挑战
《2026全球女士内衣市场洞察白皮书》PDF下载全球女士内衣市场正经历从基础功能型向场景驱动型的深刻变革。消费者需求持续向舒适性、功能细分及情感价值融合演变,推动品类创新与市场扩容。传统内衣巨头增长承压,以科技创新为核心的新兴品牌快速崛起,行业竞争格局加速重构。供应链向区域化与敏捷化调整,舒适革新、工艺创新、智能应用与可持续发展成为产品升级与品牌差异化的关键路径。
《TikTok Shop 2026 东南亚跨境出海经营白皮书2.0》PDF下载在全球电商市场,TikTokShop正展现出强劲的发展活力。依托多场域电商经营模式,众多商家实现了业务的快速增长。白皮书系列依托于系统性梳理成功商家的实践经验与运营策略,希望助力更多商家高效入局,实现可持续发展。
《美客多墨西哥市场趋势洞察》PDF下载美客多远不止是一个电商平台。这里映射着数百万墨西哥消费者的潮流趋势、喜好变化和日常消费选择。

品类交流群
宠物品类交流群加入

扫码进群
家居品类交流群加入

扫码进群
母婴用品交流群加入

扫码进群
品类交流群
加入
跨境资料
亚马逊运营干货包加入

扫码进群
TikTok运营干货包加入

扫码进群
跨境电商行业报告加入

扫码进群
跨境资料
加入
官方社区
跨境电商交流群加入

扫码进群
亚马逊卖家交流群加入

扫码进群
独立站卖家交流群加入

扫码进群
官方社区
加入

立即扫码咨询

立即扫码咨询




















