精选10款1月13日最新下证常见产品美国外观专利,警惕侵权!
|AI实战大佬手把手教你用Agent重构跨境运营全链路,点击报名
一、专利名称:Speaker(音箱)
专利证书编号:D1109125
专利申请日期:2025-01-20
专利下证日期:2026-01-13

二、专利名称:Cat litter scoop(猫砂铲)
专利证书编号:D1109457
专利申请日期:2024-12-13
专利下证日期:2026-01-13

三、专利名称:Headphone(耳机)
专利证书编号:D1109126
专利申请日期:2023-09-22
专利下证日期:2026-01-13

四、专利名称: Massage chair(按摩椅)
专利证书编号:D1108863
专利申请日期:2023-06-07
专利下证日期:2026-01-13

五、专利名称:Folding table(折叠桌)
专利证书编号:D1108835
专利申请日期:2025-01-14
专利下证日期:2026-01-13

六、专利名称:Wagon cart(板车)
专利证书编号:D1109481
专利申请日期:2025-01-14
专利下证日期:2026-01-13

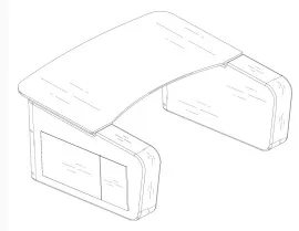
七、专利名称:Lap desk(床上桌)
专利证书编号:D1108834
专利申请日期:2024-07-25
专利下证日期:2026-01-13

八、专利名称:Storage rack(储物架)
专利证书编号:D1108860
专利申请日期:2024-07-22
专利下证日期:2026-01-13

九、专利名称:Motion sensor lamp(运动感应灯)
专利证书编号:D1109403
专利申请日期:2024-06-13
专利下证日期:2026-01-13

十、专利名称:Pillow(枕头)
专利证书编号:D1108847
专利申请日期:2024-03-22
专利下证日期:2026-01-13

在这里需要提醒同样销售类似产品的卖家,定期排查商品特征,警惕侵权风险!注意规避侵权特征,及时下架侵权产品


一、专利名称:Speaker(音箱)
专利证书编号:D1109125
专利申请日期:2025-01-20
专利下证日期:2026-01-13

二、专利名称:Cat litter scoop(猫砂铲)
专利证书编号:D1109457
专利申请日期:2024-12-13
专利下证日期:2026-01-13

三、专利名称:Headphone(耳机)
专利证书编号:D1109126
专利申请日期:2023-09-22
专利下证日期:2026-01-13

四、专利名称: Massage chair(按摩椅)
专利证书编号:D1108863
专利申请日期:2023-06-07
专利下证日期:2026-01-13

五、专利名称:Folding table(折叠桌)
专利证书编号:D1108835
专利申请日期:2025-01-14
专利下证日期:2026-01-13

六、专利名称:Wagon cart(板车)
专利证书编号:D1109481
专利申请日期:2025-01-14
专利下证日期:2026-01-13

七、专利名称:Lap desk(床上桌)
专利证书编号:D1108834
专利申请日期:2024-07-25
专利下证日期:2026-01-13

八、专利名称:Storage rack(储物架)
专利证书编号:D1108860
专利申请日期:2024-07-22
专利下证日期:2026-01-13

九、专利名称:Motion sensor lamp(运动感应灯)
专利证书编号:D1109403
专利申请日期:2024-06-13
专利下证日期:2026-01-13

十、专利名称:Pillow(枕头)
专利证书编号:D1108847
专利申请日期:2024-03-22
专利下证日期:2026-01-13

在这里需要提醒同样销售类似产品的卖家,定期排查商品特征,警惕侵权风险!注意规避侵权特征,及时下架侵权产品








福建
05-14 周四











