这四款众筹产品的侵权风险都不大!?
侵权哥一直认为众筹网是个好东西,它能帮助那些普通的创业者设计师实现梦想,并且能使这些优秀的创意被更多人知悉。
这些创意有时也能够为我们的工作提供一些新的思路。
01
SOAPBOTTLE

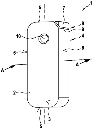
SOAPBOTTLE是一款洗护产品、它含有100毫升由天然成分制成的柔软滋养沐浴露。

液体内容物用完后,可以将空容器用作洗手液,并随时间“洗掉”。可以完全避免浪费。也就是说SOAPBOTTLE这个外壳相当于一个肥皂。
通过将产品变成包装,形成了无包装洗护用品的概念,从而为液体护理产品设计了可持续的肥皂瓶。
与任何其他包装不同,SOAPBOTTLE由肥皂配方制成,可以像洗手皂一样完全使用,并且随着时间的推移会与废水一起“洗掉”。最后,它会在几天之内在污水处理厂中分解,从而 可以完全避免浪费。

目前这款产品仅发现在德国注册了一项发明专利:202019102105

国内的供应商想生产这款产品门槛还是有一点的,所以说技术其实是一种防止他人模仿的有效手段。
02
Thinking Egg
我们发现,包括我们自己在内的许多人都把过度刺激作为荣誉的标志。我们做的越多,“越好”。我们希望摆脱这种社交建构的思维方式,并希望创建一种工具来提醒我们在日常工作中放慢脚步。

这就是为什么我们创造了思考蛋-一个简单的,有吸引力的工具来练习正念,保持冷静,激发思考。
在冥想时提供注意力的中心 有助于克服日常生活中的焦虑、压力和分心 优雅,符合人体工程学,便于携带,非常适合手拿或站在书桌或书柜上 所有的天然材料都能在你和自然世界之间建立联系,即使你被困在里面

这款产品尚未查到相关专利的注册,不过这类产品的风险也一般不在专利而在于其描述!
类似于玉石、矿石、水晶这类产品例如下面几款:




一些不明真相的卖家很可能涉及到描述不当的问题,例如可能会写到治疗自闭症、抑郁症等心理疾病、排除体内毒素等等这类描述,不管什么产品,一旦使用到这类描述就非常容易被平台移除!
03
Bowio | Read in Style
Bowio是一种书灯,为热爱阅读的人精心设计和制造。它具有完全独特的外观和设计风格,看上去与您见过的任何东西都不一样。

衬有温暖的日光LED,可在书本上形成弧形,并投射出完美的均匀照明。磁性夹具有出色的抓握强度,可牢固地固定盖子,同时仍可让您调节光线。

Bowio将具有可更换和可充电的混合动力电池结构。它设计为既可操作一次性CR2450,又可操作可充电LIR2450。这款纤巧而模块化的USB充电器Dongle可以连接到Bowio,以支持其可持续的可用性。

这款阅读灯虽然尚未查到相关专利,但是风险不能算小!
04
deqo | 3D wall art



这种墙纸墙贴的设计基本只可能是著作权侵权,也就是原创的图案侵权。
现在平台上卖的墙贴大多类似于下面这些:


要么就是一整块直接贴上去就可以了,要么就是虽然需要一个个部分分别粘贴,但不能自由组合,形式比较单一。
deqo的特点在于,每个人可以对墙贴随意组合自由搭配,这样一来就增添了更多的创造性和新颖性,隔段时间看腻了还能拆下来重新组合!


- THE END -
🍁

侵权哥一直认为众筹网是个好东西,它能帮助那些普通的创业者设计师实现梦想,并且能使这些优秀的创意被更多人知悉。
这些创意有时也能够为我们的工作提供一些新的思路。
01
SOAPBOTTLE

SOAPBOTTLE是一款洗护产品、它含有100毫升由天然成分制成的柔软滋养沐浴露。

液体内容物用完后,可以将空容器用作洗手液,并随时间“洗掉”。可以完全避免浪费。也就是说SOAPBOTTLE这个外壳相当于一个肥皂。
通过将产品变成包装,形成了无包装洗护用品的概念,从而为液体护理产品设计了可持续的肥皂瓶。
与任何其他包装不同,SOAPBOTTLE由肥皂配方制成,可以像洗手皂一样完全使用,并且随着时间的推移会与废水一起“洗掉”。最后,它会在几天之内在污水处理厂中分解,从而 可以完全避免浪费。

目前这款产品仅发现在德国注册了一项发明专利:202019102105

国内的供应商想生产这款产品门槛还是有一点的,所以说技术其实是一种防止他人模仿的有效手段。
02
Thinking Egg
我们发现,包括我们自己在内的许多人都把过度刺激作为荣誉的标志。我们做的越多,“越好”。我们希望摆脱这种社交建构的思维方式,并希望创建一种工具来提醒我们在日常工作中放慢脚步。

这就是为什么我们创造了思考蛋-一个简单的,有吸引力的工具来练习正念,保持冷静,激发思考。
在冥想时提供注意力的中心 有助于克服日常生活中的焦虑、压力和分心 优雅,符合人体工程学,便于携带,非常适合手拿或站在书桌或书柜上 所有的天然材料都能在你和自然世界之间建立联系,即使你被困在里面

这款产品尚未查到相关专利的注册,不过这类产品的风险也一般不在专利而在于其描述!
类似于玉石、矿石、水晶这类产品例如下面几款:




一些不明真相的卖家很可能涉及到描述不当的问题,例如可能会写到治疗自闭症、抑郁症等心理疾病、排除体内毒素等等这类描述,不管什么产品,一旦使用到这类描述就非常容易被平台移除!
03
Bowio | Read in Style
Bowio是一种书灯,为热爱阅读的人精心设计和制造。它具有完全独特的外观和设计风格,看上去与您见过的任何东西都不一样。

衬有温暖的日光LED,可在书本上形成弧形,并投射出完美的均匀照明。磁性夹具有出色的抓握强度,可牢固地固定盖子,同时仍可让您调节光线。

Bowio将具有可更换和可充电的混合动力电池结构。它设计为既可操作一次性CR2450,又可操作可充电LIR2450。这款纤巧而模块化的USB充电器Dongle可以连接到Bowio,以支持其可持续的可用性。

这款阅读灯虽然尚未查到相关专利,但是风险不能算小!
04
deqo | 3D wall art



这种墙纸墙贴的设计基本只可能是著作权侵权,也就是原创的图案侵权。
现在平台上卖的墙贴大多类似于下面这些:


要么就是一整块直接贴上去就可以了,要么就是虽然需要一个个部分分别粘贴,但不能自由组合,形式比较单一。
deqo的特点在于,每个人可以对墙贴随意组合自由搭配,这样一来就增添了更多的创造性和新颖性,隔段时间看腻了还能拆下来重新组合!


- THE END -
🍁




广东
12-26 周五











