紧急:这21款产品已下证美国外观专利!
,OpenClaw助力亚马逊广告运营提效,点击报名>>>
12月16日,美国专利局公布了一批正式生效的外观专利,为大家整理了其中21款。关注到这些产品里面不少是亚马逊,TEMU,Ebay,速卖通,沃尔玛等跨境电商平台热卖品。如有在美国市场刊登售卖,各位跨境卖家需警惕后续可能发生的站内专利权利人投诉甚至发起美法院立案起诉-TRO的风险。
Plant growing light 植物生长补光灯

专利编号:Patent US D1106534
申请日期:2023/08/11
下证日期:2025/12/16

专利编号:Patent US D1105902
申请日期:2024/09/03
下证日期:2025/12/16
Humidifier 加湿器

专利编号:Patent US D1106418
申请日期:2024/06/25
下证日期:2025/12/16

专利编号:Patent US D1105969
申请日期:2024/05/28
下证日期:2025/12/16

专利编号:Patent US D1106381
申请日期:2024/04/25
下证日期:2025/12/16
Atomizer 适配器

专利编号:Patent US D1106438
申请日期:2024/03/06
下证日期:2025/12/16

专利编号:Patent US D105857
申请日期:2024/04/10
下证日期:2025/12/16

专利编号:Patent US D1105883
申请日期:2024/03/18
下证日期:2025/12/16

专利编号:Patent US D1106479
申请日期:2024/04/09
下证日期:2025/12/16

专利编号:Patent US D1106599
申请日期:2024/03/06
下证日期:2025/12/16
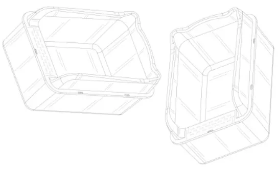
Cat litter box 猫砂盆

专利编号:Patent US D1106611
申请日期:2024/11/06
下证日期:2025/12/16

专利编号:Patent US D1105412
申请日期:2024/07/05
下证日期:2025/12/16
Pet toilet 宠物厕所

专利编号:Patent US D1106390
申请日期:2025/01/17
下证日期:2025/12/16

专利编号:Patent US D1106600
申请日期:2025/01/30
下证日期:2025/12/16
Table lamp 台灯

专利编号:Patent US D1105204
申请日期:2024/07/24
下证日期:2025/12/16
Toy building block 玩具积木

专利编号:Patent US D1106352
申请日期:2023/09/01
下证日期:2025/12/16

专利编号:Patent US D1105914
申请日期:2023/09/01
下证日期:2025/12/16
Desktop organizer 桌面规整架

专利编号:Patent US D1106326
申请日期:2024/01/15
下证日期:2025/12/16

专利编号:Patent US D1105793
申请日期:2024/07/17
下证日期:2025/12/16
Beverage container cover 饮料容器盖子

专利编号:Patent US D1105412
申请日期:2022/09/06
下证日期:2025/12/16
Shower 淋浴头

专利编号:Patent US D1106390
申请日期:2025/01/27
下证日期:2025/12/16
以上产品请注意查利文件,如有雷同产品在售,请警惕接下来被投诉甚至被钓鱼律所TRO的潜在风险。


12月16日,美国专利局公布了一批正式生效的外观专利,为大家整理了其中21款。关注到这些产品里面不少是亚马逊,TEMU,Ebay,速卖通,沃尔玛等跨境电商平台热卖品。如有在美国市场刊登售卖,各位跨境卖家需警惕后续可能发生的站内专利权利人投诉甚至发起美法院立案起诉-TRO的风险。
Plant growing light 植物生长补光灯

专利编号:Patent US D1106534
申请日期:2023/08/11
下证日期:2025/12/16

专利编号:Patent US D1105902
申请日期:2024/09/03
下证日期:2025/12/16
Humidifier 加湿器

专利编号:Patent US D1106418
申请日期:2024/06/25
下证日期:2025/12/16

专利编号:Patent US D1105969
申请日期:2024/05/28
下证日期:2025/12/16

专利编号:Patent US D1106381
申请日期:2024/04/25
下证日期:2025/12/16
Atomizer 适配器

专利编号:Patent US D1106438
申请日期:2024/03/06
下证日期:2025/12/16

专利编号:Patent US D105857
申请日期:2024/04/10
下证日期:2025/12/16

专利编号:Patent US D1105883
申请日期:2024/03/18
下证日期:2025/12/16

专利编号:Patent US D1106479
申请日期:2024/04/09
下证日期:2025/12/16

专利编号:Patent US D1106599
申请日期:2024/03/06
下证日期:2025/12/16
Cat litter box 猫砂盆

专利编号:Patent US D1106611
申请日期:2024/11/06
下证日期:2025/12/16

专利编号:Patent US D1105412
申请日期:2024/07/05
下证日期:2025/12/16
Pet toilet 宠物厕所

专利编号:Patent US D1106390
申请日期:2025/01/17
下证日期:2025/12/16

专利编号:Patent US D1106600
申请日期:2025/01/30
下证日期:2025/12/16
Table lamp 台灯

专利编号:Patent US D1105204
申请日期:2024/07/24
下证日期:2025/12/16
Toy building block 玩具积木

专利编号:Patent US D1106352
申请日期:2023/09/01
下证日期:2025/12/16

专利编号:Patent US D1105914
申请日期:2023/09/01
下证日期:2025/12/16
Desktop organizer 桌面规整架

专利编号:Patent US D1106326
申请日期:2024/01/15
下证日期:2025/12/16

专利编号:Patent US D1105793
申请日期:2024/07/17
下证日期:2025/12/16
Beverage container cover 饮料容器盖子

专利编号:Patent US D1105412
申请日期:2022/09/06
下证日期:2025/12/16
Shower 淋浴头

专利编号:Patent US D1106390
申请日期:2025/01/27
下证日期:2025/12/16
以上产品请注意查利文件,如有雷同产品在售,请警惕接下来被投诉甚至被钓鱼律所TRO的潜在风险。







其他
04-09 周四











