Item 1 of 1
美国专利预警,6月17日最新下证专利合集(上)
2025-06-18 18:25
入驻+财税+选品+物流+黄金运营90天,从入门到精通,直面对话coupang官方团队!
最新专利
2025年6月17日,美国专利局公布了一批正式生效的外观专利,小编列举出以下10款日常生活中常见的产品,其隐藏着侵权风险,各位跨境卖家需做好侵权规避。
Cleaning brush(清洁刷)
专利编号:D1079282

专利编号:D1079420

Popsicle mold (冰块模具)
专利编号:D1079406

专利编号:D1079422

Face mask(面罩)
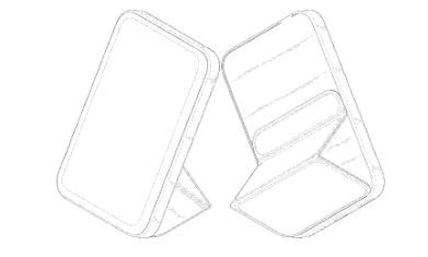
专利编号:D1080072

和谐共建 发展林业
专利编号:D1079343

专利编号:D1079295

专利编号:D1079387

专利编号:D1079327

专利编号:D1079622

TikTok、Facebook、谷歌、Twitter广告服务,0门槛抢占全球流量!
极速开户+优化投流+风险保障+效果跟踪,仅需4步,轻松撬动亿万海外流量,让品牌销量翻倍增长!
已成功开通5000+账户

最新热门报告作者标签
电商同比增长31%!拉美市场正成为高机遇市场AMZ123获悉,根据Antom的2025年拉美市场趋势报告,拉丁美洲正从“潜力市场”向“高机会市场”加速演进。凭借约6.62亿的人口基数、超过84%的互联网渗透率、持续增长的消费能力等多重优势,拉美市场正展现出超越东南亚的潜在发展机遇。本报告将从拉美市场现状、市场趋势、跨境电商机遇与挑战等方面,全面解析拉丁美洲电商的发展趋势,为卖家提供决策参考。一、拉丁美洲市场概况1. 人口优势拉丁美洲电商市场正处于快速成长阶段。目前,拉美市场拥有约6.62亿人口,形成了规模庞大的消费基数,且人均GDP已突破1万美元,显著高于多数东南亚国家。
日本时尚电商购物趋势:气候变化推动销售季节调整AMZ123获悉,近日,日本电商平台ZOZOTOWN发布了《日本时尚电商购物趋势》报告,报告基于2004年至2025年的20年购物数据,对日本在线时尚消费行为进行了系统分析。报告对日本超过9亿件商品的购买数据进行整合分析,不仅呈现了时尚消费的演变,也映射出社会、经济和生活方式的变化。报告显示,气候、物价、生活方式多样化和经济波动等环境因素在过去20年间持续影响消费者行为,使时尚购买呈现出更灵活、个性化和区域化的特征,为品牌营销、库存管理及产品策划提供了重要参考。报告指出,气候变化对服装销售季节性产生了直接影响。根据气象厅数据,过去20年间日本平均气温上升约1℃,夏季高温天数增加。
电商平台影响英国人网购决策,30%高价商品在平台下单AMZ123获悉,近日,根据Akeneo对来自八个国家的1800名英国消费者的调查,电商平台在英国消费者购买决策的各个环节中占据主导地位,尤其是在高价值商品的购买中表现突出。调查显示,超过90欧元的高价商品中,约30%的英国消费者选择通过电商平台完成购买,高于实体店和其他网站的比例。此前ChannelEngine的研究也显示,54%的英国在线购物者在寻找商品时首先会访问电商平台,这一比例高于欧洲平均水平的47%。调查结果显示,电商平台已成为英国消费者的“默认橱窗”,同时兼具比价工具、评价中心和结算平台的功能。
法国黑五周消费结构变化:销量降3%,销售额升0.4%AMZ123获悉,近日,根据购物应用Joko提供的研究数据,法国今年黑五周(Black Week)期间的平均消费继续小幅上涨。数据统计范围涵盖11月 21 日至 12 月 1 日,基于超过一百万名消费者的线上与线下银行交易记录,以及其应用上 6 万名用户的问卷反馈,对四大品类(时尚、美妆、数码、家居)做出总结。数据显示,法国消费者在11月下旬的促销周内平均花费达到236欧元,比去年多3欧元。得益于线上渠道,整体销售额同比增长0.4%,但销售量下降3%。在时尚品类中,二手平台Vinted登上第一,而去年排名第一的Shein跌至第九。在美妆品类中,丝芙兰排在法国品牌 Nocibé 前面。
一周年报告出炉!TikTok Shop爱尔兰黑五销售增长190%AMZ123获悉,近日,根据TikTok Shop的数据,自2024年12月正式登陆爱尔兰以来,爱尔兰卖家数量在一年内实现三位数增长,月活跃用户超240万。TikTok Shop将“本地增长”作为爱尔兰站第一年运营的核心,通过与Guaranteed Irish建立合作,帮助其成员企业扩大受众并提升运营能力。2025年双方联合举办多场线下与线上培训,累计吸引数百名卖家参与。随着合作成效显现,双方将续约至2026年,并计划扩大培训规模,让更多爱尔兰企业入驻TikTok Shop。过去一年中,地方城市卖家受益尤为明显。
我在TikTok卖游戏手柄,30天入账300万“这是12月的行情吗?”数据显示,TikTok美区12月截至11日GMV达到了9.64亿美元,按照“进度条”,美区12月业绩已经完成由黑五大促注入超强buff的11月总GMV的43.4%,日均销售额环比保持18.44%的高增速。炸裂的数据与圣诞红相互映照,卖家这边更是干着急,欠消费者的,只待物流运力加码才能还上。图源:TT123美区卖家交流群临近圣诞,美国人的采购方向依旧保持3大主线:仪式感、娱乐整活、实用主义,任意“混装”2-3点体感则更佳。近期,TikTok美区又有卖家借着这一思路打造出了爆款,为平台久未冒头的游戏类目, 注入了一丝未来发展的可能性。01凭复古成为爆款近一周的视频带货销量榜又多了些许新面孔。
不止支付,更是增长引擎:交易额破5000亿美元,万里汇成150万企业出海首选十二月的杭州,2025亚马逊全球开店跨境峰会如期而至。会场内人头攒动,数万名跨境卖家与服务商从五湖四海奔赴而来。他们中,有人带着黑五爆单的余温,回味着峰值时刻的酣畅;有人刚熬过淡季的蛰伏,在迷茫中求索破局之道;有人正摩拳擦掌,全力筹备新站点的全球开拓;也有人深耕合规布局,为全球业务探寻最优解法。所有出海人,都在为未来寻找一条更具确定性的增长路径。当全球经济步入深度调整期,地缘政治格局持续演变,消费市场呈现结构性分化,“不确定性” 已成为跨境行业的常态。如何在风浪中锚定方向、于变局中开拓新机,已成为所有跨境电商从业者必须共同面对的战略课题。
黑五网一卖爆近2亿,湖南跑出鞋类大卖!中国湖南长沙,悄悄冒出了一匹鞋界“黑马”——美迈科技。今年黑五网一,这家来自长沙的跨境企业全渠道总GMV近2亿元,打出了一套几乎完美的“组合拳”:不仅在亚马逊实现业绩突破,更在TikTok Shop、美客多等新兴平台多点成功爆发增长。公开信息显示,美迈科技主营鞋履出海业务,旗下品牌矩阵包括Dream Pairs、Dream Pairs Kids、Bruno Marc、NORTIV 8以及ALLSWIFIT等,覆盖女鞋、商务男鞋、户外机能鞋、运动鞋等多个细分品类,其topshoes us店铺常年位居亚马逊美国站全品类店铺前10名,并且自2021年起,公司每年保持30%左右的营收增长。
欠中国工厂超20亿元,美国知名大卖濒临破产!商业江湖,从来不乏优胜劣汰,成王败寇的故事。消费电子行业尤其如此,其技术和市场偏好的迭代速度远超传统行业,潮起潮落只在一瞬间。曾被誉为扫地机器人“鼻祖”的iRobot,如今就站在了悬崖边缘。AMZ123获悉,近日,美国知名品牌、亚马逊扫地机器人大卖iRobot被曝正深陷财务危机。财报数据显示,2025年第三季度,iRobot营收仅为1.46亿美元,同比下滑25%;净亏损为1770万美元,这已经是其连续第11个季度亏损。截至2025年9月27日,公司总资产4.81亿美元,总负债金额高达5.08亿美元,现金余额仅剩2480万美元。
黑五网一卖爆近2亿,湖南跑出鞋类大卖!中国湖南长沙,悄悄冒出了一匹鞋界“黑马”——美迈科技。今年黑五网一,这家来自长沙的跨境企业全渠道总GMV近2亿元,打出了一套几乎完美的“组合拳”:不仅在亚马逊实现业绩突破,更在TikTok Shop、美客多等新兴平台多点成功爆发增长。公开信息显示,美迈科技主营鞋履出海业务,旗下品牌矩阵包括Dream Pairs、Dream Pairs Kids、Bruno Marc、NORTIV 8以及ALLSWIFIT等,覆盖女鞋、商务男鞋、户外机能鞋、运动鞋等多个细分品类,其topshoes us店铺常年位居亚马逊美国站全品类店铺前10名,并且自2021年起,公司每年保持30%左右的营收增长。
广告从0.9加价到1.55美金竞价,6天只有1个点击?新品前期的广告应该这样玩......mrwait我的C位新品上架后,在11月1号晚开了一组自动紧密匹配广告,固定竞价策略,预算20美金,这一组广告跑了6天,现在的曝光是1078,竞价现在是1.55当时创建者这组广告时,系统没有提供可供参考的建议竞价,我是从最开始的0.9美金通过这几天观察调整上来的,搜索结果首页的竞价现在是25%(前两天这个参数没有设置,昨天从20%调整到了25%),今天出现了一个点击,相关数据如下:1.这一次的点击费用是0.45美金,我的竞价是1.55,为什么单次的点击费用和我的竞价不一致,小白头一次开广告不懂,求大佬解惑2.在创建的自动广告中,我发现有一个广告组默认竞价,在该广告组合中我所投放的定向组也有一个竞价(紧密匹配竞价1
亚马逊老卖家,为什么都在重新学竞品分析?本质上是在找"真正抢你订单的对手"。
电商同比增长31%!拉美市场正成为高机遇市场AMZ123获悉,根据Antom的2025年拉美市场趋势报告,拉丁美洲正从“潜力市场”向“高机会市场”加速演进。凭借约6.62亿的人口基数、超过84%的互联网渗透率、持续增长的消费能力等多重优势,拉美市场正展现出超越东南亚的潜在发展机遇。本报告将从拉美市场现状、市场趋势、跨境电商机遇与挑战等方面,全面解析拉丁美洲电商的发展趋势,为卖家提供决策参考。一、拉丁美洲市场概况1. 人口优势拉丁美洲电商市场正处于快速成长阶段。目前,拉美市场拥有约6.62亿人口,形成了规模庞大的消费基数,且人均GDP已突破1万美元,显著高于多数东南亚国家。
欧盟突击检查Temu欧洲总部,涉嫌接受外国补贴AMZ123获悉,上周,欧盟监管机构依据《外国补贴条例》(Foreign Subsidies Regulation, FSR)对 Temu 设在爱尔兰都柏林的欧洲总部进行了突击检查。知情人士称,此次行动主要围绕 Temu 是否受到来自中国的潜在政府补贴展开调查。Temu方面目前尚未对此作出回应。根据规定,如果企业违反 FSR,欧盟最高可处以其年度全球营业额 10% 的罚款。通常情况下,只有当监管机构掌握了来自内部员工或调查所得的证据信息后,才会启动此类突击行动,这类案件最终可能以企业让步或合作换取罚金减免的方式收场。Temu 于 2023 年 4 月进入欧洲市场,目前在欧盟平均月活跃用户已达到 1.16 亿。
法国黑五周消费结构变化:销量降3%,销售额升0.4%AMZ123获悉,近日,根据购物应用Joko提供的研究数据,法国今年黑五周(Black Week)期间的平均消费继续小幅上涨。数据统计范围涵盖11月 21 日至 12 月 1 日,基于超过一百万名消费者的线上与线下银行交易记录,以及其应用上 6 万名用户的问卷反馈,对四大品类(时尚、美妆、数码、家居)做出总结。数据显示,法国消费者在11月下旬的促销周内平均花费达到236欧元,比去年多3欧元。得益于线上渠道,整体销售额同比增长0.4%,但销售量下降3%。在时尚品类中,二手平台Vinted登上第一,而去年排名第一的Shein跌至第九。在美妆品类中,丝芙兰排在法国品牌 Nocibé 前面。
我在TikTok卖游戏手柄,30天入账300万“这是12月的行情吗?”数据显示,TikTok美区12月截至11日GMV达到了9.64亿美元,按照“进度条”,美区12月业绩已经完成由黑五大促注入超强buff的11月总GMV的43.4%,日均销售额环比保持18.44%的高增速。炸裂的数据与圣诞红相互映照,卖家这边更是干着急,欠消费者的,只待物流运力加码才能还上。图源:TT123美区卖家交流群临近圣诞,美国人的采购方向依旧保持3大主线:仪式感、娱乐整活、实用主义,任意“混装”2-3点体感则更佳。近期,TikTok美区又有卖家借着这一思路打造出了爆款,为平台久未冒头的游戏类目, 注入了一丝未来发展的可能性。01凭复古成为爆款近一周的视频带货销量榜又多了些许新面孔。
《亚马逊生活日用品类攻略手册》PDF下载作为日常生活不可或缺的重要组成,生活百货品类覆盖范围广泛,包括家居用品、家具、车用配件、户外装备、园艺
工具、运动器材、家装用品、厨房、玩具以及宠物用品等众多领域。这类产品不仅是满足基本生活所需,更体现了人们对美好生活的向往和追求。
《掘金泰国-市场洞察与战略机遇报告2025》PDF下载随着全球经济一体化的加速,泰国作为东盟的核心枢纽,凭借其独特的地缘优势庞大的消费市场以及持续优化的营商环境,成为众多企业战略布局的重要目标。本报告深入剖析泰国市场的政策红利、消费趋势、产业机遇以及合规挑战,旨在为有志于开拓泰国市场的中国企业提供行动指南,助力企业在东盟这片充满活力的土地上把握机遇、应对挑战、!实现可持续发展。
《2025欧美假日购物季营销指南》PDF下载2025年美国假日购物季零售额预计同比仅增长1.2%,总销售额约1.359万亿美元,虽仍保持正增长,但为2009年以来最低增速,市场正在步入低增长的新常态。
《2025年跨境电商东南亚市场进入战略白皮书》PDF下载东南亚电商,正以惊人的速度复刻中国电商高速增长的黄金时代。2024年东南亚电商GMV达到1284亿美元,短短5年涨幅超过3倍。全球电商2024年GMV增幅最快的十大市场中,东南亚独占四席。东南亚是拥有约6.7亿人口的广阔市场,在现今全球关税的不确定性大格局下,因其电商基建完善,利好的贸易政策,和更高的年轻人口占比,成为跨境卖家生意拓张焦点之一。
《2025年TikTok Shop玩具品类行业报告(欧美站)》PDF下载分析TikTok Shop美国市场、英国市场、西班牙市场、墨西哥市场等主流市场点短视频及直播电商数据,选取TikTok与玩具爱好品类相关的内容进行分析报告。
《2025 洗护品类趋势与创新洞察》PDF下载本报告独特价值:将消费者的“行为结果”据),揭示消费者深层心理动机、并能精准预判未来增长机会
《亚马逊双轨增长指南》PDF下载亚马逊以“以客户为中心”为核心理念,通过整合B2B与B2C的全渠道服务,帮助卖家实现“一店双拓”-- 一次上架,同步触达个人消费者与企业买家,获得双重收益。同时,基于Direct to Buyer(直接触达买家)的模式,更能有效减少中间环节,提升利润空间与品牌掌控力。
《亚马逊全球线上商采趋势与区域洞察》PDF下载随着全球企业数字化转型的深入推进,B2B商采有望成为下一个万亿级别的蓝海市场然而,中国卖家在开拓海外企业商采市场时往往面临着一个关键挑战:难以准确把握海外企业买家的商采行为和决策模式。这种认知偏差不仅影响了产品开发方向,也制约了市场拓展策略的制定。

美国专利预警,6月17日最新下证专利合集(上)
捷胤知识产权资讯栏
2025-06-18 18:25
1654
最新专利
2025年6月17日,美国专利局公布了一批正式生效的外观专利,小编列举出以下10款日常生活中常见的产品,其隐藏着侵权风险,各位跨境卖家需做好侵权规避。
Cleaning brush(清洁刷)
专利编号:D1079282

专利编号:D1079420

Popsicle mold (冰块模具)
专利编号:D1079406

专利编号:D1079422

Face mask(面罩)
专利编号:D1080072

和谐共建 发展林业
专利编号:D1079343

专利编号:D1079295

专利编号:D1079387

专利编号:D1079327

专利编号:D1079622

1







其他
12-15 周一











