Petal:美国信用卡及贷款服务提供商
导语:总部位于纽约的Petal成立于2016年,提供两种Visa信用卡产品,面向信用记录很少或没有的服务不足的消费者。
Part 1 公司概述

1.1 公司简介
Petal Card,Inc创立于2016年,总部位于美国纽约,是一家新型信用卡金融科技公司,其使命是让信用变得诚实、简单和可及。用户可通过公司申请办理信用卡,并且公司采取“现金流承包”的处理流程,融入机器学习、大数据等技术来分析个人的数字金融记录,通过用户的日常开支、收入和存款等内容,确定信用额度,帮助用户解决资金问题。这家初创公司表示,其目标是帮助人们“建立信用,而不是债务”,它根据现金流而不是信用评分提供信贷。

1.2 创立背景
Petal 的创建是为了帮助更多的人使用个人银行历史中已有的数据来访问和建立信用。该公司表示,其技术分析银行历史——通过考虑个人的收入、支出和储蓄来评估信用度,以帮助人们获得资格,即使他们以前从未使用过信用卡。这个过程被称为“CashScoring”,并表示这种方法可以让更多的人获得信贷,并且“根据每个人独特的财务状况量身定制”。
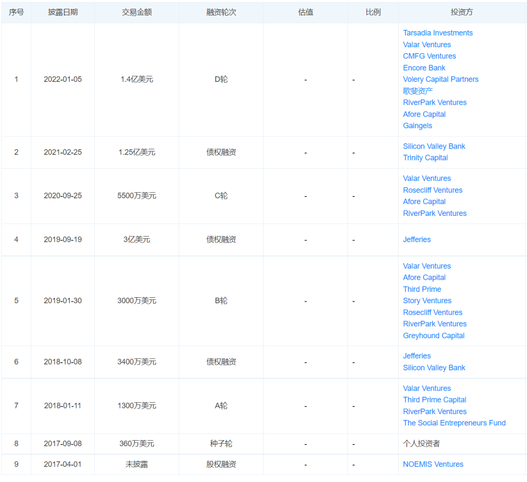
1.3 融资情况

(资料来源:天眼查)
Part 2 公司业务
2.1 CashScoring™
在联合创始人兼首席执行官 Jason Gross 的领导下,Petal的成立旨在通过提供 Visa® 信用卡(由 WebBank 发行,FDIC 成员)帮助人们建立信用而非债务。人们即使以前从未使用过信用卡也有资格获得Petal卡。该公司不再仅仅依赖信用评分,而是建立了专有技术,该技术还可以分析银行历史——根据收入、支出和储蓄来衡量信用度,这个过程称为“CashScoring™”,用于衡量信贷审批决策中通常不考虑的现金流量和其他经济基本面。这有助于更多人获得资格,并使 Petal 能够根据每个人独特的财务状况量身定制的条款提供信贷。
与信用评分不同,CashScore可以使用申请人的银行历史来考虑更广泛的财务状况,这让更多的人有资格获得信贷,包括那些完全不了解信贷的人。
大多数 Petal 会员在首次申请Petal卡时信用记录不好或没有信用记录,2021年批准使用 Petal 卡的新会员中有超过40%首先被一家大银行拒绝授信。该公司声称,加入之前没有信用记录的会员已经获得了676的平均信用评分——“优质”评分使他们有资格获得汽车贷款、抵押贷款“和其他以前无法获得的金融机会”。
2.2 信用卡
Petal通过合作伙伴WebBank发行两种信用卡,分别是Petal 1 Family和Petal 2。
Petal 1 Family信用卡又提供两种类型的信用卡,分别是Petal 1和Petal 1 Rise,是翠绿色的配置。

(Petal 1 Family信用卡)

(Petal 1和Petal 1 Rise信用卡的相关情况)
Petal 2是明黄色的配置,色彩大胆明亮,非常好看,该卡片不收取费用,可变年利率为16.74% – 30.74%,支持1% – 1.5%的日常消费返现。

(Petal 2信用卡)
Petal 1 Family和Petal 2都支持的功能有:
①增加信用额度
借助Leap计划,通过按时支付符合条件的款项,用户可在6个月内增加信用额度。
②跟踪您的分数
在应用程序中及时了解您的信用评分。
③找到您附近的返现
在指定的本地和全国商家赚取2%-10%的现金返还。
④密切关注您的账户
启用推送通知以实时查看您的交易活动。
⑤避免损失
没有国外交易费用:Petal 1 Family 和Petal 2 适合旅行——永远不会在旅途中产生国外交易费用;
帮助避免滞纳金:启用自动付款,这样您就不会错过安排付款的时间;
Petal 2支持免费建立信用:切勿支付会员年费、滞纳金或退还的付款费。
⑥信用记录变得简单
通过手机付款
将您的 Petal 卡添加到您的手机钱包中,以便随时随地轻松付款。
旨在建立信用
Petal将向主要机构报告,以便您可以通过负责任的信用使用来提高您的信用评分。
快速支付
配备非接触式支付技术,可实现快速安全的结账——只需轻点一下即可。
⑦防止欺诈
Petal的欺诈检测技术可以快速发现可疑的银行卡活动并采取行动。
2.3 盈利来源
Petal卡计划主要从三方面赚钱,分别是利率、交换费和卡费。
1.利率:这是如果会员没有按时支付每个月的全部报表余额,他们将承担的年度百分比率 (APR)。
2.交换费:为了接受信用卡支付,商家需要为每笔 Petal 卡交易支付费用。
3.卡费:Petal 1成员可能会因延迟付款或退回付款而产生费用。Petal 1 Rise会员还需缴纳会员年费。
Part 3 替代产品
Mission Lane可以看作是Petal的替代产品。
金融科技公司Mission Lane于2018年在美国旧金山成立,创始人兼首席执行官是Shane Holdaway,Mission Lane是领先的金融技术解决方案提供商,使用专有的机器学习系统帮助人们获得信贷。
旗舰产品是Visa信用卡,它通常用于帮助人们获得他们的第一张信用卡,重建他们的信用记录,或者在紧急情况下改善经济困难的境遇。
Mission Lane的团队成员遍布美国各地,从弗吉尼亚州里士满和加利福尼亚州旧金山的主要办事处到华盛顿州、宾夕法尼亚州、纽约州和新泽西州,以及加拿大安大略省的多伦多地区。

导语:总部位于纽约的Petal成立于2016年,提供两种Visa信用卡产品,面向信用记录很少或没有的服务不足的消费者。
Part 1 公司概述

1.1 公司简介
Petal Card,Inc创立于2016年,总部位于美国纽约,是一家新型信用卡金融科技公司,其使命是让信用变得诚实、简单和可及。用户可通过公司申请办理信用卡,并且公司采取“现金流承包”的处理流程,融入机器学习、大数据等技术来分析个人的数字金融记录,通过用户的日常开支、收入和存款等内容,确定信用额度,帮助用户解决资金问题。这家初创公司表示,其目标是帮助人们“建立信用,而不是债务”,它根据现金流而不是信用评分提供信贷。

1.2 创立背景
Petal 的创建是为了帮助更多的人使用个人银行历史中已有的数据来访问和建立信用。该公司表示,其技术分析银行历史——通过考虑个人的收入、支出和储蓄来评估信用度,以帮助人们获得资格,即使他们以前从未使用过信用卡。这个过程被称为“CashScoring”,并表示这种方法可以让更多的人获得信贷,并且“根据每个人独特的财务状况量身定制”。
1.3 融资情况

(资料来源:天眼查)
Part 2 公司业务
2.1 CashScoring™
在联合创始人兼首席执行官 Jason Gross 的领导下,Petal的成立旨在通过提供 Visa® 信用卡(由 WebBank 发行,FDIC 成员)帮助人们建立信用而非债务。人们即使以前从未使用过信用卡也有资格获得Petal卡。该公司不再仅仅依赖信用评分,而是建立了专有技术,该技术还可以分析银行历史——根据收入、支出和储蓄来衡量信用度,这个过程称为“CashScoring™”,用于衡量信贷审批决策中通常不考虑的现金流量和其他经济基本面。这有助于更多人获得资格,并使 Petal 能够根据每个人独特的财务状况量身定制的条款提供信贷。
与信用评分不同,CashScore可以使用申请人的银行历史来考虑更广泛的财务状况,这让更多的人有资格获得信贷,包括那些完全不了解信贷的人。
大多数 Petal 会员在首次申请Petal卡时信用记录不好或没有信用记录,2021年批准使用 Petal 卡的新会员中有超过40%首先被一家大银行拒绝授信。该公司声称,加入之前没有信用记录的会员已经获得了676的平均信用评分——“优质”评分使他们有资格获得汽车贷款、抵押贷款“和其他以前无法获得的金融机会”。
2.2 信用卡
Petal通过合作伙伴WebBank发行两种信用卡,分别是Petal 1 Family和Petal 2。
Petal 1 Family信用卡又提供两种类型的信用卡,分别是Petal 1和Petal 1 Rise,是翠绿色的配置。

(Petal 1 Family信用卡)

(Petal 1和Petal 1 Rise信用卡的相关情况)
Petal 2是明黄色的配置,色彩大胆明亮,非常好看,该卡片不收取费用,可变年利率为16.74% – 30.74%,支持1% – 1.5%的日常消费返现。

(Petal 2信用卡)
Petal 1 Family和Petal 2都支持的功能有:
①增加信用额度
借助Leap计划,通过按时支付符合条件的款项,用户可在6个月内增加信用额度。
②跟踪您的分数
在应用程序中及时了解您的信用评分。
③找到您附近的返现
在指定的本地和全国商家赚取2%-10%的现金返还。
④密切关注您的账户
启用推送通知以实时查看您的交易活动。
⑤避免损失
没有国外交易费用:Petal 1 Family 和Petal 2 适合旅行——永远不会在旅途中产生国外交易费用;
帮助避免滞纳金:启用自动付款,这样您就不会错过安排付款的时间;
Petal 2支持免费建立信用:切勿支付会员年费、滞纳金或退还的付款费。
⑥信用记录变得简单
通过手机付款
将您的 Petal 卡添加到您的手机钱包中,以便随时随地轻松付款。
旨在建立信用
Petal将向主要机构报告,以便您可以通过负责任的信用使用来提高您的信用评分。
快速支付
配备非接触式支付技术,可实现快速安全的结账——只需轻点一下即可。
⑦防止欺诈
Petal的欺诈检测技术可以快速发现可疑的银行卡活动并采取行动。
2.3 盈利来源
Petal卡计划主要从三方面赚钱,分别是利率、交换费和卡费。
1.利率:这是如果会员没有按时支付每个月的全部报表余额,他们将承担的年度百分比率 (APR)。
2.交换费:为了接受信用卡支付,商家需要为每笔 Petal 卡交易支付费用。
3.卡费:Petal 1成员可能会因延迟付款或退回付款而产生费用。Petal 1 Rise会员还需缴纳会员年费。
Part 3 替代产品
Mission Lane可以看作是Petal的替代产品。
金融科技公司Mission Lane于2018年在美国旧金山成立,创始人兼首席执行官是Shane Holdaway,Mission Lane是领先的金融技术解决方案提供商,使用专有的机器学习系统帮助人们获得信贷。
旗舰产品是Visa信用卡,它通常用于帮助人们获得他们的第一张信用卡,重建他们的信用记录,或者在紧急情况下改善经济困难的境遇。
Mission Lane的团队成员遍布美国各地,从弗吉尼亚州里士满和加利福尼亚州旧金山的主要办事处到华盛顿州、宾夕法尼亚州、纽约州和新泽西州,以及加拿大安大略省的多伦多地区。




福建
12-12 周五











