Item 1 of 1
#泳池储物篮 已有企业被专利权人发起中立评估程序,赶紧自查别中招!
2026-03-04 11:40
AI设计/3D打印/欧洲市场实战拆解,点击报名
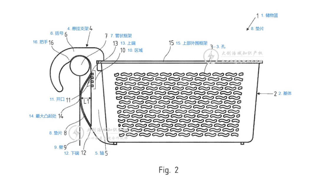
现有地上泳池储物篮存在结构刚性、不可调节的设计缺陷,易出现水平定位偏差,同时受水流湍流影响,不仅自身存在潜在损坏风险,还可能损伤泳池壁。



间隔件:位于支架与泳池壁之间、起支撑和定位作用。 卡扣开口:用于将支架卡在泳池边缘,确保安装牢固。


目前,这款#泳池边储物篮 专利权人已发起中立评估程序,如果您的产品也面临着类似的情况,首要做到就是冷静下来,先评估自己的产品是否真的侵权
TikTok、Facebook、谷歌、Twitter广告服务,0门槛抢占全球流量!
极速开户+优化投流+风险保障+效果跟踪,仅需4步,轻松撬动亿万海外流量,让品牌销量翻倍增长!
已成功开通5000+账户

最新热门报告作者标签
欧盟拟对跨境电商包裹加收新处理费,最迟11月实施AMZ123获悉,近日,欧洲议会与欧盟理事会就欧盟关税法改革达成初步协议,这是自1968年以来最重要的一次改革。该改革重点围绕电商平台责任、包裹收费机制以及海关系统数字化等方面展开,旨在加强对来自欧盟以外国家商品的监管,提升市场公平性与安全性。根据协议,未来从非欧盟国家直接寄送至欧洲消费者的商品,将新增一项“处理费用”,用于覆盖不断增长的小额包裹带来的额外海关处理成本。该费用将由负责缴纳关税的同一主体承担,以避免成本转嫁给消费者。具体收费标准将由欧盟委员会制定,并每两年进行一次评估。成员国需在相关信息系统上线后开始征收,最迟不晚于2026年11月1日实施。
深圳制造又出爆款,电热冰淇淋勺在TikTok爆单又一国产小家电火遍海外,TikTok卖家已入账数百万
三个国家与伊朗达成协议,部分船只可以通过霍尔木兹海峡在中东冲突持续升级、全球航运通道高度紧张的背景下,霍尔木兹海峡出现有限度“松动”迹象。3月28日,泰国、巴基斯坦和马来西亚相继确认,已通过外交渠道与伊朗达成沟通安排,部分本国船只获准通过这一全球最关键的能源运输咽喉。据多方消息,泰国方面表示,已与伊朗达成协议,泰国油轮可在安全条件下通过霍尔木兹海峡,以缓解国内油价上涨压力;巴基斯坦则获得伊朗新增放行20艘船只的许可,未来预计每日将有2艘船舶获准通行;马来西亚方面也确认,数艘此前滞留在海峡的油轮已获放行,但仍需等待合适的“通行窗口”。不过,这一“放行”并不意味着航道恢复正常。当前霍尔木兹海峡依然处于高度管控状态。
苹果进军地图广告;Token中文名叫“词元”;参半母公司跟华晨宇创立新品牌;10+企业发财报 一周要闻速览苹果进军地图广告最近,苹果计划在“Maps”(地图)中引入搜索广告机制,本质上是把“找地方”这件事商业化。据彭博社报道,这一动作有望进一步放大其本就快速增长的服务收入。知情人士表示,Maps的广告系统将允许商家对搜索关键词进行竞价。当用户在附近搜索“日料”“咖啡”时,商家可以通过竞价,让自己的门店优先出现在搜索结果顶部。这一模式早已在Google Maps和Yelp上被验证有效,如今苹果也准备复制这一套成熟路径。事实上,地图是一个典型的“强意图入口”,用户打开它,不是浏览,而是带着明确目的:找吃的、找店、找服务。这种高转化场景,一直是广告主最愿意付费的地方。
严查启动!亚马逊大批链接被下架|跨境圈一周头条|圈子知道01严查启动!亚马逊大批链接被下架近日,有卖家反馈,亚马逊加拿大站已启动针对儿童学习用品的合规审查,部分不符合要求的商品链接已被批量下架。此次审查基于《危险产品法案》及SOR相关法规,对产品安全性和标签信息提出了严格要求。尤其是涉及软塑料和涂层材料的产品,如书包、笔袋、文具盒等,需严格控制邻苯二甲酸盐及铅含量,超标即面临下架风险。除材质要求外,标签规范也成为重点审核内容。产品需使用英法双语标识,且必须为印刷形式;同时需标明制造商信息、生产日期、批次编号及适用年龄等完整信息。此外,检测报告要求同样严格,必须由ISO 17025或ILAC认可实验室出具,且有效期仅为一年,过期需重新提交。
又一中东大港遇袭停摆!马士基宣布暂停作业又一关键航运节点遭遇冲击,中东供应链再度承压。当地时间3月28日,阿曼重要枢纽港口塞拉莱港突发无人机袭击,港口设施受损、作业一度全面中断。事件发生后,航运巨头马士基迅速宣布暂停在该港的全部运营作业。随着红海与海湾局势持续升温,港口安全风险正从航道向核心基础设施蔓延,全球航运体系的不确定性进一步加剧。当地时间3月28日,阿曼南部重要航运枢纽——塞拉莱港(Salalah)遭遇无人机袭击,导致港口设施受损、人员紧急疏散,港区一度全面暂停作业。事件发生后,航运企业迅速采取应对措施,区域供应链安全再度承压。据阿曼官方通讯社消息,两架无人机对港口设施发动袭击,造成一名外籍工人受伤,并对一台岸桥起重机造成“有限损坏”。
突发!一货船遭导弹袭击沉没!胡塞武装加入战局,霍尔木兹与曼德海峡或面临“双重封锁”在伊朗、美国和以色列关系持续紧张的背景下,波斯湾局势进一步恶化。据报道,伊朗革命卫队在霍尔木兹海峡用导弹击沉了一艘货轮。《以色列时报》28日报道称,也门胡塞武装当天向以色列南部发射弹道导弹,标志其正式介入本轮美以伊冲突,地区战火进一步外溢,全球航运与能源安全面临新的重大不确定性。霍尔木兹与曼德海峡或面临“双重封锁”。一油轮遭导弹袭击沉没据海外媒体报道,3月27日,伊朗革命卫队在霍尔木兹海峡用导弹击沉了一艘油轮。据悉,这艘油轮悬挂巴基斯坦国旗。伊朗方面称,该油轮试图违反伊朗的指令进入霍尔木兹海峡,因此遭到袭击。另一方面,一些报道称,该油轮悬挂巴基斯坦国旗,非法向美国运输石油,伊朗方面对此进行了报复。
亚马逊推送Q4账单!注意不要直接下载!最近圈子里讨论最多的,就是亚马逊把2025年Q4(10月到12月)的税务数据同步给中国税务机关这件事。邮件主题是"查看您的2025年10月至12月的中国税务报告",里面有两个下载链接,一个季度汇总,一个订单明细压缩包。看起来人畜无害,但里面有几个点值得专门说一说。图源群内卖家分享无论通知形式如何变化,其实都指向了同一个信号:在平台数据已完成报送的背景下,申报滞后或申报不实,将面临实质性后果。01这次报送,和Q3那次不一样很多人经历过Q3报送,觉得数据太粗、对不上,当时税局也没什么大动作,就放松了警惕。
深圳制造又出爆款,电热冰淇淋勺在TikTok爆单又一国产小家电火遍海外,TikTok卖家已入账数百万
严查启动!亚马逊大批链接被下架|跨境圈一周头条|圈子知道01严查启动!亚马逊大批链接被下架近日,有卖家反馈,亚马逊加拿大站已启动针对儿童学习用品的合规审查,部分不符合要求的商品链接已被批量下架。此次审查基于《危险产品法案》及SOR相关法规,对产品安全性和标签信息提出了严格要求。尤其是涉及软塑料和涂层材料的产品,如书包、笔袋、文具盒等,需严格控制邻苯二甲酸盐及铅含量,超标即面临下架风险。除材质要求外,标签规范也成为重点审核内容。产品需使用英法双语标识,且必须为印刷形式;同时需标明制造商信息、生产日期、批次编号及适用年龄等完整信息。此外,检测报告要求同样严格,必须由ISO 17025或ILAC认可实验室出具,且有效期仅为一年,过期需重新提交。
亚马逊推送Q4账单!注意不要直接下载!最近圈子里讨论最多的,就是亚马逊把2025年Q4(10月到12月)的税务数据同步给中国税务机关这件事。邮件主题是"查看您的2025年10月至12月的中国税务报告",里面有两个下载链接,一个季度汇总,一个订单明细压缩包。看起来人畜无害,但里面有几个点值得专门说一说。图源群内卖家分享无论通知形式如何变化,其实都指向了同一个信号:在平台数据已完成报送的背景下,申报滞后或申报不实,将面临实质性后果。01这次报送,和Q3那次不一样很多人经历过Q3报送,觉得数据太粗、对不上,当时税局也没什么大动作,就放松了警惕。
罗技“辱客”文案惹风波;库迪蹭上“瑞幸×罗永浩超大杯营销”热度;小红书启动“第一届民间小赛”本周最热罗技“辱客”文案风波:一次失控的内容事故2026 年 3 月 26 日,抖音“罗技G官方旗舰店”发布的一则GPW3鼠标推广视频,引发舆论迅速发酵。视频中“当我一降价,你还不是像狗一样跑过来”的文案与旁白,将消费者进行不当类比,触碰到用户的情绪底线。事件发酵约3小时后,视频被下架。但随后罗技方面及代运营公司的回应,并未有效缓解争议。双方将问题归因于“员工擅自发布、流程疏漏”,并对相关人员作出内部处罚。这种以“个体失误”解释系统性内容问题的方式,反而进一步放大了外界对品牌管理能力的质疑。舆论普遍认为,一条涉及脚本、配音、剪辑的营销内容,很难绕过完整审核链路,问题更可能出在机制而非个体。
三个国家与伊朗达成协议,部分船只可以通过霍尔木兹海峡在中东冲突持续升级、全球航运通道高度紧张的背景下,霍尔木兹海峡出现有限度“松动”迹象。3月28日,泰国、巴基斯坦和马来西亚相继确认,已通过外交渠道与伊朗达成沟通安排,部分本国船只获准通过这一全球最关键的能源运输咽喉。据多方消息,泰国方面表示,已与伊朗达成协议,泰国油轮可在安全条件下通过霍尔木兹海峡,以缓解国内油价上涨压力;巴基斯坦则获得伊朗新增放行20艘船只的许可,未来预计每日将有2艘船舶获准通行;马来西亚方面也确认,数艘此前滞留在海峡的油轮已获放行,但仍需等待合适的“通行窗口”。不过,这一“放行”并不意味着航道恢复正常。当前霍尔木兹海峡依然处于高度管控状态。
突发!一货船遭导弹袭击沉没!胡塞武装加入战局,霍尔木兹与曼德海峡或面临“双重封锁”在伊朗、美国和以色列关系持续紧张的背景下,波斯湾局势进一步恶化。据报道,伊朗革命卫队在霍尔木兹海峡用导弹击沉了一艘货轮。《以色列时报》28日报道称,也门胡塞武装当天向以色列南部发射弹道导弹,标志其正式介入本轮美以伊冲突,地区战火进一步外溢,全球航运与能源安全面临新的重大不确定性。霍尔木兹与曼德海峡或面临“双重封锁”。一油轮遭导弹袭击沉没据海外媒体报道,3月27日,伊朗革命卫队在霍尔木兹海峡用导弹击沉了一艘油轮。据悉,这艘油轮悬挂巴基斯坦国旗。伊朗方面称,该油轮试图违反伊朗的指令进入霍尔木兹海峡,因此遭到袭击。另一方面,一些报道称,该油轮悬挂巴基斯坦国旗,非法向美国运输石油,伊朗方面对此进行了报复。
苹果进军地图广告;Token中文名叫“词元”;参半母公司跟华晨宇创立新品牌;10+企业发财报 一周要闻速览苹果进军地图广告最近,苹果计划在“Maps”(地图)中引入搜索广告机制,本质上是把“找地方”这件事商业化。据彭博社报道,这一动作有望进一步放大其本就快速增长的服务收入。知情人士表示,Maps的广告系统将允许商家对搜索关键词进行竞价。当用户在附近搜索“日料”“咖啡”时,商家可以通过竞价,让自己的门店优先出现在搜索结果顶部。这一模式早已在Google Maps和Yelp上被验证有效,如今苹果也准备复制这一套成熟路径。事实上,地图是一个典型的“强意图入口”,用户打开它,不是浏览,而是带着明确目的:找吃的、找店、找服务。这种高转化场景,一直是广告主最愿意付费的地方。
又一中东大港遇袭停摆!马士基宣布暂停作业又一关键航运节点遭遇冲击,中东供应链再度承压。当地时间3月28日,阿曼重要枢纽港口塞拉莱港突发无人机袭击,港口设施受损、作业一度全面中断。事件发生后,航运巨头马士基迅速宣布暂停在该港的全部运营作业。随着红海与海湾局势持续升温,港口安全风险正从航道向核心基础设施蔓延,全球航运体系的不确定性进一步加剧。当地时间3月28日,阿曼南部重要航运枢纽——塞拉莱港(Salalah)遭遇无人机袭击,导致港口设施受损、人员紧急疏散,港区一度全面暂停作业。事件发生后,航运企业迅速采取应对措施,区域供应链安全再度承压。据阿曼官方通讯社消息,两架无人机对港口设施发动袭击,造成一名外籍工人受伤,并对一台岸桥起重机造成“有限损坏”。
《TikTok Shop 2025年度报告》PDF下载2025年,TikTok Shop进一步加快扩张步伐,在巩固欧美成熟市场的同时,积极开拓新兴市场,先后上线德国、意大利、法国、日本等站点。此举不仅为平台带来新增量,也体现出其多元化市场战略的初步成效,以分散地缘政治风险。
《Shopee2025印尼站点X 汽车摩托品类专题》PDF下载印尼当地汽车保有量并不高,每一千人的机动车保有量仅96人,未来可提升的空间仍大。空间参照系可以看泰国和马来,2024年泰国汽车保有量为322辆/千人,马来西亚为531辆/千人。
《2026年Shopee运动户外类目自行车爆品分享》PDF下载巴西骑行爱好群体广泛,但平台上热销品呈现出的国际大牌极少,推测可能原因是国际品牌可能主要通过线下经销或自行渠道销售,未深度参与Shopee等本土电商。因此巴西用户在平台上几乎接触不到这些高端品牌产品。平台上巴西用户更倾向购买本土品牌的自行车,可能出于价格实惠和售后便利考虑。
2025年TikTok生态发展白皮书2025年,全球内容电商迈入深度跃迁的新周期。TikTokShop正以前所未有的速度拓展市场版图,完成从高速增长向高质量增长的跃迁。在这一进程中,生态结构重构、参与者多元化、全球政策协同等因素叠加,构成内容电商演进的核心变量。
《2026美妆健康与保健创新报告》PDF下载每年,我们都会分析美妆与个护以及健康与家居类目的动态变化。但2026 年呈现了一个意外的新现象:这两个类目不再孤立运营。美妆和健康正与食品杂货融合,形成由配方创新、成分病毒式传播和消费者行为演变所驱动的强大三方生态系统。
《中国宠物食品行业出海国别机会洞察报告》PDF下载本报告旨在深入分析中国宠物食品的全球出口机遇与国别差异,通过对行业发展现状、出口趋势及各国政策环境的研究,揭示中国宠物食品企业在国际市场中的竞争优势与面临的潜在挑战。
《市场洞察:2025中国汽车出海英国市场动态追踪》PDF下载根据英国汽车制造商与贸易商协会数据显示,2025年1-9月中国汽车出海英国累计销量142,684辆,同比增长91%,远超英国整体市场4.2%增速。中国汽车出海英国市场份额从年初5%升至9月12.4%,成为英国第二大汽车来源国,仅次于德国。
《2026取暖电器行业简析报告》PDF下载系统梳理了行业发展脉络、市场格局与未来趋势。取暖电器按能源类型与产品形态可分为电取暖、燃气取暖、辅助本报告为 2026 年中国取暖电器行业专业简析,集成类三大核心品类,行业发展历经萌芽起步、快速成长、加速升级、高质量发展四大阶段,完成了从单一功能向智能化、节能化、场景化的全面演进。

#泳池储物篮 已有企业被专利权人发起中立评估程序,赶紧自查别中招!
案说跨境知识产权
2026-03-04 11:40
434
现有地上泳池储物篮存在结构刚性、不可调节的设计缺陷,易出现水平定位偏差,同时受水流湍流影响,不仅自身存在潜在损坏风险,还可能损伤泳池壁。



间隔件:位于支架与泳池壁之间、起支撑和定位作用。 卡扣开口:用于将支架卡在泳池边缘,确保安装牢固。


目前,这款#泳池边储物篮 专利权人已发起中立评估程序,如果您的产品也面临着类似的情况,首要做到就是冷静下来,先评估自己的产品是否真的侵权







其他
04-09 周四











