圣诞灯串爆单拆解:从 0 到旺季断货,这 3 个核心动作可直接复用
AI设计/3D打印/欧洲市场实战拆解,点击报名
每年到 11 月,亚马逊都会出现一个很明显的分化现象。
同样是圣诞产品,有人库存多的压到喘不过气,有人 12 月初就开始卖断货了。
问题往往不在于是否选错了品,而在于有没有踩对圣诞季的节奏。
这篇文章,我们就拿一个非常典型、竞争也很激烈的产品来拆解:亚马逊站内的户外圣诞灯串。不讲理论,按时间线,把一个成功的listing的关键动作一步步拆解出来,希望对大家未来的旺季运营有所帮助。
为什么选圣诞灯串这个品
先说结论,这是一个非常标准的圣诞季节性爆发型产品,ASIN:B0995QBK44。
它有几个很明显的特征:
搜索需求高度集中在 10 月到 12 月;
同款产品很多,但销量差距非常大;
价格波动明显,旺季反而更容易涨价一些;
广告投放节奏清晰;
也正因为这样复盘价值高,它非常适合用来拆解旺季打法,学会了这个其他品你就可以触类旁通。

旺季之前,成功卖家在做什么
很多人以为,圣诞爆单是 11 月才开始的。
但实际上,真正拉开差距的时间点在 9 月底到 10 月中旬。
复盘灯串类目的头部链接,会发现一些高度一致的动作。
Listing 很早就准备好了;
主图很早就换成了明显的圣诞氛围图;
场景图重点放在庭院、门廊、屋顶等使用环境;
文案中开始高频出现 Christmas、Holiday、Outdoor 等词;
本质上,他们是在提前告诉系统,这是一个明确的圣诞产品。
千万不能坐等旺季来了再匆忙做更新,可能会来不及。
价格策略并不是一开始就拉高
一个容易被忽略的细节是,很多卖家在 10 月反而选择稳价,甚至小幅降价。
目的并不是冲利润,而是跑数据。
他们更关心的是转化率、历史销量和关键词权重。
这个阶段,是在给后面的放量打地基,做铺垫。
这个关键动作用sif关键词的运营时光机功能很容易看的出来,在10月份就从16.99降到14.99,中间价格调整了好几次,应该是为了测试验证价格敏感性,但是到12月份之后就调回了16.99以保护利润;
这就避免了很多小卖家很可能会犯的错误:价格一旦降下去就很难涨回来~

广告打法不是猛烧,而是要分时间和分关键词
只看运营动作还不够,广告才是真正的“燃料”。
我用sif关键词的“广告透视仪”功能透视了他整个圣诞季的广告架构,发现有几个值得关注的点:
广告节奏非常明显,在每年的10-12月份才会投放广告,并且是在10月份就已经少量的投放广告了,但是预算不用太高,因为这个阶段的核心目标不是冲量,而是筛词;

通过广告活动带来的流量占比排序,找到流量最多的广告活动进行深度拆解学习,下面这个广告活动站到流量的84%,值得关注

点进去之后,发现christmas lights这个词占整个流量的94%,绝对是核心大词,需要重点关注~

在“查广告组”这里,可以根据圆圈的大小看到广告词的数量,以及随着时间推移数量的变化

另外点进去每一个圈里面可以看到广告关键词,这是洞察广告架构的最关键信息,大家要将主要精力用在分析这些广告词的特征之上,努力得到两个信息:该组广告的具体投放关键词和匹配模式

这里有一些可以用来判断的思路,或者一些经验之谈,但不代表一定可以得到明确的结果,更不代表你调研的对手一定会按常理出牌,所以大家需要根据实际情况来具体分析

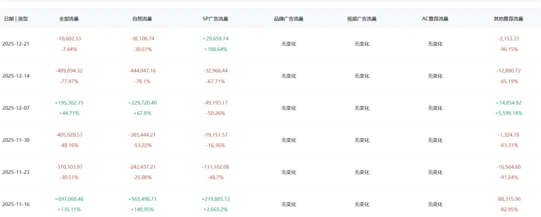
如何判断这些动作有没有真正起效果
这是很多卖家最容易忽略的一步。
你可能也在改图、调价、加广告,但问题在于,你真的知道哪些动作真正带来了增长吗?
复盘灯串这个案例,会看到一个非常清晰的现象。
广告加预算,并不会立刻带来总流量上涨
但当核心关键词排名稳定后,自然流量开始持续上升广告只是推手,真正决定能不能爆的,是自然流量是否能接住。
这一点在旺季尤其关键,你可以在流量时光机清晰的看到每个动作背后,带来的流量变化,并且诊断原因,效果好的策略和⼴告要继续保持;效果不好的要及时针对性做出调整;


把整个过程串起来,其实是一个完整闭环
如果把这个成功案例完整拆开,本质就是三个环节。
运营动作
广告打法
流量结果
先通过运营动作让系统识别产品属性
再通过广告把关键词和位置打上去
最后用流量变化验证哪些动作值得长期保留。
很多卖家之所以年年忙、年年累,问题不在执行力,而在于没有复盘。
只做动作,不验证结果。
当你能把一个爆款拆成可复用的动作,下一次旺季,就不会再靠运气。


每年到 11 月,亚马逊都会出现一个很明显的分化现象。
同样是圣诞产品,有人库存多的压到喘不过气,有人 12 月初就开始卖断货了。
问题往往不在于是否选错了品,而在于有没有踩对圣诞季的节奏。
这篇文章,我们就拿一个非常典型、竞争也很激烈的产品来拆解:亚马逊站内的户外圣诞灯串。不讲理论,按时间线,把一个成功的listing的关键动作一步步拆解出来,希望对大家未来的旺季运营有所帮助。
为什么选圣诞灯串这个品
先说结论,这是一个非常标准的圣诞季节性爆发型产品,ASIN:B0995QBK44。
它有几个很明显的特征:
搜索需求高度集中在 10 月到 12 月;
同款产品很多,但销量差距非常大;
价格波动明显,旺季反而更容易涨价一些;
广告投放节奏清晰;
也正因为这样复盘价值高,它非常适合用来拆解旺季打法,学会了这个其他品你就可以触类旁通。

旺季之前,成功卖家在做什么
很多人以为,圣诞爆单是 11 月才开始的。
但实际上,真正拉开差距的时间点在 9 月底到 10 月中旬。
复盘灯串类目的头部链接,会发现一些高度一致的动作。
Listing 很早就准备好了;
主图很早就换成了明显的圣诞氛围图;
场景图重点放在庭院、门廊、屋顶等使用环境;
文案中开始高频出现 Christmas、Holiday、Outdoor 等词;
本质上,他们是在提前告诉系统,这是一个明确的圣诞产品。
千万不能坐等旺季来了再匆忙做更新,可能会来不及。
价格策略并不是一开始就拉高
一个容易被忽略的细节是,很多卖家在 10 月反而选择稳价,甚至小幅降价。
目的并不是冲利润,而是跑数据。
他们更关心的是转化率、历史销量和关键词权重。
这个阶段,是在给后面的放量打地基,做铺垫。
这个关键动作用sif关键词的运营时光机功能很容易看的出来,在10月份就从16.99降到14.99,中间价格调整了好几次,应该是为了测试验证价格敏感性,但是到12月份之后就调回了16.99以保护利润;
这就避免了很多小卖家很可能会犯的错误:价格一旦降下去就很难涨回来~

广告打法不是猛烧,而是要分时间和分关键词
只看运营动作还不够,广告才是真正的“燃料”。
我用sif关键词的“广告透视仪”功能透视了他整个圣诞季的广告架构,发现有几个值得关注的点:
广告节奏非常明显,在每年的10-12月份才会投放广告,并且是在10月份就已经少量的投放广告了,但是预算不用太高,因为这个阶段的核心目标不是冲量,而是筛词;

通过广告活动带来的流量占比排序,找到流量最多的广告活动进行深度拆解学习,下面这个广告活动站到流量的84%,值得关注

点进去之后,发现christmas lights这个词占整个流量的94%,绝对是核心大词,需要重点关注~

在“查广告组”这里,可以根据圆圈的大小看到广告词的数量,以及随着时间推移数量的变化

另外点进去每一个圈里面可以看到广告关键词,这是洞察广告架构的最关键信息,大家要将主要精力用在分析这些广告词的特征之上,努力得到两个信息:该组广告的具体投放关键词和匹配模式

这里有一些可以用来判断的思路,或者一些经验之谈,但不代表一定可以得到明确的结果,更不代表你调研的对手一定会按常理出牌,所以大家需要根据实际情况来具体分析

如何判断这些动作有没有真正起效果
这是很多卖家最容易忽略的一步。
你可能也在改图、调价、加广告,但问题在于,你真的知道哪些动作真正带来了增长吗?
复盘灯串这个案例,会看到一个非常清晰的现象。
广告加预算,并不会立刻带来总流量上涨
但当核心关键词排名稳定后,自然流量开始持续上升广告只是推手,真正决定能不能爆的,是自然流量是否能接住。
这一点在旺季尤其关键,你可以在流量时光机清晰的看到每个动作背后,带来的流量变化,并且诊断原因,效果好的策略和⼴告要继续保持;效果不好的要及时针对性做出调整;


把整个过程串起来,其实是一个完整闭环
如果把这个成功案例完整拆开,本质就是三个环节。
运营动作
广告打法
流量结果
先通过运营动作让系统识别产品属性
再通过广告把关键词和位置打上去
最后用流量变化验证哪些动作值得长期保留。
很多卖家之所以年年忙、年年累,问题不在执行力,而在于没有复盘。
只做动作,不验证结果。
当你能把一个爆款拆成可复用的动作,下一次旺季,就不会再靠运气。







其他
04-09 周四











