紧急:这21款热卖新品已下证美国外观专利!
超值购 Haul详解 | GWD 布局 | OpenClaw学习路径,一起抢抓出海新机遇>>>
Bird feeder 喂鸟器

专利编号:Patent US D1121246
申请日期:2024/02/05
下证日期:2026/03/31
Headband for headphones 头戴耳机

专利编号:Patent US D1120906
申请日期:2024/07/23
下证日期:2026/03/31

专利编号:Patent US D1121215
申请日期:2025/06/12
下证日期:2026/03/31

专利编号:Patent US D1121085
申请日期:2023/08/24
下证日期:2026/03/31
Humidifier 加湿器

专利编号:Patent US D1118508
申请日期:2023/12/20
下证日期:2026/03/31

专利编号:Patent US D1120633
申请日期:2025/03/26
下证日期:2026/03/31

专利编号:Patent US D1120751
申请日期:2025/04/15
下证日期:2026/03/31
Right angle lock 直角锁

专利编号:Patent US D1118508
申请日期:2024/01/02
下证日期:2026/03/31

专利编号:Patent US D1120522
申请日期:2025/09/22
下证日期:2026/03/31
Fishing tackle holder 渔具架

专利编号:Patent US D1121100
申请日期:2024/02/12
下证日期:2026/03/31
Watch band 表带

专利编号:Patent US D1120796
申请日期:2025/02/21
下证日期:2026/03/31

专利编号:Patent US D1118466
申请日期:2025/01/16
下证日期:2026/03/31
Thumb brace 拇指支架

专利编号:Patent US D1121164
申请日期:2025/01/14
下证日期:2026/03/31
Multifunctional pliers 多功能钳子

专利编号:Patent US D1120717
申请日期:2025/01/11
下证日期:2026/03/31

专利编号:Patent US D1120869
申请日期:2025/01/07
下证日期:2026/03/31
Cup lid 杯盖

专利编号:Patent US D1120699
申请日期:2025/04/15
下证日期:2026/03/31
Bottle opener 开瓶器

专利编号:Patent US D1120715
申请日期:2024/12/10
下证日期:2026/03/31

专利编号:Patent US D1121252
申请日期:2024/08/06
下证日期:2026/03/31
Spinning top toy 陀螺玩具

专利编号:Patent US D1121049
申请日期:2024/06/20
下证日期:2026/03/31
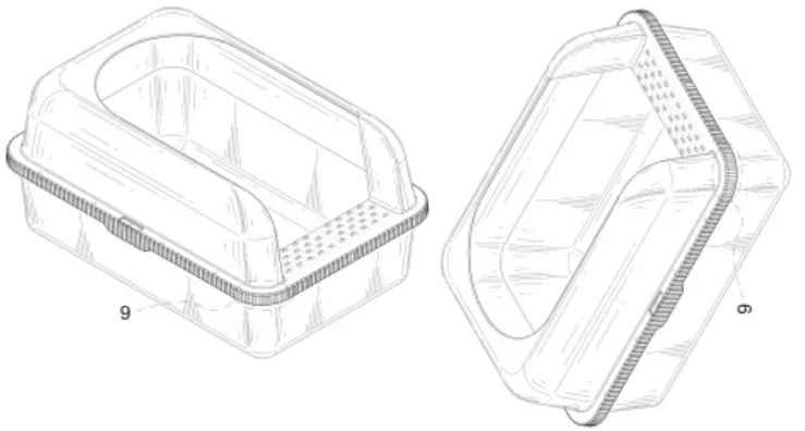
Container 容器

专利编号:Patent US D1120754
申请日期:2024/07/29
下证日期:2026/03/31

专利编号:Patent US D1118466
申请日期:2024/12/28
下证日期:2026/03/31
以上产品请注意查利文件,如有雷同产品在售,请警惕接下来被投诉甚至被钓鱼律所TRO的潜在风险。


Bird feeder 喂鸟器

专利编号:Patent US D1121246
申请日期:2024/02/05
下证日期:2026/03/31
Headband for headphones 头戴耳机

专利编号:Patent US D1120906
申请日期:2024/07/23
下证日期:2026/03/31

专利编号:Patent US D1121215
申请日期:2025/06/12
下证日期:2026/03/31

专利编号:Patent US D1121085
申请日期:2023/08/24
下证日期:2026/03/31
Humidifier 加湿器

专利编号:Patent US D1118508
申请日期:2023/12/20
下证日期:2026/03/31

专利编号:Patent US D1120633
申请日期:2025/03/26
下证日期:2026/03/31

专利编号:Patent US D1120751
申请日期:2025/04/15
下证日期:2026/03/31
Right angle lock 直角锁

专利编号:Patent US D1118508
申请日期:2024/01/02
下证日期:2026/03/31

专利编号:Patent US D1120522
申请日期:2025/09/22
下证日期:2026/03/31
Fishing tackle holder 渔具架

专利编号:Patent US D1121100
申请日期:2024/02/12
下证日期:2026/03/31
Watch band 表带

专利编号:Patent US D1120796
申请日期:2025/02/21
下证日期:2026/03/31

专利编号:Patent US D1118466
申请日期:2025/01/16
下证日期:2026/03/31
Thumb brace 拇指支架

专利编号:Patent US D1121164
申请日期:2025/01/14
下证日期:2026/03/31
Multifunctional pliers 多功能钳子

专利编号:Patent US D1120717
申请日期:2025/01/11
下证日期:2026/03/31

专利编号:Patent US D1120869
申请日期:2025/01/07
下证日期:2026/03/31
Cup lid 杯盖

专利编号:Patent US D1120699
申请日期:2025/04/15
下证日期:2026/03/31
Bottle opener 开瓶器

专利编号:Patent US D1120715
申请日期:2024/12/10
下证日期:2026/03/31

专利编号:Patent US D1121252
申请日期:2024/08/06
下证日期:2026/03/31
Spinning top toy 陀螺玩具

专利编号:Patent US D1121049
申请日期:2024/06/20
下证日期:2026/03/31
Container 容器

专利编号:Patent US D1120754
申请日期:2024/07/29
下证日期:2026/03/31

专利编号:Patent US D1118466
申请日期:2024/12/28
下证日期:2026/03/31
以上产品请注意查利文件,如有雷同产品在售,请警惕接下来被投诉甚至被钓鱼律所TRO的潜在风险。







其他
04-09 周四











