Item 1 of 1
下证不足半年,已有企业被#沐浴刷专利投诉下架!您的产品有这些特征吗?
2026-02-05 00:00
AI设计/3D打印/欧洲市场实战拆解,点击报名


当产品陷入专利争议,无论是为了防御还是破局,破译对方专利中的主要保护核心都是关键的第一步,我现将其专利保护核心概括如下:




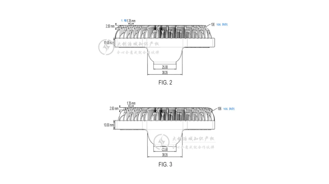
1. 中心刷毛:刷毛必须具有相对的第一平整表面和第二平整表面。
2. 两组刷毛:第一组刷毛和第二组刷毛必须从第一平整表面伸出。
中心刷体及两个平整面。 两组凸起的清洁纹组,呈波浪形、放射状、交替排布。 至少一组有凸起底座连接。 两组清洁纹存在高度差(第一高度 > 第二高度)。
该产品专利风险本公众号早在2024年就发过简单预警,如今战火重燃,最近又有企业被诉。若您有同类产品在售,务必警惕,及早排查风险。
TikTok、Facebook、谷歌、Twitter广告服务,0门槛抢占全球流量!
极速开户+优化投流+风险保障+效果跟踪,仅需4步,轻松撬动亿万海外流量,让品牌销量翻倍增长!
已成功开通5000+账户

最新热门报告作者标签
26年美国复活节消费将达249亿美元,创历史新高AMZ123获悉,近日,根据Adobe的预测,随着4月5日美国复活节临近,2026年3月28日至29日期间,线上与节日相关商品的消费额将较2026年以来的平均水平增长255%,明显高于2025年同期132%的增幅。从具体品类来看,节日相关商品需求大幅提升。塑料彩蛋的线上支出预计增长1030%(2025年为587%),复活节篮子增长870%(2025年为553%),染蛋用品增长810%(2025年为388%),节日装饰增长645%(2025年为395%),毛绒兔增长390%(2025年为257%)。
Shopee扩大越南中小企业扶持计划,“越南商品馆”将上线AMZ123获悉,近日,据外媒报道,Shopee正在加大对越南中小企业的支持力度,通过一系列长期举措推动越南本地电商发展、提升运营能力等多个方向。在本地市场层面,Shopee通过“Shopee Local Rise – Local Breakthrough(本地崛起)”项目,与各地政府和机构合作,推动电商发展规划,并帮助中小企业、合作社及个体经营者提升数字化能力。在胡志明市,通过“越南人优先使用越南商品”活动,Shopee与当地工贸部门合作推进“我爱越南商品”项目,帮助本地企业通过电商渠道触达全国消费者。2026年,该项目将继续推进,并通过每月固定的直播活动推广本土品牌和正品商品。
趣味开瓶器爆火,靠情绪价值在TikTok拿下百万GMV近年来,从圣诞树造型的厨房隔热垫,马卡龙配色的高颜值五金工具,再到能在浴室K歌的麦克风花洒,不难看出这些TikTok爆品的共性在于,跳出了 “纯工具、纯实用” 的刻板框架,转而以颜值、趣味、娱乐社交属性等为突破口,给人耳目一新的体验感。近期在TikTok美区,又一司空见惯的厨房用品成为被“选中的孩子”,凭借赋能后的趣味技能点在酒桌上开辟出一片“整活修罗场”。01TikTok爆款开瓶器TT123观察到,在一周的TikTok美区视频带货热销榜,新入围了一款炒热酒桌氛围的神器,发令枪开瓶器。近一周时间, 这款产品在一则播放突破420万+视频的拉动下,成为炙手可热的单品。
亚马逊澳洲站上线韩妆专区AMZ123获悉,近日,亚马逊澳大利亚站Amazon.com.au上线了全新“K-Beauty(韩妆)”专区,集中引入超过60个来自韩国的正品护肤和彩妆品牌。该专区旨在帮助消费者更清晰地了解和选择韩妆产品,通过结构化的页面设计降低选购门槛。从页面结构来看,该专区围绕韩国护肤常见的多步骤流程进行分类,包括双重清洁、功效护理以及针对性成分护理等环节,使消费者能够按照完整护肤步骤进行选购。同时,产品重点突出当前在社交媒体上流行的成分,如肽类成分、植物提取物(如积雪草)以及PDRN(鲑鱼DNA)等,这些成分因强调修复和功效导向,在年轻消费群体中关注度较高。
亚洲食品在俄热销,Wildberries多品类增速翻倍AMZ123获悉,近日,俄罗斯电商平台Wildberries发布数据显示,2025年该平台来自亚洲国家的食品销售额同比增长40%,多个品类在2026年初继续保持快速增长态势。这一增长反映出Wildberries所覆盖市场对亚洲产品的需求持续上升。目前,Wildberries在欧亚地区拥有超过7900万活跃客户,亚洲文化和美食在其业务所在国日益普及,为亚洲制造商拓展区域销售提供了有利条件。从具体品类来看,中国大陆食品表现突出。2025年,主打健康概念的大豆制品销量同比增长超过四倍。进入2026年,低碳水化合物和无麸质面条在1月至2月期间的销量较去年同期翻了一番。印度食品在Wildberries平台上同样增长显著。
世贸组织电商关税禁令谈判陷入僵局AMZ123获悉,近日,据外媒报道,World Trade Organization(世贸组织)第14届部长级会议(MC14)围绕是否延长跨境电商关税禁令展开激烈讨论,但成员之间始终存在分歧。该禁令自1998年实施以来,要求各成员不对电商(如数字下载和在线服务)征收关税,并在过去近30年中每两年延长一次。在本次会议中,多方一度考虑将该禁令延长五年,甚至有草案提出将期限延长至2031年6月30日。然而,截至会议结束,各方仍未达成最终一致意见。会议在喀麦隆首都雅温得举行,为期四天,最终未能形成正式协议或部长宣言。
亚马逊生意,加速向少数卖家集中“强者愈强、富者愈富”的马太效应,正在亚马逊美国站疯狂上演。来自Marketplace Pulse的最新数据显示,截至2026年2月,在亚马逊美国站上,仅7760名的头部卖家就包揽了平台第三方总GMV的50%,而这部分卖家占活跃卖家总数的比例仅为1.6%。对比三年前,这项数据呈现出的趋势更为显著:2023年贡献50%份额的卖家尚有15000名,不到三年时间,撑起亚马逊半壁江山的卖家数量几乎锐减了一半,财富集中度正急剧上升。属于草根卖家的野蛮生长时代,正在彻底宣告落幕。中国卖家们在性价比的战场上大打出手,在品牌化的舞台上却有些力不从心。
4月上线!TikTok墨西哥站开放美国发货通道!五种自运营模式并行,短视频驱动420亿比索销售额,你准备好了吗?
深圳制造又出爆款,电热冰淇淋勺在TikTok爆单又一国产小家电火遍海外,TikTok卖家已入账数百万
严查启动!亚马逊大批链接被下架|跨境圈一周头条|圈子知道01严查启动!亚马逊大批链接被下架近日,有卖家反馈,亚马逊加拿大站已启动针对儿童学习用品的合规审查,部分不符合要求的商品链接已被批量下架。此次审查基于《危险产品法案》及SOR相关法规,对产品安全性和标签信息提出了严格要求。尤其是涉及软塑料和涂层材料的产品,如书包、笔袋、文具盒等,需严格控制邻苯二甲酸盐及铅含量,超标即面临下架风险。除材质要求外,标签规范也成为重点审核内容。产品需使用英法双语标识,且必须为印刷形式;同时需标明制造商信息、生产日期、批次编号及适用年龄等完整信息。此外,检测报告要求同样严格,必须由ISO 17025或ILAC认可实验室出具,且有效期仅为一年,过期需重新提交。
亚马逊生意,加速向少数卖家集中“强者愈强、富者愈富”的马太效应,正在亚马逊美国站疯狂上演。来自Marketplace Pulse的最新数据显示,截至2026年2月,在亚马逊美国站上,仅7760名的头部卖家就包揽了平台第三方总GMV的50%,而这部分卖家占活跃卖家总数的比例仅为1.6%。对比三年前,这项数据呈现出的趋势更为显著:2023年贡献50%份额的卖家尚有15000名,不到三年时间,撑起亚马逊半壁江山的卖家数量几乎锐减了一半,财富集中度正急剧上升。属于草根卖家的野蛮生长时代,正在彻底宣告落幕。中国卖家们在性价比的战场上大打出手,在品牌化的舞台上却有些力不从心。
世贸组织电商关税禁令谈判陷入僵局AMZ123获悉,近日,据外媒报道,World Trade Organization(世贸组织)第14届部长级会议(MC14)围绕是否延长跨境电商关税禁令展开激烈讨论,但成员之间始终存在分歧。该禁令自1998年实施以来,要求各成员不对电商(如数字下载和在线服务)征收关税,并在过去近30年中每两年延长一次。在本次会议中,多方一度考虑将该禁令延长五年,甚至有草案提出将期限延长至2031年6月30日。然而,截至会议结束,各方仍未达成最终一致意见。会议在喀麦隆首都雅温得举行,为期四天,最终未能形成正式协议或部长宣言。
欧盟拟对跨境电商包裹加收新处理费,最迟11月实施AMZ123获悉,近日,欧洲议会与欧盟理事会就欧盟关税法改革达成初步协议,这是自1968年以来最重要的一次改革。该改革重点围绕电商平台责任、包裹收费机制以及海关系统数字化等方面展开,旨在加强对来自欧盟以外国家商品的监管,提升市场公平性与安全性。根据协议,未来从非欧盟国家直接寄送至欧洲消费者的商品,将新增一项“处理费用”,用于覆盖不断增长的小额包裹带来的额外海关处理成本。该费用将由负责缴纳关税的同一主体承担,以避免成本转嫁给消费者。具体收费标准将由欧盟委员会制定,并每两年进行一次评估。成员国需在相关信息系统上线后开始征收,最迟不晚于2026年11月1日实施。
三个国家与伊朗达成协议,部分船只可以通过霍尔木兹海峡在中东冲突持续升级、全球航运通道高度紧张的背景下,霍尔木兹海峡出现有限度“松动”迹象。3月28日,泰国、巴基斯坦和马来西亚相继确认,已通过外交渠道与伊朗达成沟通安排,部分本国船只获准通过这一全球最关键的能源运输咽喉。据多方消息,泰国方面表示,已与伊朗达成协议,泰国油轮可在安全条件下通过霍尔木兹海峡,以缓解国内油价上涨压力;巴基斯坦则获得伊朗新增放行20艘船只的许可,未来预计每日将有2艘船舶获准通行;马来西亚方面也确认,数艘此前滞留在海峡的油轮已获放行,但仍需等待合适的“通行窗口”。不过,这一“放行”并不意味着航道恢复正常。当前霍尔木兹海峡依然处于高度管控状态。
趣味开瓶器爆火,靠情绪价值在TikTok拿下百万GMV近年来,从圣诞树造型的厨房隔热垫,马卡龙配色的高颜值五金工具,再到能在浴室K歌的麦克风花洒,不难看出这些TikTok爆品的共性在于,跳出了 “纯工具、纯实用” 的刻板框架,转而以颜值、趣味、娱乐社交属性等为突破口,给人耳目一新的体验感。近期在TikTok美区,又一司空见惯的厨房用品成为被“选中的孩子”,凭借赋能后的趣味技能点在酒桌上开辟出一片“整活修罗场”。01TikTok爆款开瓶器TT123观察到,在一周的TikTok美区视频带货热销榜,新入围了一款炒热酒桌氛围的神器,发令枪开瓶器。近一周时间, 这款产品在一则播放突破420万+视频的拉动下,成为炙手可热的单品。
境外主体也难逃!亚马逊Q4税务数据穿透公司外壳,直指中国卖家!注册地不再是“护身符”,税务合规已成跨境生存底线!
《TikTok Shop 2025年度报告》PDF下载2025年,TikTok Shop进一步加快扩张步伐,在巩固欧美成熟市场的同时,积极开拓新兴市场,先后上线德国、意大利、法国、日本等站点。此举不仅为平台带来新增量,也体现出其多元化市场战略的初步成效,以分散地缘政治风险。
《Shopee2025印尼站点X 汽车摩托品类专题》PDF下载印尼当地汽车保有量并不高,每一千人的机动车保有量仅96人,未来可提升的空间仍大。空间参照系可以看泰国和马来,2024年泰国汽车保有量为322辆/千人,马来西亚为531辆/千人。
《2026年Shopee运动户外类目自行车爆品分享》PDF下载巴西骑行爱好群体广泛,但平台上热销品呈现出的国际大牌极少,推测可能原因是国际品牌可能主要通过线下经销或自行渠道销售,未深度参与Shopee等本土电商。因此巴西用户在平台上几乎接触不到这些高端品牌产品。平台上巴西用户更倾向购买本土品牌的自行车,可能出于价格实惠和售后便利考虑。
2025年TikTok生态发展白皮书2025年,全球内容电商迈入深度跃迁的新周期。TikTokShop正以前所未有的速度拓展市场版图,完成从高速增长向高质量增长的跃迁。在这一进程中,生态结构重构、参与者多元化、全球政策协同等因素叠加,构成内容电商演进的核心变量。
《2026美妆健康与保健创新报告》PDF下载每年,我们都会分析美妆与个护以及健康与家居类目的动态变化。但2026 年呈现了一个意外的新现象:这两个类目不再孤立运营。美妆和健康正与食品杂货融合,形成由配方创新、成分病毒式传播和消费者行为演变所驱动的强大三方生态系统。
《中国宠物食品行业出海国别机会洞察报告》PDF下载本报告旨在深入分析中国宠物食品的全球出口机遇与国别差异,通过对行业发展现状、出口趋势及各国政策环境的研究,揭示中国宠物食品企业在国际市场中的竞争优势与面临的潜在挑战。
《市场洞察:2025中国汽车出海英国市场动态追踪》PDF下载根据英国汽车制造商与贸易商协会数据显示,2025年1-9月中国汽车出海英国累计销量142,684辆,同比增长91%,远超英国整体市场4.2%增速。中国汽车出海英国市场份额从年初5%升至9月12.4%,成为英国第二大汽车来源国,仅次于德国。
《2026取暖电器行业简析报告》PDF下载系统梳理了行业发展脉络、市场格局与未来趋势。取暖电器按能源类型与产品形态可分为电取暖、燃气取暖、辅助本报告为 2026 年中国取暖电器行业专业简析,集成类三大核心品类,行业发展历经萌芽起步、快速成长、加速升级、高质量发展四大阶段,完成了从单一功能向智能化、节能化、场景化的全面演进。

下证不足半年,已有企业被#沐浴刷专利投诉下架!您的产品有这些特征吗?
案说跨境知识产权
2026-02-05 00:00
1811


当产品陷入专利争议,无论是为了防御还是破局,破译对方专利中的主要保护核心都是关键的第一步,我现将其专利保护核心概括如下:




1. 中心刷毛:刷毛必须具有相对的第一平整表面和第二平整表面。
2. 两组刷毛:第一组刷毛和第二组刷毛必须从第一平整表面伸出。
中心刷体及两个平整面。 两组凸起的清洁纹组,呈波浪形、放射状、交替排布。 至少一组有凸起底座连接。 两组清洁纹存在高度差(第一高度 > 第二高度)。
该产品专利风险本公众号早在2024年就发过简单预警,如今战火重燃,最近又有企业被诉。若您有同类产品在售,务必警惕,及早排查风险。
1







其他
04-09 周四











