多个隐匿案件曝光,又是国人原告搞事!尽快下架避免侵权!
Wayfair官方经理解码定价运营策略,拆解亿级大卖0-1运营实战全路径!点击获取>>>
宠物围栏外观专利
案件编号:25-cv-392
代理律所:AVEK IP, LLC
维权产品:宠物围栏
受理法院:德克萨斯州
原告Wuxi Gougelila Electronic Commerce Co., Ltd.是无锡的一家公司,在美国德克萨斯州发起知识产权维权诉讼,目前该案已取得法院批准的临时限制令。

案件涉及专利产品是一款宠物围栏。该产品以可折叠、模块化拼接设计为特点,采用安全材质,适用于犬、猫等多种中小型宠物,专利细节如下,宠物用品卖家速查下架!


刺绣花卉图案版权
案件编号:25-cv-15166
代理律所:Yunting Law
维权产品:刺绣花卉图案
受理法院:伊利诺伊州
原告Hangzhou Yuanzu Technology Co., Ltd是一家杭州的企业。
本案起诉的版权图:




HVAC ADAPTOR CORD 适配线
案件编号:26-cv-917
代理律所:Stratum Law LLC
维权产品:HVAC ADAPTOR CORD 适配线
受理法院:伊利诺伊州
原告Dun Lan是我国卖家,案件信息暂时未公开,但在起诉书中表明维权的是适配线产品,且原告名下仅有一条外观专利:USD985513,和起诉书中的描述一致:



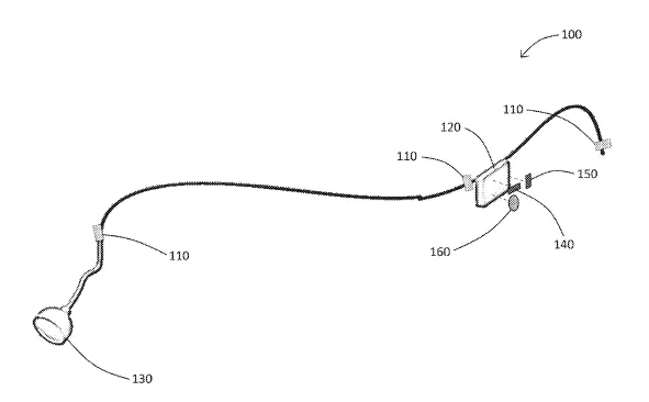
感应免提头灯发明专利
案件编号:26-cv-404
代理律所:AVEK IP LLC
维权产品:感应免提头灯
受理法院:德克萨斯州
本案起诉的是一款解放双手的免提头灯,原告是针对医疗、户外探险等领域中传统头灯操作不便,研发了一款创新免提头灯。该产品采用红外传感器技术,用户只需挥手或做出简单动作即可开关灯光,避免接触带来的不便与风险。据数据显示户外头灯年销破千万件,亚马逊上也有大批产品月销过千破万。





宠物围栏外观专利
案件编号:25-cv-392
代理律所:AVEK IP, LLC
维权产品:宠物围栏
受理法院:德克萨斯州
原告Wuxi Gougelila Electronic Commerce Co., Ltd.是无锡的一家公司,在美国德克萨斯州发起知识产权维权诉讼,目前该案已取得法院批准的临时限制令。

案件涉及专利产品是一款宠物围栏。该产品以可折叠、模块化拼接设计为特点,采用安全材质,适用于犬、猫等多种中小型宠物,专利细节如下,宠物用品卖家速查下架!


刺绣花卉图案版权
案件编号:25-cv-15166
代理律所:Yunting Law
维权产品:刺绣花卉图案
受理法院:伊利诺伊州
原告Hangzhou Yuanzu Technology Co., Ltd是一家杭州的企业。
本案起诉的版权图:




HVAC ADAPTOR CORD 适配线
案件编号:26-cv-917
代理律所:Stratum Law LLC
维权产品:HVAC ADAPTOR CORD 适配线
受理法院:伊利诺伊州
原告Dun Lan是我国卖家,案件信息暂时未公开,但在起诉书中表明维权的是适配线产品,且原告名下仅有一条外观专利:USD985513,和起诉书中的描述一致:



感应免提头灯发明专利
案件编号:26-cv-404
代理律所:AVEK IP LLC
维权产品:感应免提头灯
受理法院:德克萨斯州
本案起诉的是一款解放双手的免提头灯,原告是针对医疗、户外探险等领域中传统头灯操作不便,研发了一款创新免提头灯。该产品采用红外传感器技术,用户只需挥手或做出简单动作即可开关灯光,避免接触带来的不便与风险。据数据显示户外头灯年销破千万件,亚马逊上也有大批产品月销过千破万。










其他
04-09 周四











