Erchonia激光减脂仪专利首维权!医疗器械卖家需注意规避侵权
2025年9月3日这款激光减脂仪发起2项专利TRO,案件号:25-cv-10548、25-cv-105605;侵权类型:发明专利;专利标题:带扫描光束点和通用滑架的扫描治疗激光器、使用波长小于 632 nm 的激光能量的非侵入性减肥方法。

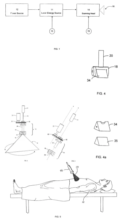
US7947067B2专利于2011年5月24日下证。
专利摘要:本发明是一种具有通用托架的扫描激光装置,该托架可容纳任何类型的光学元件。 托架围绕与入射激光束基本同轴的轴旋转,从而使穿过光学元件的激光能量扫过360°圆。 优选实施例使用棒状透镜作为光学元件,从而产生大的圆形束斑。 该设备可以利用各种波长和脉冲频率的激光源,并且可以组合多个设备来扫描更大的区域。



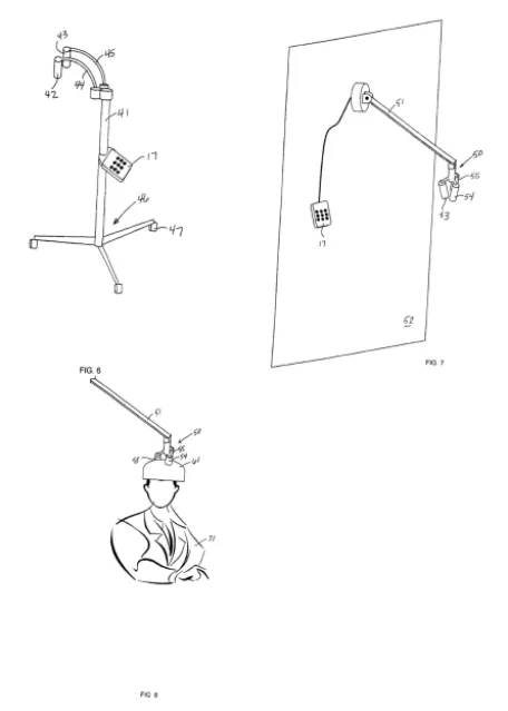
US9149650B2专利于2015年10月06日下证。
专利摘要:一种瘦身方法,方法 包括 将波长短于 570 nm 的单色激光能量以一定剂量率从外部施加到患者的目标区域,该剂量率不会引起治疗组织的可检测温度升高。








2025年9月3日这款激光减脂仪发起2项专利TRO,案件号:25-cv-10548、25-cv-105605;侵权类型:发明专利;专利标题:带扫描光束点和通用滑架的扫描治疗激光器、使用波长小于 632 nm 的激光能量的非侵入性减肥方法。

US7947067B2专利于2011年5月24日下证。
专利摘要:本发明是一种具有通用托架的扫描激光装置,该托架可容纳任何类型的光学元件。 托架围绕与入射激光束基本同轴的轴旋转,从而使穿过光学元件的激光能量扫过360°圆。 优选实施例使用棒状透镜作为光学元件,从而产生大的圆形束斑。 该设备可以利用各种波长和脉冲频率的激光源,并且可以组合多个设备来扫描更大的区域。



US9149650B2专利于2015年10月06日下证。
专利摘要:一种瘦身方法,方法 包括 将波长短于 570 nm 的单色激光能量以一定剂量率从外部施加到患者的目标区域,该剂量率不会引起治疗组织的可检测温度升高。











其他
04-16 周四










