iContact Camera对视摄像头,亚马逊已发起美国发明专利投诉!
AI设计/3D打印/欧洲市场实战拆解,点击报名


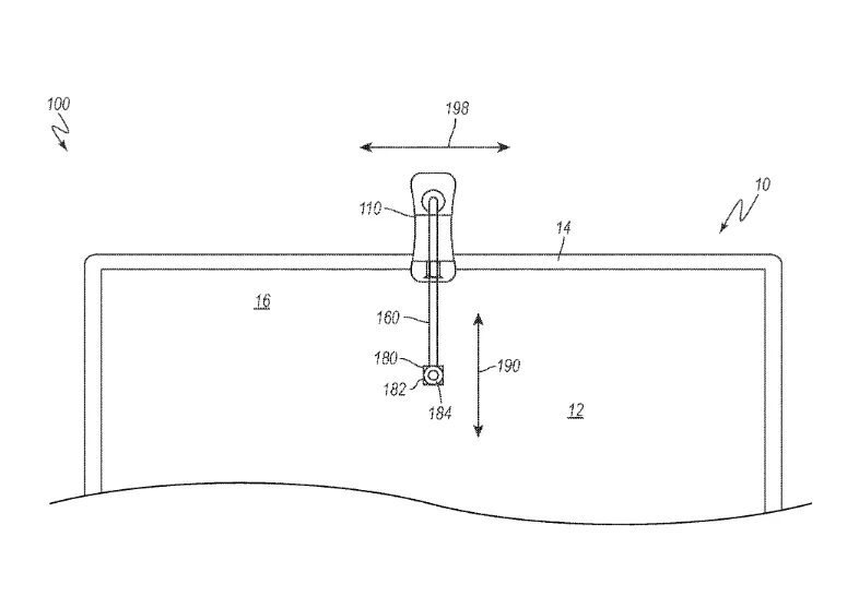
它的核心逻辑是重构摄像头位置:基础版靠可调节线槽固定于屏幕,Pro 款则配备可伸缩臂,精准对齐人眼高度,让用户直视屏幕时自然实现眼神交流,同时通过人像镜头裁剪干扰背景、增强进光量,提升画面质感。从亚马逊数据来看,其基础版定价 189 美元,Pro 款 249 美元,虽定位中高端,但凭借 “自然对视” 的核心需求满足,受远程办公企业、在线教育机构及主播群体青睐。
从市场数据维度看,iContact Camera 的投诉动作其实暗藏销售压力 —— 借助 sif 关键词的流量时光机功能可清晰看到,这款 ASIN自 2024 年 11 月上架后,基础版、Pro 款的订单量曾稳定增长,甚至在 2025 年 4 月达到月销 500 + 的峰值,核心自然词 “iContact camera pro” 的流量占比一度高达 37.42%,广告端也以 “webcam”“computer camera” 等关键词持续获量。



经检索发现,iContact Camera的专利权人早在 2021 年 7 月 2 日就通过 PCT 国际申请(WO2022/150245A1)启动全球知识产权布局,指定进入中国、美国等核心跨境市场。目前中国发明专利仍处于实质审查阶段,而美国发明专利已在 2023 年 5 月 30 日正式授权,专利号 US11662054B2,正是本次亚马逊投诉主张的专利。








综合两项独立权利要求的保护范围,规避该专利的重点可聚焦于以下方向:
改变支撑部件“Flexible Conduit”(柔性导管)的特征 彻底更改夹子(Clip) 的固定方式与结构; 检索更早的现有技术,若能证明专利技术方案在优先权日(2021年1月7日)前已被公开,可尝试以 “缺乏新颖性 / 创造性” 为由提出专利无效抗辩。




它的核心逻辑是重构摄像头位置:基础版靠可调节线槽固定于屏幕,Pro 款则配备可伸缩臂,精准对齐人眼高度,让用户直视屏幕时自然实现眼神交流,同时通过人像镜头裁剪干扰背景、增强进光量,提升画面质感。从亚马逊数据来看,其基础版定价 189 美元,Pro 款 249 美元,虽定位中高端,但凭借 “自然对视” 的核心需求满足,受远程办公企业、在线教育机构及主播群体青睐。
从市场数据维度看,iContact Camera 的投诉动作其实暗藏销售压力 —— 借助 sif 关键词的流量时光机功能可清晰看到,这款 ASIN自 2024 年 11 月上架后,基础版、Pro 款的订单量曾稳定增长,甚至在 2025 年 4 月达到月销 500 + 的峰值,核心自然词 “iContact camera pro” 的流量占比一度高达 37.42%,广告端也以 “webcam”“computer camera” 等关键词持续获量。



经检索发现,iContact Camera的专利权人早在 2021 年 7 月 2 日就通过 PCT 国际申请(WO2022/150245A1)启动全球知识产权布局,指定进入中国、美国等核心跨境市场。目前中国发明专利仍处于实质审查阶段,而美国发明专利已在 2023 年 5 月 30 日正式授权,专利号 US11662054B2,正是本次亚马逊投诉主张的专利。








综合两项独立权利要求的保护范围,规避该专利的重点可聚焦于以下方向:
改变支撑部件“Flexible Conduit”(柔性导管)的特征 彻底更改夹子(Clip) 的固定方式与结构; 检索更早的现有技术,若能证明专利技术方案在优先权日(2021年1月7日)前已被公开,可尝试以 “缺乏新颖性 / 创造性” 为由提出专利无效抗辩。















其他
04-09 周四











