跨境侵权预警——6 合1多功能开瓶器小心侵权
这款开瓶器表面非常光滑,易抓握,手感舒适。它有六种用途,设计很到位。大环可以打开罐子;小环可以打开水瓶和汽水瓶类产品;小环里面的金属插件相当于开瓶器,则可以打开啤酒类产品;末端的挂钩打开一些易拉罐装的食品,它可以保护指甲不受伤害;大环和小环之间的区域,还可以去除瓶子和罐子上的密封件;最后是开瓶器的末端,末端内置刀片,可以帮助打开一些密封包装袋,比如薯片。
小编经过检索发现:
专利情况:
外观专利情况,注册了美国外观专利,专利号:D538119,已于2021年期满。
发明专利情况:目前国外注册了美国、欧洲发明专利
专利号分别为:US7582350B2/EP1866145B1
美国专利预估到期时间2027年,欧洲专利预估到期时间2026年。
美国发明专利详情如下所示:

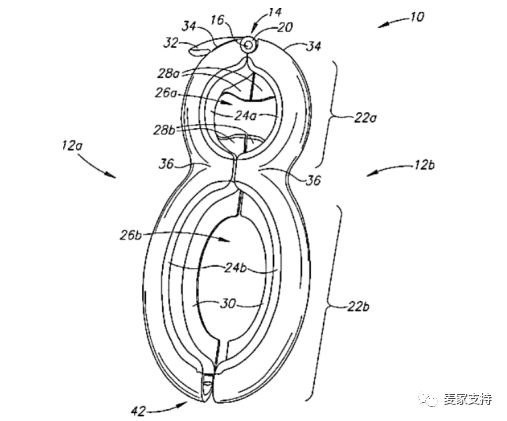
一种容器打开工具,包括相互铰接固定的第一腿和第二腿。每条腿具有近端和远端部分,每一个都具有包括抓握材料的孔壁。第一腿和第二腿的孔壁形式可定位以形成近端孔和远端孔。远端部分的孔壁限定细长孔,例如卵圆形或椭圆形。瓶口凸缘固定到第一和第二腿并伸入近端孔中。当腿被枢转在一起时,凸缘定位成彼此相邻并且用作单个开瓶器。刀片靠近远端固定到第二腿,定位在第二腿的远端附近形成的凹槽内。突起形成在第一支腿的远端并且可定位在刀片附近以将袋子压靠在刀片上。

本发明涉及包装打开装置,能够打开各种包装的装置,包括瓶子、罐头、罐子和袋子。

权利要求:
开箱工具,第一和第二腿彼此铰接固定,每条腿包括近端部分和远端部分各自具有包含抓握材料的内孔壁,第一和第二腿的近端部分的孔壁可定位以形成近端孔,第一和第二腿的远端部分的孔壁可定位以形成近端孔 形成远端孔,近端孔和远端孔具有不同的尺寸;第一腿具有与内部近端孔壁相对的外表面; 和固定到外表面并从外表面基本切向延伸的突出物以限定突出物和外表面之间的内部空间。
容器打开工具,第一和第二腿枢转地固定到彼此,每支腿包括,近端部分和远端部分各自具有包含抓握材料的内孔壁,第一和第二腿的近端部分的孔壁可定位以形成近端孔,第一和第二腿的远端部分的孔壁可定位以形成近端孔形成远端孔,近端孔和远端孔具有不同尺寸,第一腿具有与近侧内孔壁相对的第一外表面,第二腿具有与近侧内孔壁相对的第二外表面; 和第一腿上的第一内接触表面和第二腿上的第二内接触表面,当第一腿和第二腿朝向彼此枢转以形成近端孔和远端孔时,第一内接触表面和第二内接触表面彼此相邻光圈;第一腿还具有带锋利边缘的刀片,刀片定位在第一腿的凹陷部分内,使得锋利边缘在第一内接触表面下方; 第二腿还具有突起,当第一支腿和第二支腿彼此相邻地枢转以形成远侧孔时,该突起被配置成邻接刀片的锋利边缘。
专利小结:
1、容器打开工具有固定在一起的两个腿,每条腿有近端和远端,近端部分和远端部分各自有内孔壁,孔壁可定位形成端孔,两个端孔尺寸不同;
2、突起固定在第一腿的外表面并且从外表面切向延伸;
3、容器打开工具有两个外表面和两个内接触表面,两个内接触表面相邻;
4、第二腿的远端凹槽内含刀片。

这款开瓶器表面非常光滑,易抓握,手感舒适。它有六种用途,设计很到位。大环可以打开罐子;小环可以打开水瓶和汽水瓶类产品;小环里面的金属插件相当于开瓶器,则可以打开啤酒类产品;末端的挂钩打开一些易拉罐装的食品,它可以保护指甲不受伤害;大环和小环之间的区域,还可以去除瓶子和罐子上的密封件;最后是开瓶器的末端,末端内置刀片,可以帮助打开一些密封包装袋,比如薯片。
小编经过检索发现:
专利情况:
外观专利情况,注册了美国外观专利,专利号:D538119,已于2021年期满。
发明专利情况:目前国外注册了美国、欧洲发明专利
专利号分别为:US7582350B2/EP1866145B1
美国专利预估到期时间2027年,欧洲专利预估到期时间2026年。
美国发明专利详情如下所示:

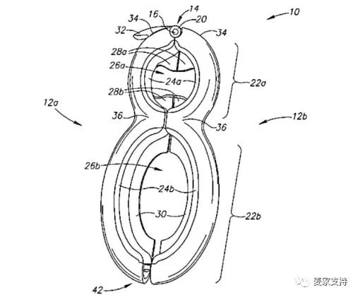
一种容器打开工具,包括相互铰接固定的第一腿和第二腿。每条腿具有近端和远端部分,每一个都具有包括抓握材料的孔壁。第一腿和第二腿的孔壁形式可定位以形成近端孔和远端孔。远端部分的孔壁限定细长孔,例如卵圆形或椭圆形。瓶口凸缘固定到第一和第二腿并伸入近端孔中。当腿被枢转在一起时,凸缘定位成彼此相邻并且用作单个开瓶器。刀片靠近远端固定到第二腿,定位在第二腿的远端附近形成的凹槽内。突起形成在第一支腿的远端并且可定位在刀片附近以将袋子压靠在刀片上。

本发明涉及包装打开装置,能够打开各种包装的装置,包括瓶子、罐头、罐子和袋子。

权利要求:
开箱工具,第一和第二腿彼此铰接固定,每条腿包括近端部分和远端部分各自具有包含抓握材料的内孔壁,第一和第二腿的近端部分的孔壁可定位以形成近端孔,第一和第二腿的远端部分的孔壁可定位以形成近端孔 形成远端孔,近端孔和远端孔具有不同的尺寸;第一腿具有与内部近端孔壁相对的外表面; 和固定到外表面并从外表面基本切向延伸的突出物以限定突出物和外表面之间的内部空间。
容器打开工具,第一和第二腿枢转地固定到彼此,每支腿包括,近端部分和远端部分各自具有包含抓握材料的内孔壁,第一和第二腿的近端部分的孔壁可定位以形成近端孔,第一和第二腿的远端部分的孔壁可定位以形成近端孔形成远端孔,近端孔和远端孔具有不同尺寸,第一腿具有与近侧内孔壁相对的第一外表面,第二腿具有与近侧内孔壁相对的第二外表面; 和第一腿上的第一内接触表面和第二腿上的第二内接触表面,当第一腿和第二腿朝向彼此枢转以形成近端孔和远端孔时,第一内接触表面和第二内接触表面彼此相邻光圈;第一腿还具有带锋利边缘的刀片,刀片定位在第一腿的凹陷部分内,使得锋利边缘在第一内接触表面下方; 第二腿还具有突起,当第一支腿和第二支腿彼此相邻地枢转以形成远侧孔时,该突起被配置成邻接刀片的锋利边缘。
专利小结:
1、容器打开工具有固定在一起的两个腿,每条腿有近端和远端,近端部分和远端部分各自有内孔壁,孔壁可定位形成端孔,两个端孔尺寸不同;
2、突起固定在第一腿的外表面并且从外表面切向延伸;
3、容器打开工具有两个外表面和两个内接触表面,两个内接触表面相邻;
4、第二腿的远端凹槽内含刀片。




福建
12-12 周五











