非标产品TACOS从23%压到10%!实战复盘
AI设计/3D打印/欧洲市场实战拆解,点击报名
目标是把日均拉到40单以上。刚接手就遇到大坑--系统直接给这条链接扣了个"高退货率"的帽子。
结果就是广告转化瞬间崩盘:SP投放完全失灵,ACOS上升。但我没打算就这么认栽。
换个思路,用数据来拆,用节奏来调,一边试错一边放大有效的通道。最后在会员日和BD活动的助推下,不光冲上了日销高峰,还把利润和TACOS拉回到可控。
这篇文章,就按照当时的时间线和决策节点复盘一下,过程中遇到的问题、怎么解的,我都摊开说,给做非标的朋友一个参考。
Part 1
诊断
接手时的第一诊断:高退货标签带来的链式反应
接手时的关键现象与问题点如下:
1.系统给了个"高退货率"标签,结果触发了流量限制,广告转化也被压制。
2.SP转化率瞬间掉了大概2个点,直接ACOS。原本靠SP 撑起来的广告架构,当场废掉,这个品本身还是非标。
3.变体多、场景化强,用户下单更多是"看到喜欢"而不是搜索某个关键词。所以本来关键词承接力就弱,被系统标签一压,简直雪上加雪。
我的初步判断是:问题有两层。
一方面是标签直接在广告和流量层面卡死你;另一方面,退货率本身说明listing可能有些地方和买家预期不符(比如描述、尺寸、体验)。
但这些不是一两天能改好的。短期内我知道没法立刻洗掉标签,所以只能靠广告策略去抢时间、抢流量窗口。
Part 2
应对
第一步应对:控词与架构重建(未果,但必要)
我的第一反应是--必须回归基础,把广告架构重新梳理一遍,同时对关键词做一次彻底的"词频清洗"。
具体动作分成两步:
第一步,广告结构重建。
我把原有的广告架构做了检查,检查之前没有铺的流量入口, 从自动、类目、asin、品类都检查一遍,查漏补缺把流量入口都完善上。
同时,对历史广告数据做了一轮排查,把那些长时间消耗却没有转化的无效词逐一否定掉,尽量清掉流量里的杂质,让预算集中在更可能出单的入口。
第二步,手动广告控词。
关键词重新进行了词频分析,对于核心相关词、长尾扩展词、场景关联词重新做了分层分类,在关键词手动广告打法上,以广泛匹配为主,让广告系统尽可能去探索更多长尾和潜在需求场景,用流量面去"撒网",再通过否词把低质流量逐步清理掉。
这样既能保证覆盖面,又能在探索中找到那些用户意外能转化的词,而不是一开始就把流量锁死在少数精准词上。力图通过这样的方式,硬把SP的转化拉回来。
结果与结论。
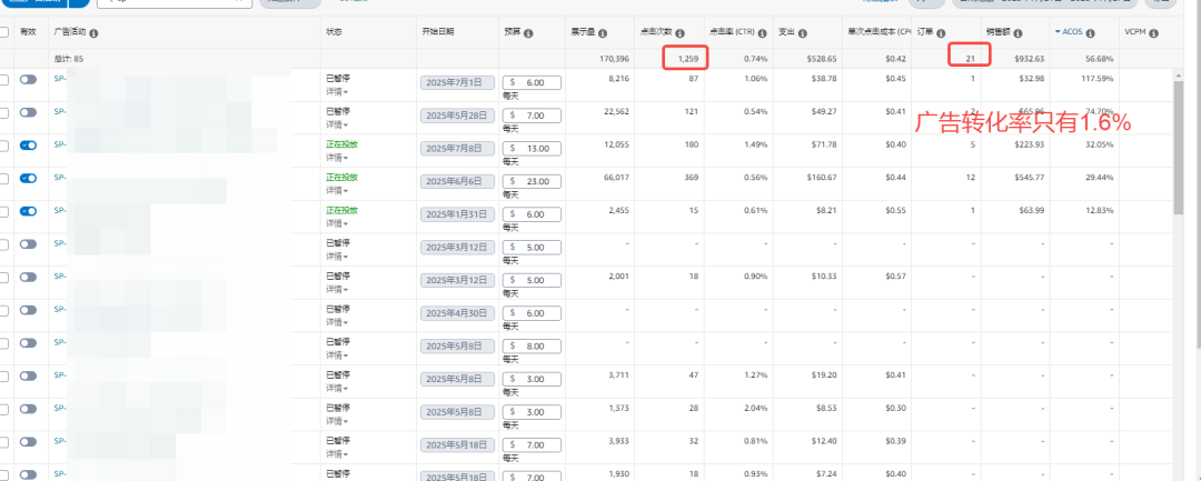
结构确实变得更干净了,无效流量也削掉不少,但实际数据告诉我,转化依旧回不去,SP广告的表现始终受制于"高退货率"标签的限制。转化率只有1.6%。
换句话说,再精准的关键词、再规整的结构,也无法在短期内弥补平台对该链接的"信任缺失"。
这是我在第一阶段得到的结论,系统标签的权重远超广告架构优化,仅靠关键词和控词打法,不足以立刻破解困局。

Part 3
观察到的转机
观察到的转机:SB/SBV表现反而更好
在复盘投放数据时,我意外发现了一条突破口,Sponsored Brands(SB)的表现竟然明显优于SP。
它们的转化率更高,ROAS稳定ACOS基本维持在25%-30%的可盈利区间,成为当下最稳的流量抓手。
问题是,成交订单主要集中在中低价位的变体上,虽然带来了订单增长,但利润被进一步稀释。
基于这个观察,迅速调整方向,把预算和广告从SP向SB/SBV迁移,集中放大品牌广告渠道,确保在系统标签限制下依然能稳住流量与订单。

同时,我并没有停在"保量"的层面,而是同步启动了小步提价实验:每次上调$1-2,紧密跟踪转化波动。
结果出乎预料--SB/SBV的转化几乎没有受到影响,但单件利润却被显著恢复。
这一步成为恢复盈利能力的关键转折,我用SB/SBV去稳住并放大优质流量,再通过适度提价逐步回收毛利,让整体盘子既能跑量,又能回到健康的利润水平,而不是一味依赖低价出单。
Part 4
节奏撬动
用节奏撬动:会员日与BD的时机运用
尽管SB/SBV已经跑出了利润和单量,但距离"日均40单以上"的目标仍有差距。更关键的是,SP广告的恢复始终不理想,转化难以跟上。
分析判断后,,如果仅靠日常广告结构,很难在短期内突破销量瓶颈,于是把目光投向平台活动,用秒杀、会员日等促销节点来刺激流量与转化。
在分析活动资源后,我们决定先报名7月底的BD,同时在会员日前期预留了专享折扣的准备。
就在这时,发生了一次意外,由于主推变体划线价丢失,导致会员日专享价被系统拉得过低。
如果按照这个价格去跑活动意味着订单越多亏损越大。经过评估,选择了一个更稳健的处理方式---放弃会员日专享活动,依然维持常规广告投放。
出乎意料的是,会员日期间,系统通过自然流量的推动,链接单量飙升至日均50-60单,是平日的3倍。
然而,新的问题也随之而来,由于主推变体库存有限,如果继续执行原定的BD计划,很可能在活动中就被卖断货,得不偿失。
只能紧急取消了已报的BD,把策略调整为"利润优先、控量运营"。
广告投入节奏随之收紧,库存节奏也重新规划,在保证每天15-20单稳定出单的情况下。逐步把TACOS从20%拉低至13%。

Part 5
二次突破
变体与库存的二次突破:找出可以放量的主推变体
在会员日后,进一步复盘广告数据,发现了一个新的突破口,在其他的两个库存充足的变体在开启Prime专享后表现极为优异。
不仅SB/SBV继续稳住出单,SP广告的转化也开始逐步恢复。这一发现让我意识到,对于非标品而言,单一广告架构已经无法满足复杂变体的需求,必须采取变体差异化投放策略。
具体执行如下:
1.库存多且转化好的变体,对这类变体加大SP投放,确保核心流量稳定承接,同时继续维持SB/SBV广告放量,以保证订单量持续增长,投放节奏和预算根据每天实际转化动态调整,避免广告浪费或流量漏掉。
2.表现良好但库存有限或利润薄的变体,对库存不足的变体控制SP广告投放,避免断货导致广告浪费,对利润薄的变体设置促销清仓,既能快速回笼资金,也避免拉低整体利润水平。

通过这种按变体分层投放的精细化策略,SP广告的转化率逐步恢复,并开始承接稳定流量。
随着策略的执行,8月的BD活动中迎来了显著放量,BD第四天后,日销再次冲到50-60单,两大主推变体的大词自然位排名稳步逼近第一页中部。
整个BD期间,TACoS控制在约10%,BD结束后,这两个主推变体继续将专享开到秒杀价,维持良好表现,实现了广告放量、自然位提升和利润控制的多重目标。
Part 6
复制
可复制的五个点(对非标卖家最具实操价值)
1.高退货不是终局,但必须优先识别并并行处理
---短期内想要处理掉最好的方法就是放站外增量 ,等一个月时间高退货标签就掉了。
但必须同时开展退货原因分析(产品描述、尺寸说明、图片与实物不符、物流损坏等),并改善 listing与售后流程以降低系统标签持续影响。
2.库存节奏决定促销能否兑现
--大型活动前务必以主推变体为核心做库存保障,否则即便被平台放量也可能因断货丧失长期增长机会。大促活动是放大流量的最佳窗口,但前提是库存与利润的节奏必须踩准。一旦库存支撑不住,再大的流量也可能变成风险。
3.老链接需要平台事件/BD刺激
--对长期沉睡或受系统负面影响的老链接,单靠日常投放难以恢复,平台促销(BD/会员日)往往是重新触达大流量与重塑排名的有效手段。
4.非标要多找几个主推变体
--非标品本身波动大,单一主推变体风险高。以变体为单位做精细化投放,结合库存、转化和利润进行动态调,筛选 2-3 个在库存、转化上表现稳定的变体做核心放量,可以降低整体运营风险,达到效果。
5.SB/SBV 在非标产品上往往比 SP 更快见效
--品牌广告与视频更擅长传达场景化价值,能更好把“看到喜欢”的流量转化为订单。将其作为短期保量与品牌渗透的主要手段,能争取更多恢复与放量时间。
从高退货、SP崩盘,到SB/SBV放量、会员日与BD爆单,这条非标品案例告诉我们:广告只是工具,节奏变体策略和精准投放才是核心。


目标是把日均拉到40单以上。刚接手就遇到大坑--系统直接给这条链接扣了个"高退货率"的帽子。
结果就是广告转化瞬间崩盘:SP投放完全失灵,ACOS上升。但我没打算就这么认栽。
换个思路,用数据来拆,用节奏来调,一边试错一边放大有效的通道。最后在会员日和BD活动的助推下,不光冲上了日销高峰,还把利润和TACOS拉回到可控。
这篇文章,就按照当时的时间线和决策节点复盘一下,过程中遇到的问题、怎么解的,我都摊开说,给做非标的朋友一个参考。
Part 1
诊断
接手时的第一诊断:高退货标签带来的链式反应
接手时的关键现象与问题点如下:
1.系统给了个"高退货率"标签,结果触发了流量限制,广告转化也被压制。
2.SP转化率瞬间掉了大概2个点,直接ACOS。原本靠SP 撑起来的广告架构,当场废掉,这个品本身还是非标。
3.变体多、场景化强,用户下单更多是"看到喜欢"而不是搜索某个关键词。所以本来关键词承接力就弱,被系统标签一压,简直雪上加雪。
我的初步判断是:问题有两层。
一方面是标签直接在广告和流量层面卡死你;另一方面,退货率本身说明listing可能有些地方和买家预期不符(比如描述、尺寸、体验)。
但这些不是一两天能改好的。短期内我知道没法立刻洗掉标签,所以只能靠广告策略去抢时间、抢流量窗口。
Part 2
应对
第一步应对:控词与架构重建(未果,但必要)
我的第一反应是--必须回归基础,把广告架构重新梳理一遍,同时对关键词做一次彻底的"词频清洗"。
具体动作分成两步:
第一步,广告结构重建。
我把原有的广告架构做了检查,检查之前没有铺的流量入口, 从自动、类目、asin、品类都检查一遍,查漏补缺把流量入口都完善上。
同时,对历史广告数据做了一轮排查,把那些长时间消耗却没有转化的无效词逐一否定掉,尽量清掉流量里的杂质,让预算集中在更可能出单的入口。
第二步,手动广告控词。
关键词重新进行了词频分析,对于核心相关词、长尾扩展词、场景关联词重新做了分层分类,在关键词手动广告打法上,以广泛匹配为主,让广告系统尽可能去探索更多长尾和潜在需求场景,用流量面去"撒网",再通过否词把低质流量逐步清理掉。
这样既能保证覆盖面,又能在探索中找到那些用户意外能转化的词,而不是一开始就把流量锁死在少数精准词上。力图通过这样的方式,硬把SP的转化拉回来。
结果与结论。
结构确实变得更干净了,无效流量也削掉不少,但实际数据告诉我,转化依旧回不去,SP广告的表现始终受制于"高退货率"标签的限制。转化率只有1.6%。
换句话说,再精准的关键词、再规整的结构,也无法在短期内弥补平台对该链接的"信任缺失"。
这是我在第一阶段得到的结论,系统标签的权重远超广告架构优化,仅靠关键词和控词打法,不足以立刻破解困局。

Part 3
观察到的转机
观察到的转机:SB/SBV表现反而更好
在复盘投放数据时,我意外发现了一条突破口,Sponsored Brands(SB)的表现竟然明显优于SP。
它们的转化率更高,ROAS稳定ACOS基本维持在25%-30%的可盈利区间,成为当下最稳的流量抓手。
问题是,成交订单主要集中在中低价位的变体上,虽然带来了订单增长,但利润被进一步稀释。
基于这个观察,迅速调整方向,把预算和广告从SP向SB/SBV迁移,集中放大品牌广告渠道,确保在系统标签限制下依然能稳住流量与订单。

同时,我并没有停在"保量"的层面,而是同步启动了小步提价实验:每次上调$1-2,紧密跟踪转化波动。
结果出乎预料--SB/SBV的转化几乎没有受到影响,但单件利润却被显著恢复。
这一步成为恢复盈利能力的关键转折,我用SB/SBV去稳住并放大优质流量,再通过适度提价逐步回收毛利,让整体盘子既能跑量,又能回到健康的利润水平,而不是一味依赖低价出单。
Part 4
节奏撬动
用节奏撬动:会员日与BD的时机运用
尽管SB/SBV已经跑出了利润和单量,但距离"日均40单以上"的目标仍有差距。更关键的是,SP广告的恢复始终不理想,转化难以跟上。
分析判断后,,如果仅靠日常广告结构,很难在短期内突破销量瓶颈,于是把目光投向平台活动,用秒杀、会员日等促销节点来刺激流量与转化。
在分析活动资源后,我们决定先报名7月底的BD,同时在会员日前期预留了专享折扣的准备。
就在这时,发生了一次意外,由于主推变体划线价丢失,导致会员日专享价被系统拉得过低。
如果按照这个价格去跑活动意味着订单越多亏损越大。经过评估,选择了一个更稳健的处理方式---放弃会员日专享活动,依然维持常规广告投放。
出乎意料的是,会员日期间,系统通过自然流量的推动,链接单量飙升至日均50-60单,是平日的3倍。
然而,新的问题也随之而来,由于主推变体库存有限,如果继续执行原定的BD计划,很可能在活动中就被卖断货,得不偿失。
只能紧急取消了已报的BD,把策略调整为"利润优先、控量运营"。
广告投入节奏随之收紧,库存节奏也重新规划,在保证每天15-20单稳定出单的情况下。逐步把TACOS从20%拉低至13%。

Part 5
二次突破
变体与库存的二次突破:找出可以放量的主推变体
在会员日后,进一步复盘广告数据,发现了一个新的突破口,在其他的两个库存充足的变体在开启Prime专享后表现极为优异。
不仅SB/SBV继续稳住出单,SP广告的转化也开始逐步恢复。这一发现让我意识到,对于非标品而言,单一广告架构已经无法满足复杂变体的需求,必须采取变体差异化投放策略。
具体执行如下:
1.库存多且转化好的变体,对这类变体加大SP投放,确保核心流量稳定承接,同时继续维持SB/SBV广告放量,以保证订单量持续增长,投放节奏和预算根据每天实际转化动态调整,避免广告浪费或流量漏掉。
2.表现良好但库存有限或利润薄的变体,对库存不足的变体控制SP广告投放,避免断货导致广告浪费,对利润薄的变体设置促销清仓,既能快速回笼资金,也避免拉低整体利润水平。

通过这种按变体分层投放的精细化策略,SP广告的转化率逐步恢复,并开始承接稳定流量。
随着策略的执行,8月的BD活动中迎来了显著放量,BD第四天后,日销再次冲到50-60单,两大主推变体的大词自然位排名稳步逼近第一页中部。
整个BD期间,TACoS控制在约10%,BD结束后,这两个主推变体继续将专享开到秒杀价,维持良好表现,实现了广告放量、自然位提升和利润控制的多重目标。
Part 6
复制
可复制的五个点(对非标卖家最具实操价值)
1.高退货不是终局,但必须优先识别并并行处理
---短期内想要处理掉最好的方法就是放站外增量 ,等一个月时间高退货标签就掉了。
但必须同时开展退货原因分析(产品描述、尺寸说明、图片与实物不符、物流损坏等),并改善 listing与售后流程以降低系统标签持续影响。
2.库存节奏决定促销能否兑现
--大型活动前务必以主推变体为核心做库存保障,否则即便被平台放量也可能因断货丧失长期增长机会。大促活动是放大流量的最佳窗口,但前提是库存与利润的节奏必须踩准。一旦库存支撑不住,再大的流量也可能变成风险。
3.老链接需要平台事件/BD刺激
--对长期沉睡或受系统负面影响的老链接,单靠日常投放难以恢复,平台促销(BD/会员日)往往是重新触达大流量与重塑排名的有效手段。
4.非标要多找几个主推变体
--非标品本身波动大,单一主推变体风险高。以变体为单位做精细化投放,结合库存、转化和利润进行动态调,筛选 2-3 个在库存、转化上表现稳定的变体做核心放量,可以降低整体运营风险,达到效果。
5.SB/SBV 在非标产品上往往比 SP 更快见效
--品牌广告与视频更擅长传达场景化价值,能更好把“看到喜欢”的流量转化为订单。将其作为短期保量与品牌渗透的主要手段,能争取更多恢复与放量时间。
从高退货、SP崩盘,到SB/SBV放量、会员日与BD爆单,这条非标品案例告诉我们:广告只是工具,节奏变体策略和精准投放才是核心。







其他
04-09 周四











