爆雷了!月销10W+伸缩软管发明专利隐匿维权!以及Sun Devils 太阳魔鬼队商标维权!
Wayfair官方经理解码定价运营策略,拆解亿级大卖0-1运营实战全路径!点击获取>>>
Pocket Hose 伸缩软管
案件编号:25-cv-3646
代理律所:EPS
维权产品:Pocket Hose 伸缩软管
受理法院:纽约州
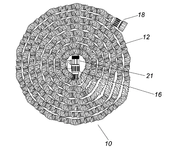
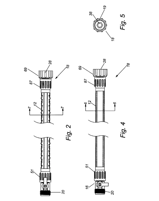
原告TELEBRANDS CORP是一家领先的优质创新型消费品开发商、生产商和分销商。原告最受欢迎的产品之一是 POCKET HOSE 伸缩水管产品系列,该水管在施加加压液体时可自动纵向伸缩,并在释放加压液体后自动收缩至收缩状态。以下专利维权速查下架!
原告申请了伸缩软管的发明专利,即使外观不同,设计理念相似也有侵权风险:




Sun Devils 太阳魔鬼队
案件编号:26-cv-1924
代理律所:SULLIVAN & CARTER, LLP
维权产品:Sun Devils 太阳魔鬼队
受理法院:伊利诺伊州
原告 Arizona Board of Regents 是亚利桑那州公立大学系统的管理机构,“Sun Devils”(太阳魔鬼队)是亚利桑那州立大学的校运动队名称,代表该校参加美国全国大学生体育协会(NCAA)第一级别(FBS)的各类体育赛事。







Pocket Hose 伸缩软管
案件编号:25-cv-3646
代理律所:EPS
维权产品:Pocket Hose 伸缩软管
受理法院:纽约州
原告TELEBRANDS CORP是一家领先的优质创新型消费品开发商、生产商和分销商。原告最受欢迎的产品之一是 POCKET HOSE 伸缩水管产品系列,该水管在施加加压液体时可自动纵向伸缩,并在释放加压液体后自动收缩至收缩状态。以下专利维权速查下架!
原告申请了伸缩软管的发明专利,即使外观不同,设计理念相似也有侵权风险:




Sun Devils 太阳魔鬼队
案件编号:26-cv-1924
代理律所:SULLIVAN & CARTER, LLP
维权产品:Sun Devils 太阳魔鬼队
受理法院:伊利诺伊州
原告 Arizona Board of Regents 是亚利桑那州公立大学系统的管理机构,“Sun Devils”(太阳魔鬼队)是亚利桑那州立大学的校运动队名称,代表该校参加美国全国大学生体育协会(NCAA)第一级别(FBS)的各类体育赛事。












其他
04-09 周四











