Item 1 of 1
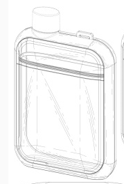
【美国专利侵权预警】今日品类:水瓶/Water Bottle(一)
2025-08-30 12:30
想系统掌握亚马逊广告的投放逻辑与底层闭环?










在这里需要提醒同样销售类似产品的卖家,定期排查商品特征,警惕侵权风险!注意规避侵权特征,及时下架侵权产品。
TikTok、Facebook、谷歌、Twitter广告服务,0门槛抢占全球流量!
极速开户+优化投流+风险保障+效果跟踪,仅需4步,轻松撬动亿万海外流量,让品牌销量翻倍增长!
已成功开通5000+账户

最新热门报告作者标签
宠物消费持续升温,亚马逊10款月销过万宠物产品推荐AMZ123获悉,近日,亚马逊各类产品搜索量增长显著,以下10款产品在亚马逊上销量表现突出,深受消费者欢迎。1. 猫咪情绪舒缓喷雾预计销售额:139.84万美元/月销量:26,000+星级评分:4.4好评数量:12,694+图源:亚马逊产品描述:FELIWAY Optimum猫咪情绪舒缓喷雾的专利信息素复合物能显著减少猫咪的应激表现,包括喷尿、抓挠、恐惧反应、紧张冲突等。产品无药性、安全且不干扰人类与其他宠物,每个喷雾覆盖面积约 700 平方英尺。
Allegro与ChatGPT合作,推出新AI购物工具AMZ123获悉,近日,波兰电商平台Allegro宣布,正式推出基ChatGPT的AI购物工具Allegro GPT,为用户提供更便捷的商品搜索与推荐服务,并为平台卖家带来新的曝光渠道。Allegro GPT将直接连接ChatGPT与Allegro.pl的API,使用户能够在对话中即时获得基于平台实时商品数据的推荐,无需额外订阅任何付费版本的ChatGPT。目前该功能已处于公开测试(beta)阶段,所有用户均可直接使用。Allegro表示,越来越多消费者倾向于通过与AI互动寻找购物灵感,因此希望借助这一方式让用户能够更快找到目标商品,同时提升整体购物体验。
一文说清楚亚马逊多渠道配送是什么?附详细操作流程MCF亚马逊多渠道配送,又叫MCF,是指:您将库存产品入仓到亚马逊运营中心后,亚马逊不仅能帮您配送在亚马逊店铺的订单,还能帮您配送来自其他销售渠道(如您的独立站、Shopify、eBay、沃尔玛等)的订单。简单来说,MCF是一个非常重要的物流模式,让您所有的销售渠道,都能共享亚马逊世界顶级的物流网络。一张图看懂MCF为什么卖家要使用MCF?主要有以下三大好处1极致物流体验,共享亚马逊的配送网络(包装、拣货、发货、客服、退货处理)2简化供应链管理,所有渠道的库存集中存放在亚马逊仓库。3加速资金回笼,订单配送时效极快(通常1-3天)。在日常运营中,亚马逊多渠道订单怎么操作?小编整理了详细的处理流程。
亚马逊与USPS谈判受阻,或将继续扩张自有物流网络AMZ123获悉,近日,据外媒报道,亚马逊与美国邮政(USPS)续约的谈判出现停滞。报道指出,若谈判最终破裂,亚马逊可能结束双方超过30年的合作,并进一步扩大自有配送网络。据悉,此次谈判僵局与USPS局长David Steiner计划在明年初启动“最后一英里配送合约竞拍”有关,这意味着亚马逊需与其他全美零售商及区域物流企业竞争USPS的配送资源。亚马逊方面表示,这并非其原本的选择。亚马逊在近一年的谈判中始终寻求延长将于2026年10月1日到期的合约,并希望增加在USPS的投放量。亚马逊发言人Steve Kelly回应称,USPS是亚马逊“最早、最长期的合作伙伴”,并指出亚马逊对延长合作“仍保持承诺”。
TikTok将在巴西建首个拉美数据中心,总投资超2000亿雷亚尔AMZ123获悉,近日,TikTok宣布,将在巴西塞阿拉州建立其在拉丁美洲的首个数据中心,选址位于佩森工业与港口综合区(CIPP),初期运营预计于2027年启动。该项目由TikTok与数据中心运营商Omnia(隶属Pátria Investimentos集团)及可再生能源企业Casa dos Ventos共同推进,旨在强化平台在拉美地区的数据处理能力,满足持续增长的本地用户需求。根据TikTok披露的信息,整个项目的总投资额预计将超过2000亿雷亚尔。TikTok计划在2035年前投入1080亿雷亚尔用于设备采购,并在此后十年持续追加技术升级投入。
AMZ123PayPal计算器使用指南及常见问题详解(内附计算公式)Paypal手续费计算器介绍及计算公式分享
https://www.amz123.com/tools-paypal
跨界AI失败?深圳大卖资产重组终止!12月2日,跨境3C 配件大卖杰美特发布公告,宣布决定终止筹划以现金方式收购AI 算力解决方案提供商思腾合力(天津)科技有限公司(以下简称“思腾合力”)控制权的重大资产重组事项。这场筹划半年、备受行业关注的跨界收购突然落幕,消息一出引发市场热议。AMZ123获悉,杰美特于2025年6月21日首次披露了筹划重组的提示性公告,拟通过现金交易控股思腾合力,该交易初步测算构成重大资产重组,且不涉及发行股份、不构成关联交易,也不会导致公司控制权变更。杰美特是“中国手机壳第一股”,主营业务为移动智能终端保护类产品的研发、设计与销售,产品包括手机、平板及穿戴设备的保护壳与表带等。
重磅!亚马逊公布2026年战略重心变化AMZ123获悉,12月4日,2025年亚马逊全球开店跨境峰会上,亚马逊回顾了过去一年里中国卖家在亚马逊上所取得的进展,并围绕2026年四大业务战略重点——供应链服务、AI赋能、全球拓展布局、本地服务,揭晓了40余项创新举措。根据亚马逊披露的数据:2025年以来,中国卖家通过亚马逊全球站点售出数十亿件商品,在美欧等成熟站点的销售额增长超过15%,在新兴站点的销售额增长超过30%;2025年以来,销售额达到200万、500万、800万美金的中国卖家数量,增长均超过20%;销售额超过1000万美金的中国卖家数量,增幅近30%。
AMZ123PayPal计算器使用指南及常见问题详解(内附计算公式)Paypal手续费计算器介绍及计算公式分享
https://www.amz123.com/tools-paypal
入职一年反被公司索赔 9 万多!前运营侵权致 TRO 罚款,我未及时响应需赔 12900 刀?匿名用户我的C位求助一下业内大佬们!本人有2年精铺经验,2024年6月入职一家跨境电商公司担任运营职务,3个月试用期。2024年10月7日收到TRO邮件要求回复并出庭,TRO原因为前运营上架产品侵权,当时本人未及时回复,到11月27日才处理,致使店铺资金账号被冻结。跟原告律师协商达成和解,和解金额为25000美金以及800美金律师服务费,总计25800美金。公司与本人协商结果为个人承担50%和解金额即12900美金(此前双方都没有此类经验),按照汇率7.25结算,折合人民币93525元,从每季度发放提成奖金中扣除,直至结清为止,已签订合约。
破天荒!亚马逊欧洲站下调多类目销售佣金2025年行至尾声,亚马逊一年一度的费用变更政策如期而至。出乎卖家意料的是,亚马逊欧洲站这次“破天荒”地下调了部分FBA费用,引起业内一片哗然。AMZ123获悉,12月2日,亚马逊欧洲站发布了销售佣金和物流费用的更新通知,宣布将实施有史以来规模最大的费用更新计划,以推动在欧洲站销售商品的卖家业务增长,降低双方的成本。具体费用调整情况如下(日期均为欧洲时间):1、物流费用下调2025年12月15日起,英国、德国、法国、意大利和西班牙站的物流配送费用有所降低,每件商品平均降低0.26英镑/0.32欧元。
亚马逊如何找到最适合自己ASIN的流量结构?在亚马逊平台上,流量是决定产品曝光与转化的核心因素。然而,许多新卖家在运营过程中常常陷入盲目投广、结构无序的困境,难以识别哪些流量真正能带来稳定转化和长期收益。面对海量数据和复杂算法,如何精准判断最适合自身ASIN的流量结构,成为新手卖家提升销量与利润的关键难题。本文章将为你解析流量结构的本质,帮助你从零开始构建科学、高效的推广策略。亚马逊商品投放只能投放到商品详情页?许多人可能认为亚马逊的商品广告仅限于商品详情页,但实际上,亚马逊提供了更为多样化的广告投放位置。除了在商品详情页展示广告外,商家还可以选择将广告投放至关键词搜索结果页面。这种灵活性为卖家提供了一个更广阔的平台来吸引潜在客户。
闷声发大财的小众赛道!海外年销15亿,卖的居然是这些......近年来,欧美市场盛行DIY(“自己动手”)文化,自己动手改善居住环境、制作礼物、纪念品等,已经成为当地居民日常生活方式的一部分。随着越来越多的海外消费者参与其中,工具类、耗材类产品的需求大幅增加,为出海商家带来了前所未有的机遇。尤其是便携式打印、3D打印等,已经从“小众领域”拓展成家庭场景日常需求热门品类。DIY礼物促使3D打印成家庭热门需求手机软件一键操作,小至礼品、卡片、大至模型、房屋装修材料等,各种DIY创意都能通过3D打印实现。尤其是在家庭场景领域,越来越多的3D打印产品被作为礼物,送给家人、朋友。
重磅!亚马逊公布2026年战略重心变化AMZ123获悉,12月4日,2025年亚马逊全球开店跨境峰会上,亚马逊回顾了过去一年里中国卖家在亚马逊上所取得的进展,并围绕2026年四大业务战略重点——供应链服务、AI赋能、全球拓展布局、本地服务,揭晓了40余项创新举措。根据亚马逊披露的数据:2025年以来,中国卖家通过亚马逊全球站点售出数十亿件商品,在美欧等成熟站点的销售额增长超过15%,在新兴站点的销售额增长超过30%;2025年以来,销售额达到200万、500万、800万美金的中国卖家数量,增长均超过20%;销售额超过1000万美金的中国卖家数量,增幅近30%。
卖家还在等口径!欠税公示制度却已明确落地卖家还在“等政策”,但政策已明确趋严过去几个月里,跨境卖家对税务政策最大的期待就是——“能不能再等等,看会不会有新口径”。但事实上,政策并没有往宽松走,而是沿着“数据透明—提醒申报—强化监管”这条路径一步步推进。AMZ123了解到,目前已有超过7000家境内外平台完成涉税信息报送,卖家的线上线下销售数据已全面纳入监管体系。随着数据比对展开,税务部门对申报明显低于平台数据的经营者陆续发出提示,要求补充申报;多数卖家在收到提示后完成了更正,但也的确还有部分经营者迟迟没有动作,继续处于观望甚至低申报的状态。在这种情况下,监管的态度也开始变得更为明确:对于未按规定申报的行为,将从提醒阶段进入到强化管理阶段。
TikTok Shop美国站多个品类平均价格上涨,涨幅高达103%AMZ123获悉,近日,电商情报公司Charm的分析显示,TikTok Shop美国站的商品价格在过去一年显著上涨。数据显示,2025年TikTok Shop多个核心品类的平均售价较去年同期明显提高,其中鞋类商品在2025年 4 月至 10 月的平均单价达到 28.64 美元,比 2024 年同期的 14.06 美元上涨 103%。此外,体育与户外用品、箱包及时尚配饰等品类的平均价格也分别上涨了 54%、43% 和 42%;玩具、女装、电脑与办公设备等品类同样显著增长,涨幅超10%。TikTok Shop于2023年9月在美国上线时以高额补贴吸引卖家与消费者,平台售价明显低于其他电商。
《亚马逊生活日用品类攻略手册》PDF下载作为日常生活不可或缺的重要组成,生活百货品类覆盖范围广泛,包括家居用品、家具、车用配件、户外装备、园艺
工具、运动器材、家装用品、厨房、玩具以及宠物用品等众多领域。这类产品不仅是满足基本生活所需,更体现了人们对美好生活的向往和追求。
《掘金泰国-市场洞察与战略机遇报告2025》PDF下载随着全球经济一体化的加速,泰国作为东盟的核心枢纽,凭借其独特的地缘优势庞大的消费市场以及持续优化的营商环境,成为众多企业战略布局的重要目标。本报告深入剖析泰国市场的政策红利、消费趋势、产业机遇以及合规挑战,旨在为有志于开拓泰国市场的中国企业提供行动指南,助力企业在东盟这片充满活力的土地上把握机遇、应对挑战、!实现可持续发展。
《2025欧美假日购物季营销指南》PDF下载2025年美国假日购物季零售额预计同比仅增长1.2%,总销售额约1.359万亿美元,虽仍保持正增长,但为2009年以来最低增速,市场正在步入低增长的新常态。
《2025年跨境电商东南亚市场进入战略白皮书》PDF下载东南亚电商,正以惊人的速度复刻中国电商高速增长的黄金时代。2024年东南亚电商GMV达到1284亿美元,短短5年涨幅超过3倍。全球电商2024年GMV增幅最快的十大市场中,东南亚独占四席。东南亚是拥有约6.7亿人口的广阔市场,在现今全球关税的不确定性大格局下,因其电商基建完善,利好的贸易政策,和更高的年轻人口占比,成为跨境卖家生意拓张焦点之一。
《2025年TikTok Shop玩具品类行业报告(欧美站)》PDF下载分析TikTok Shop美国市场、英国市场、西班牙市场、墨西哥市场等主流市场点短视频及直播电商数据,选取TikTok与玩具爱好品类相关的内容进行分析报告。
《2025 洗护品类趋势与创新洞察》PDF下载本报告独特价值:将消费者的“行为结果”据),揭示消费者深层心理动机、并能精准预判未来增长机会
《亚马逊双轨增长指南》PDF下载亚马逊以“以客户为中心”为核心理念,通过整合B2B与B2C的全渠道服务,帮助卖家实现“一店双拓”-- 一次上架,同步触达个人消费者与企业买家,获得双重收益。同时,基于Direct to Buyer(直接触达买家)的模式,更能有效减少中间环节,提升利润空间与品牌掌控力。
《亚马逊全球线上商采趋势与区域洞察》PDF下载随着全球企业数字化转型的深入推进,B2B商采有望成为下一个万亿级别的蓝海市场然而,中国卖家在开拓海外企业商采市场时往往面临着一个关键挑战:难以准确把握海外企业买家的商采行为和决策模式。这种认知偏差不仅影响了产品开发方向,也制约了市场拓展策略的制定。

【美国专利侵权预警】今日品类:水瓶/Water Bottle(一)
小牛达人谈跨境防侵权
2025-08-30 12:30
2441










在这里需要提醒同样销售类似产品的卖家,定期排查商品特征,警惕侵权风险!注意规避侵权特征,及时下架侵权产品。
1







福建
12-12 周五











