整理几款侵权产品,看看有没有你正在卖的?
挺久没更新了,一来是工作比较忙没有时间,二来也没遇到比较好的素材,今天分享几款遇到的侵权产品,看看有没有你正在卖的?

01
切蛋器


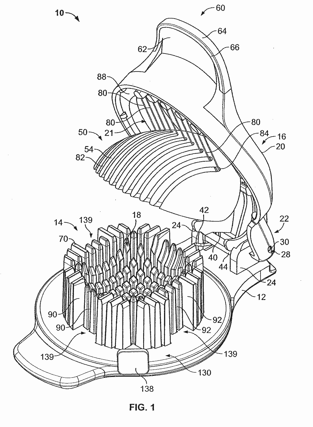
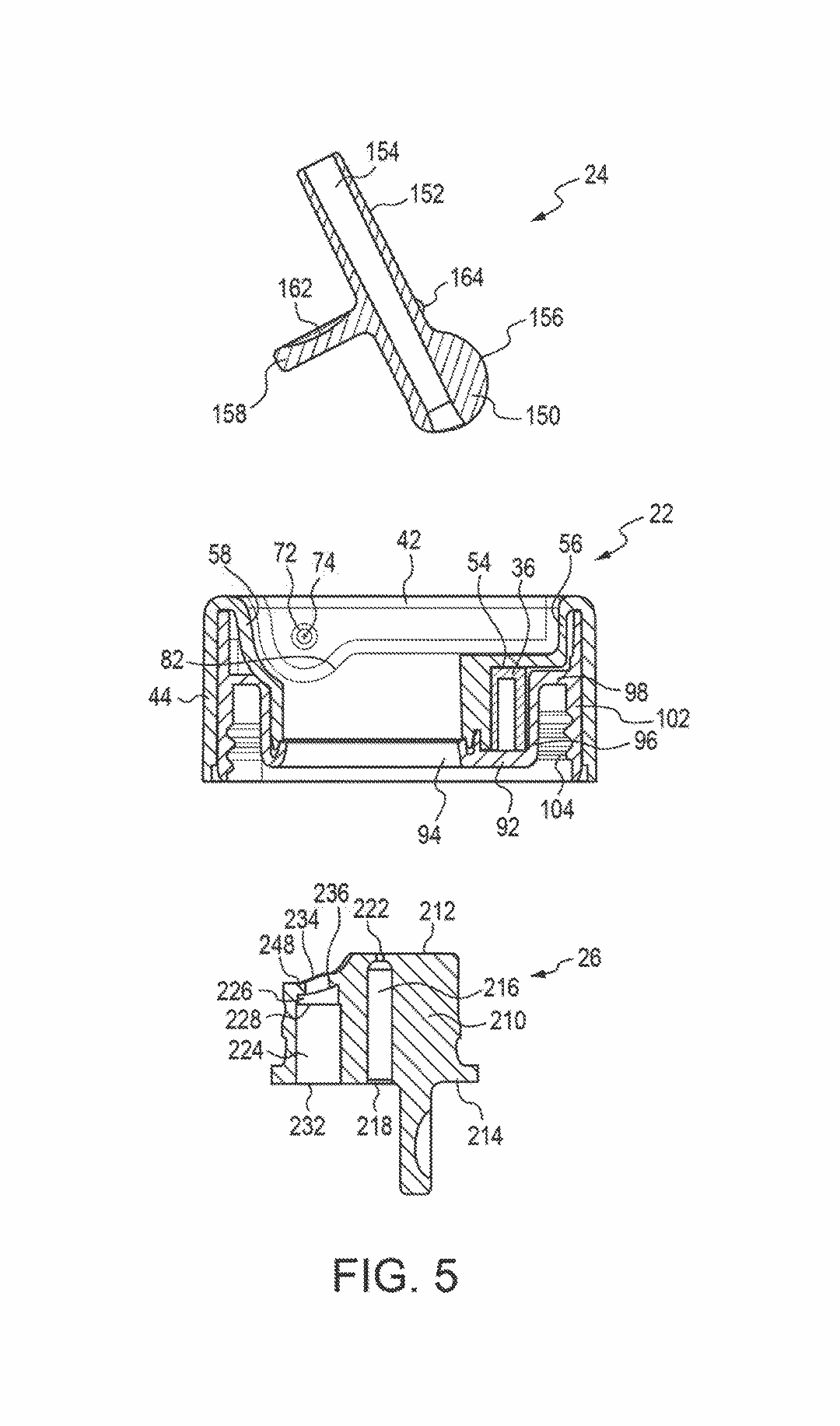
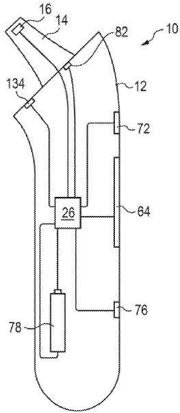
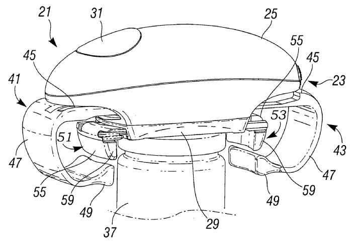
WO2009012014 - EGG SLICER

本发明公开了一种用于分割食物块(例如凝固的鸡蛋)的装置,包括底座、用于支撑食物块的保持架和用于分割食物块的多个切割部件,其中所述保持架可旋转以允许切割部件在第一方向和第二方向上分割食物块。该装置还包括可定位在食物块的上表面上的保持器,所述食物块具有允许所述切割部件穿过所述食物块的一部分的通道。所述装置可包括清洁板,所述清洁板可由位于所述食物块下方的所述保持架的部分接收,所述清洁板可从所述保持架上移除,以从所述支撑部分之间移除所述食物物质。该装置可包括一个锁,用于将装置固定在封闭或最低位置以供储存。
注意!!以下款式切蛋器在结构、功能等方面与专利表述的基本一致,都有侵权风险!






这个地方我突然想起Nutri Chopper切菜器,与这款切蛋器有点相似性,感兴趣的同学可以回顾一下链接:Nutri Chopper切菜器专利侵权

回到切蛋器,专利注册人为HELEN OF TROY LIMITED,他们的产品非常多,涉及家居、美容、运动等等类目,后期有时间可以专门整理一下。这里分享一下他们其他的几项专利:
1、WO2021050367 - STRAW LID ASSEMBLY隔热杯盖

一种草盖阀组件,包括盖、喷嘴和阀构件。所述盖与饮用容器连接并包括阀门接收通道。所述喷嘴与所述盖连接并且在饮用位置和关闭位置之间枢转。所述喷嘴包括内部通道,所述内部通道在处于饮用位置时与所述饮用容器流体连通,并且在所述关闭位置时被关闭。所述阀件可收纳在所述瓶盖中,并且包括当所述瓶盖与所述饮用容器连接且所述阀件被接收在所述瓶盖中时与所述饮用容器流体连通的饮料通道和排气通道。阀门部件可在阀门接收通道中接收,以便当喷嘴处于饮用位置并且阀门部件被接收到盖子中时,阀门部件的最上表面暴露在环境中。
这款专利对应的产品是Hydro Flask隔热杯的杯盖,保护的是其隔热的设计:


Hydro Flask小到可以舒适地放在孩子们的手中,12盎司的宽口儿童奶瓶采用TempShield™ 双壁真空隔热和18/8专业级不锈钢结构,确保冷饮可保持24小时的低温,热饮可保持6小时的热。这款耐用、不含双酚a的奶瓶配有防漏、易于饮用的草帽,方便家长清洁,同时还配有硅胶弹性靴,可提供额外的抓地力。新的12盎司宽口瓶将有四种颜色,包括火烈鸟、薄荷、太平洋和柠檬,零售价为29.95美元。
2、US20210059473 - MANUAL COFFEE GRINDER手摇咖啡机
印象中早就有类似的专利了- -

一种研磨机,包括具有顶部和底部的料斗以及设置在料斗内并配置成围绕相对于料斗的轴纵轴旋转的轴。所述轴包括与料斗底部相比更靠近料斗顶部的第一端和与料斗顶部相比更靠近料斗底部的第二端。叶片从轴向外延伸径向距离,与靠近第二端的轴上的第二位置相比,靠近轴第一端的位置处的径向距离更小。
3、

一种温度计帽,其具有被配置成与患者身体接触或插入患者体腔的探针,温度传感器包括盖壳、接近传感器和接近传感器导电体。所述盖壳被配置成选择性地与所述温度计连接并被选择性地从所述温度计上分离,并且当所述温度计与所述温度计连接时,所述盖壳至少部分地围绕所述温度计的探针。接近传感器与盖连接。所述接近传感器电导体与所述盖连接并与所述接近传感器电连接。还提供了包括盖的温度计。

4、WO2020263589 - HAIR STYLING APPLIANCE CLEANING STATION 理发器清洁工具

发型器具架作为发型器具的清洁站。所述支架可包括清洁垫,所述清洁垫用于清洁发型器具的接触表面。所述支架可被配置成当从所述支架上移除所述发型器具时,所述器具表面与所述清洁垫接合。通过这种方式,可以定期清洁设备。该支架可配置成容纳扁铁。可将扁铁放置在支架上,扁铁的臂呈开放式配置,清洁垫位于臂之间。当需要使用扁铁时,用户可以将扁铁压在垫上,然后将扁铁从支架上拔出,使铁表面与清洁垫啮合,以清洁铁表面。
这个专利还没找到对应的产品,可能还没上市?去年2月注册,产品未动,专利先行?!
02
开罐器

US20080229885 - JAR OPENER

一个手持式,一触式的开瓶器可以放在一个罐子上,只要轻轻一按按钮就可以启动。一个行星齿轮传动系被设置成顺序地提供一个罐子和盖子上的抓地力,然后产生相对于罐子逆时针方向移动盖子所需的扭矩。所示的开启器所包含的原理可以在手动驱动的、或者最好是电动的、可能高度自动化的开启器中实现。差速器齿轮系提供减速和增加扭矩,然后通过具有太阳齿轮和行星齿轮的行星齿轮总成提供两个平衡和相反的力。这种配置使各种螺旋盖和罐子能够自动关闭,以匹配正确的直径,施加夹紧力,然后在相反方向施加扭矩。
03
调酒套装

这款产品关店了,专利也不在那些调酒器具上,而是这个收纳架:
美国欧洲外观专利:D857430、005827565-0001

04
隐藏口袋健身裤

这个设计是Lululemon的专利,没错就是那个被律所代理的Lululemon,它最为人知的特点是这个弧型的纹路:


回到隐藏口袋的专利:
US20190297972 - POCKET FOR A GARMENT

一种用于衣服腰带的口袋结构,包括:沿着其各自的第一侧边、第二侧边和底边连接到内袋面板上的外部口袋板,在其之间和腰带的后部形成一个口袋;其中,所述外部和内部口袋面板的各自独立的上边缘比其各自的底部边缘窄。以及,一种用于服装的腰带,包括:外口袋板,其沿着各自的第一侧边、第二侧边和底边附接到内口袋板上,在其和腰带的后部之间形成一个口袋,腰带的前部,沿着腰带的各自第一侧边和第二侧边附接到腰带的后部;其中,外部和内部口袋面板的各自未连接的顶部边缘比其各自的底部边缘窄。
加拿大也有注册。
最后,感谢周粥同学提供素材!

挺久没更新了,一来是工作比较忙没有时间,二来也没遇到比较好的素材,今天分享几款遇到的侵权产品,看看有没有你正在卖的?

01
切蛋器


WO2009012014 - EGG SLICER

本发明公开了一种用于分割食物块(例如凝固的鸡蛋)的装置,包括底座、用于支撑食物块的保持架和用于分割食物块的多个切割部件,其中所述保持架可旋转以允许切割部件在第一方向和第二方向上分割食物块。该装置还包括可定位在食物块的上表面上的保持器,所述食物块具有允许所述切割部件穿过所述食物块的一部分的通道。所述装置可包括清洁板,所述清洁板可由位于所述食物块下方的所述保持架的部分接收,所述清洁板可从所述保持架上移除,以从所述支撑部分之间移除所述食物物质。该装置可包括一个锁,用于将装置固定在封闭或最低位置以供储存。
注意!!以下款式切蛋器在结构、功能等方面与专利表述的基本一致,都有侵权风险!






这个地方我突然想起Nutri Chopper切菜器,与这款切蛋器有点相似性,感兴趣的同学可以回顾一下链接:Nutri Chopper切菜器专利侵权

回到切蛋器,专利注册人为HELEN OF TROY LIMITED,他们的产品非常多,涉及家居、美容、运动等等类目,后期有时间可以专门整理一下。这里分享一下他们其他的几项专利:
1、WO2021050367 - STRAW LID ASSEMBLY隔热杯盖

一种草盖阀组件,包括盖、喷嘴和阀构件。所述盖与饮用容器连接并包括阀门接收通道。所述喷嘴与所述盖连接并且在饮用位置和关闭位置之间枢转。所述喷嘴包括内部通道,所述内部通道在处于饮用位置时与所述饮用容器流体连通,并且在所述关闭位置时被关闭。所述阀件可收纳在所述瓶盖中,并且包括当所述瓶盖与所述饮用容器连接且所述阀件被接收在所述瓶盖中时与所述饮用容器流体连通的饮料通道和排气通道。阀门部件可在阀门接收通道中接收,以便当喷嘴处于饮用位置并且阀门部件被接收到盖子中时,阀门部件的最上表面暴露在环境中。
这款专利对应的产品是Hydro Flask隔热杯的杯盖,保护的是其隔热的设计:


Hydro Flask小到可以舒适地放在孩子们的手中,12盎司的宽口儿童奶瓶采用TempShield™ 双壁真空隔热和18/8专业级不锈钢结构,确保冷饮可保持24小时的低温,热饮可保持6小时的热。这款耐用、不含双酚a的奶瓶配有防漏、易于饮用的草帽,方便家长清洁,同时还配有硅胶弹性靴,可提供额外的抓地力。新的12盎司宽口瓶将有四种颜色,包括火烈鸟、薄荷、太平洋和柠檬,零售价为29.95美元。
2、US20210059473 - MANUAL COFFEE GRINDER手摇咖啡机
印象中早就有类似的专利了- -

一种研磨机,包括具有顶部和底部的料斗以及设置在料斗内并配置成围绕相对于料斗的轴纵轴旋转的轴。所述轴包括与料斗底部相比更靠近料斗顶部的第一端和与料斗顶部相比更靠近料斗底部的第二端。叶片从轴向外延伸径向距离,与靠近第二端的轴上的第二位置相比,靠近轴第一端的位置处的径向距离更小。
3、

一种温度计帽,其具有被配置成与患者身体接触或插入患者体腔的探针,温度传感器包括盖壳、接近传感器和接近传感器导电体。所述盖壳被配置成选择性地与所述温度计连接并被选择性地从所述温度计上分离,并且当所述温度计与所述温度计连接时,所述盖壳至少部分地围绕所述温度计的探针。接近传感器与盖连接。所述接近传感器电导体与所述盖连接并与所述接近传感器电连接。还提供了包括盖的温度计。

4、WO2020263589 - HAIR STYLING APPLIANCE CLEANING STATION 理发器清洁工具

发型器具架作为发型器具的清洁站。所述支架可包括清洁垫,所述清洁垫用于清洁发型器具的接触表面。所述支架可被配置成当从所述支架上移除所述发型器具时,所述器具表面与所述清洁垫接合。通过这种方式,可以定期清洁设备。该支架可配置成容纳扁铁。可将扁铁放置在支架上,扁铁的臂呈开放式配置,清洁垫位于臂之间。当需要使用扁铁时,用户可以将扁铁压在垫上,然后将扁铁从支架上拔出,使铁表面与清洁垫啮合,以清洁铁表面。
这个专利还没找到对应的产品,可能还没上市?去年2月注册,产品未动,专利先行?!
02
开罐器

US20080229885 - JAR OPENER

一个手持式,一触式的开瓶器可以放在一个罐子上,只要轻轻一按按钮就可以启动。一个行星齿轮传动系被设置成顺序地提供一个罐子和盖子上的抓地力,然后产生相对于罐子逆时针方向移动盖子所需的扭矩。所示的开启器所包含的原理可以在手动驱动的、或者最好是电动的、可能高度自动化的开启器中实现。差速器齿轮系提供减速和增加扭矩,然后通过具有太阳齿轮和行星齿轮的行星齿轮总成提供两个平衡和相反的力。这种配置使各种螺旋盖和罐子能够自动关闭,以匹配正确的直径,施加夹紧力,然后在相反方向施加扭矩。
03
调酒套装

这款产品关店了,专利也不在那些调酒器具上,而是这个收纳架:
美国欧洲外观专利:D857430、005827565-0001

04
隐藏口袋健身裤

这个设计是Lululemon的专利,没错就是那个被律所代理的Lululemon,它最为人知的特点是这个弧型的纹路:


回到隐藏口袋的专利:
US20190297972 - POCKET FOR A GARMENT

一种用于衣服腰带的口袋结构,包括:沿着其各自的第一侧边、第二侧边和底边连接到内袋面板上的外部口袋板,在其之间和腰带的后部形成一个口袋;其中,所述外部和内部口袋面板的各自独立的上边缘比其各自的底部边缘窄。以及,一种用于服装的腰带,包括:外口袋板,其沿着各自的第一侧边、第二侧边和底边附接到内口袋板上,在其和腰带的后部之间形成一个口袋,腰带的前部,沿着腰带的各自第一侧边和第二侧边附接到腰带的后部;其中,外部和内部口袋面板的各自未连接的顶部边缘比其各自的底部边缘窄。
加拿大也有注册。
最后,感谢周粥同学提供素材!




福建
12-12 周五











