Item 1 of 1
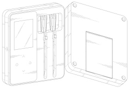
【美国专利侵权预警】今日品类:温度计/Thermometer(二)
2025-08-23 12:31
Wayfair官方经理解码定价运营策略,拆解亿级大卖0-1运营实战全路径!点击获取>>>










在这里需要提醒同样销售类似产品的卖家,定期排查商品特征,警惕侵权风险!注意规避侵权特征,及时下架侵权产品。
TikTok、Facebook、谷歌、Twitter广告服务,0门槛抢占全球流量!
极速开户+优化投流+风险保障+效果跟踪,仅需4步,轻松撬动亿万海外流量,让品牌销量翻倍增长!
已成功开通5000+账户

最新热门报告作者标签
同比增长6%!25年罗马尼亚电商市场达81亿欧元AMZ123获悉,近日,据MerchantPro发布的《2026年电子商务洞察报告》,罗马尼亚电商市场在2025年达到约81亿欧元规模,预计2026年将突破85亿欧元。然而,其增长势头正在进入一个竞争更为激烈、不确定性更高的新阶段。通胀压力、国际平台的强势渗透、消费者行为变化以及人工智能在产品发现与转化中日益加深的影响,正共同重塑这一地区的电商生态。从整体数据来看,尽管交易量增长近乎停滞,2025年罗马尼亚电商市场仍实现了约6%的同比增长,预计2026年增速将放缓至5%。报告指出,这一增长主要得益于在线购物普及率的提升和客户体验的持续优化,背后是商家对技术、个性化和转化率优化的持续投入。
25年澳大利亚电商报告发布:全年网购支出达826亿澳元AMZ123获悉,近日,澳大利亚邮政发布《澳大利亚邮政 2026 年电子商务报告》,核心基于 2025 年澳大利亚电商市场的交易、配送数据及消费者调研,深度解析了当地网购行为变迁、市场格局特征。核心发现如下:一、电商市场概况2025年,澳大利亚网购家庭数量达980万户,行业规模再创新高。全年网购支出达826亿澳元,占零售总额比重提升至24%。平均客单价96澳元,同比下降0.4%。此外,2025年澳大利亚纯电商平台交易额达189亿澳元,同比增长13%,占网购总额的23%。品类丰富度、性价比、操作便捷性及履约服务效率,共同构成推动网购渠道发展的关键动力。
1-2月Temu波兰人均消费翻倍,电商格局加速变化AMZ123获悉,近日,根据市场研究机构When U Buy基于超过24万张收据的分析,1月与2月波兰整体消费出现季节性回落,以Allegro为代表的传统电商平台与新兴电商平台Temu之间的差距正在迅速缩小。数据显示,2026年1月电商整体支出环比下降近22%,但同比增长9%;2月则同比增长10%。与此同时,消费方式也在变化,用户更少进行冲动购买,而是减少购买频率,但每次购买的商品数量更多,并且更有针对性地在不同平台之间分配消费。从用户支出来看,Allegro在2026年2月出现明显下降。用户平均支出从1月的约780兹罗提下降至2月的约520兹罗提,不仅环比下滑,也明显低于去年同期超过1000兹罗提的水平。
《2026年亚马逊美妆、健康、杂货品类趋势报告》AMZ123获悉,近日,Jungle Scout发布了《2026年亚马逊美妆、健康、杂货品类趋势报告》。报告分析了2024年1月1日至2025年12月31日期间的亚马逊平台美妆个人护理、健康家居、食品杂货三大品类的销售数据和需求趋势。报告指出,美容与个人护理、健康与家居两大类目正在与食品类目加速融合,形成一个由配方创新、成分传播和消费行为变化共同驱动的跨品类生态。这一变化标志着消费者不再按照传统品类进行消费决策,而是更加关注产品带来的功能和效果,从而推动不同品类之间的界限逐渐模糊。本文章将分析三大品类的销售定价数据、子品类、产品、品牌和关键词、消费者参与度(浏览量)等数据,了解最新的亚马逊销售趋势。
Shein加速本地化布局,超1000名欧洲卖家入驻AMZ123获悉,近日,据外媒报道,Shein正在加快其在德国市场的本地化布局。目前,Shein已在德国接入超过600家本地卖家,这些卖家可以直接通过平台销售商品。这一举措被视为其扩大欧洲市场、应对监管环境变化的重要一步。根据Shein披露,Shein正在强化其电商平台模式,通过引入更多本地卖家以及技术和物流合作,提升平台对欧洲中小企业的吸引力。目前,其在欧洲范围内已拥有数千个销售合作伙伴,仅德国市场就超过600家。Shein平台自2023年秋季开始逐步向欧洲卖家开放,目前已覆盖11个国家。
月销数十万美元!这10款美妆好物在亚马逊销量暴增AMZ123获悉,近日,亚马逊各类产品搜索量增长显著,以下10款产品在亚马逊上销量表现突出,深受消费者欢迎。1.眉胶预计销售额:20万美元/月销量:2万+星级评分:4.4好评数量:34895图源:亚马逊产品介绍:这款定型眉胶使用方便,可以持久定型长达16小时,透明不结块。此外,该款产品获得PETA认证。采用管状容器,方便挤压使用。颜色自然,便于打造自然妆效,适合全年龄段。品牌介绍:NYX(全称为NYX Professional Makeup)是一个源自美国的专业彩妆品牌,成立于1999年,主打高性价比,兼顾专业性能与亲民价格。产品色彩丰富,提供大量色号选择。
家得宝推出AI整合工具,大幅提升项目效率AMZ123获悉,近日,美国家居电商平台家得宝(The Home Depot)宣布,将升级其面向专业客户的数字化体验,通过引入项目管理功能和人工智能工具,帮助装修工人、承包商和建筑商在一个统一平台上管理项目、材料和业务。此次升级主要面向其Pro Xtra会员体系,旨在解决专业客户在使用多个分散工具时带来的效率问题。家得宝表示,专业客户在实际工作中需要在卡车、施工现场和门店之间频繁切换,传统分散的数字工具会增加运营阻力。为此,新推出的数字工作空间围绕完整项目周期设计,将多个功能整合到同一界面中,提升效率并减少操作时间。升级后的平台不仅支持商品交易,还具备项目管理能力,可覆盖日常工作流程中的关键环节。
2026宠物电器品类出海分析报告全球宠物电器智能化趋势,品牌出海路上如何“宠”出新高度?
《2026年亚马逊美妆、健康、杂货品类趋势报告》AMZ123获悉,近日,Jungle Scout发布了《2026年亚马逊美妆、健康、杂货品类趋势报告》。报告分析了2024年1月1日至2025年12月31日期间的亚马逊平台美妆个人护理、健康家居、食品杂货三大品类的销售数据和需求趋势。报告指出,美容与个人护理、健康与家居两大类目正在与食品类目加速融合,形成一个由配方创新、成分传播和消费行为变化共同驱动的跨品类生态。这一变化标志着消费者不再按照传统品类进行消费决策,而是更加关注产品带来的功能和效果,从而推动不同品类之间的界限逐渐模糊。本文章将分析三大品类的销售定价数据、子品类、产品、品牌和关键词、消费者参与度(浏览量)等数据,了解最新的亚马逊销售趋势。
2026宠物电器品类出海分析报告全球宠物电器智能化趋势,品牌出海路上如何“宠”出新高度?
AMZ123会员专享丨3月第3周资讯汇总亚马逊一则在社交平台X上传播的帖子称,亚马逊可能将在2026年第二季度再裁减约1.4万个岗位。不过,目前相关说法尚未得到独立核实,亚马逊方面也未对该消息作出正式回应。亚马逊宣布,其专用航空货运服务Amazon Air已扩展至印度东北地区,并开通经由Kolkata和Guwahati的新航线。亚马逊宣布,将在2026至2028年间,在波兰投资超过50亿欧元,同时在下西里西亚省多布罗米耶日建设一个全新的现代化履约中心(Fulfillment Center,FC),这是亚马逊在波兰的第十二个FC。亚马逊宣布,在美国部分地区推出1小时和3小时配送服务,进一步加快物流速度,以满足消费者对更快收货体验的需求。
韩国人的咖啡病,中国人来治愈?抓住韩国人的胃。
月销数十万美元!这10款美妆好物在亚马逊销量暴增AMZ123获悉,近日,亚马逊各类产品搜索量增长显著,以下10款产品在亚马逊上销量表现突出,深受消费者欢迎。1.眉胶预计销售额:20万美元/月销量:2万+星级评分:4.4好评数量:34895图源:亚马逊产品介绍:这款定型眉胶使用方便,可以持久定型长达16小时,透明不结块。此外,该款产品获得PETA认证。采用管状容器,方便挤压使用。颜色自然,便于打造自然妆效,适合全年龄段。品牌介绍:NYX(全称为NYX Professional Makeup)是一个源自美国的专业彩妆品牌,成立于1999年,主打高性价比,兼顾专业性能与亲民价格。产品色彩丰富,提供大量色号选择。
国产螺丝刀海外疯狂圈粉,一年半在TikTok卖了2800万+近年来,五金工具迎来了史无前例的“改头换面”。以HOTO(小猴)为首的新势力品牌崛起,使得螺丝刀、电钻等工地单品褪去土味,DIY小白也能手拿把掐的趁手重量和符合人体工学的把握方式, 推动五金工具们摆脱纯工具属性,持续破圈。近期在TikTok,一款主打24合1的多功能螺丝刀套件在美区迅速蹿红,以周环比146%的涨幅登上美区五金工具大类的销量第3名。推动产品销量异军突起的,有五金工具时尚单品化的圈层渗透,也有着复活节前夕、消费信心下滑大背景下,DIY代替购买的消费趋势变迁,其运营思路值得广大卖家借鉴。01多功能螺丝套件登上类目TOP数据显示,这款号称将24项功能合为一体的五金工具来自中国品牌「SEESE 」。
1-2月Temu波兰人均消费翻倍,电商格局加速变化AMZ123获悉,近日,根据市场研究机构When U Buy基于超过24万张收据的分析,1月与2月波兰整体消费出现季节性回落,以Allegro为代表的传统电商平台与新兴电商平台Temu之间的差距正在迅速缩小。数据显示,2026年1月电商整体支出环比下降近22%,但同比增长9%;2月则同比增长10%。与此同时,消费方式也在变化,用户更少进行冲动购买,而是减少购买频率,但每次购买的商品数量更多,并且更有针对性地在不同平台之间分配消费。从用户支出来看,Allegro在2026年2月出现明显下降。用户平均支出从1月的约780兹罗提下降至2月的约520兹罗提,不仅环比下滑,也明显低于去年同期超过1000兹罗提的水平。
同比增长6%!25年罗马尼亚电商市场达81亿欧元AMZ123获悉,近日,据MerchantPro发布的《2026年电子商务洞察报告》,罗马尼亚电商市场在2025年达到约81亿欧元规模,预计2026年将突破85亿欧元。然而,其增长势头正在进入一个竞争更为激烈、不确定性更高的新阶段。通胀压力、国际平台的强势渗透、消费者行为变化以及人工智能在产品发现与转化中日益加深的影响,正共同重塑这一地区的电商生态。从整体数据来看,尽管交易量增长近乎停滞,2025年罗马尼亚电商市场仍实现了约6%的同比增长,预计2026年增速将放缓至5%。报告指出,这一增长主要得益于在线购物普及率的提升和客户体验的持续优化,背后是商家对技术、个性化和转化率优化的持续投入。
《中国宠物食品行业出海国别机会洞察报告》PDF下载本报告旨在深入分析中国宠物食品的全球出口机遇与国别差异,通过对行业发展现状、出口趋势及各国政策环境的研究,揭示中国宠物食品企业在国际市场中的竞争优势与面临的潜在挑战。
《市场洞察:2025中国汽车出海英国市场动态追踪》PDF下载根据英国汽车制造商与贸易商协会数据显示,2025年1-9月中国汽车出海英国累计销量142,684辆,同比增长91%,远超英国整体市场4.2%增速。中国汽车出海英国市场份额从年初5%升至9月12.4%,成为英国第二大汽车来源国,仅次于德国。
《2026取暖电器行业简析报告》PDF下载系统梳理了行业发展脉络、市场格局与未来趋势。取暖电器按能源类型与产品形态可分为电取暖、燃气取暖、辅助本报告为 2026 年中国取暖电器行业专业简析,集成类三大核心品类,行业发展历经萌芽起步、快速成长、加速升级、高质量发展四大阶段,完成了从单一功能向智能化、节能化、场景化的全面演进。
《2026年玩具品类选品指南》PDF下载玩具品类市场基本概况
玩具品类细分类目介绍
玩具品类认证及平台规则
《TikTok Shop美区ACE商家经营方法论白皮书》PDF下载自2025年《TikTok Shop美区跨境POP PEAKS出海经营方法论白皮书》发布以来,PEAKS方法论已支持大量商家理解 TikTok Shop 的生意经营逻辑,收获生意增长。伴随着业务发展与市场变化,我们进一步研究 TikTok Shop 商家成功案例和经营模式,将PEAKS系统化升级为面向全体美区商家的ACE经营方法论
《扫地机器人美国市场年度研报》PDF下载近一年(MAT2025)行业总销售额达24.49亿美元,同比增长39.67%;总销量达820万台,同比增长45.83%。销售额增长主要由销量驱动,而市场平均售价从312.73美元下降至299.53美元,同比降低4.22%,表明市场在快速扩张的同时,价格竞争日趋激烈。
《全球人工智能技术应用洞察报告》PDF下载我们正身处一场由人工智能驱动的历史性变革之中。这不再仅仅是实验室中的算法竞赛,而是深刻渗透实体经济肌理、重塑社会生活形态的全球性产业革命。从硅谷到深圳、从基础研究的突破到应用场景的遍地开花,A!技术正以惊人的速度跨越奇点,成为国家竞争力、产业转型升级与人类未来发展的核心变量。
《跨境数据流通合规与技术应用白皮书2025》PDF下载在数字经济全球化纵深发展的今天,数据作为核心生产要素,其跨境流动已成为连接全球产业链、激活创新动能、推动国际经贸协同的关键纽带。然而数据跨境流动始终面临“安全与效率”的动态平衡难题--各国数据主权诉求监管规则差异、技术标准壁垒、隐私保护要求等多重因素交织,既为全球数字经济发展带来挑战,也催生了制度创新与技术突破的迫切需求。

【美国专利侵权预警】今日品类:温度计/Thermometer(二)
小牛达人谈跨境防侵权
2025-08-23 12:31
1913










在这里需要提醒同样销售类似产品的卖家,定期排查商品特征,警惕侵权风险!注意规避侵权特征,及时下架侵权产品。
1







其他
04-09 周四











