亚马逊:冬奥会流量爆炸的产品日销500单,关键你敢做吗
2022-02-07 15:33

当大家还沉浸在过年的气氛种的时候,有的人已经悄悄爆单了,每个类目的元素都已经出现了冬奥会的主题,大家可以认真看看,大IP,流量爆炸性增长,关键你敢做吗?
1,先看看产品

2,看看搜索页面

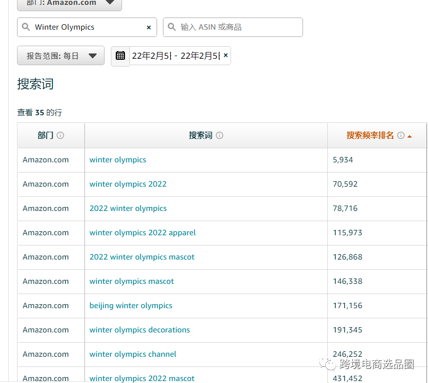
3,看看后台关键词趋
虽然流量看起来排名不高,但是数据有点滞后
大家测试一个自发货就知道了,数据正在爆炸性增长


关键词数据和流量还在持续爆涨
但是你敢做吗
1,首先侵权吗?100%侵权,这种大流量的IP,肯定是全球外观专利

2,可以做吗,可以做,为什么呢
首先这个IP和专利属于国际奥委会,但是这一届在中国举办,所以重点排查肯定中国,美国和欧洲肯定是其次的
很多自发货卖家和专门做侵权类目的卖家早就有了应对的策略
方法有很多
只是我们正规卖家想不到而已
如果你要做,建议用小号试试‘
最新热门报告作者标签
SHEIN发布全球循环报告,7 成用户注重性价比AMZ123获悉,近日,SHEIN 发布2025 年全球循环性报告,调研覆盖21 个国家、约1.5万名用户,系统分析用户购买决策、穿着习惯、衣物处置与循环参与行为,为服装电商的可持续运营、循环服务设计与消费引导提供数据支撑。核心发现如下:一、影响用户购买决策的因素(一)核心决策因素1、性价比是第一决策前提价格是全球用户最统一、最优先的考量项。71.6% 的用户总是将最优价格作为首要考虑,19.2%经常考虑,合计占比高达 90.8%。在 21 个调研市场中,18 个市场将价格列为第一考量,且这些市场中超过 85% 的用户高度关注价格;其中南非、韩国用户价格敏感度最高,近 95% 总是 / 经常关注价格。
26年美国美妆消费者趋势:关税、AI、社媒影响购物决策AMZ123获悉,随着新技术与平台不断涌现,不同世代美妆消费者的购物行为愈发复杂,不同产品类别对购买决策的影响也存在显著差异。同时,美国近年的关税政策与持续通胀也对市场格局造成影响,使品牌方面临竞争激烈且充满不确定性的环境。因此,Tinuiti发布了《2026年美妆营销研究报告》,从通胀影响到社交媒体趋势全面分析了消费者行为,以更好理解当前美国市场的美妆消费状况。一、市场现状1. 消费者对价格变化的反应数据显示,2025年美国美妆及个护电商市场规模已达到约610亿美元,电商渠道已占据接近一半的市场份额。随着技术进步和平台多样化,美容消费者的购物路径日益复杂。
25年日本家居电商市场达2.56万亿日元,平均单价提升AMZ123获悉,近日,根据日本经济产业省发布的“2022-2025年电商市场调查”,2025年日本家居电商市场持续扩张,尽管新建住宅数量下降,消费者对线上购物的需求和高价值产品的偏好推动了市场增长。数据显示,近三年来,日本生活杂货、家具、家居类B2C电商市场规模和渗透率均呈稳步上升趋势,从2022年的2.35万亿日元(29.59%),增长至2025年的2.56万亿日元(32.58%%),同比增长3.62%。在商品行业中排名第三,仅次于“图书、视频及音乐软件”(56.45%)和“家用电器、音视频设备、电脑及周边设备等”(43.03%)。
25年全球美妆市场增长10%,AI与社交电商推动增长AMZ123获悉,近日,根据尼尔森IQ(NielsenIQ)发布的《2026美妆市场报告》,2025年全球美妆市场同比增长10%,其中电商渠道的增速是线下实体店的六倍。对于品牌来说,加快数字化布局已成为赢得美妆市场的关键。从区域表现来看,北美市场增长10%,西欧增长4%,东欧增长8%,拉丁美洲增长14%,非洲和中东增长16%,亚太地区增长14%。这一趋势表明,无论市场成熟度如何,数字化渠道对全球美妆增长的推动作用普遍存在。AI驱动的产品推荐、社交电商以及直播购物正在改变消费者发现和购买产品的路径。超过50%的消费者正在使用AI购物工具,其中49%已经通过生成式AI获得美妆推荐,53%的消费者通过社交平台完成购买。
国产奶瓶刷打入美国母婴圈,在TikTok卖了200多万给宝宝洗杯子,大概是所有父母最熟悉也最无奈的日常。不同于成人所用的敞口杯,婴幼儿专用杯包含防呛阀门、吸嘴等特殊饮水结构,复杂配件造就的诸多清洁死角,“滋生”的不光有缝隙处的霉菌刺客,更有为人父母对于“哪儿哪儿不干净”的卫生焦虑。近期在TikTok美区,一款能深入各个死角、分区清洁的杯刷工具正是为“绞杀”这番情绪而来,凭借5合1的全能型卖点迅速突围,成为母婴类目的一匹销量黑马。01母婴类目下的“死角克星”数据显示,在TikTok美区母婴用品类目,一款主打5合1的清洁杯刷以2445件的周销量,登上了大类销量榜第2的位置。虽然乍一看这款刷子与常规款无异,但在洗杯子这件事上,它的专业程度却毋庸置疑。
美国Q4电商销售额达3652亿美元,渗透率创新高AMZ123获悉,近日,根据Digital Commerce 360对美国商务部数据的分析,2025年第四季度,美国电商销售额首次在单个季度突破3500亿美元大关,达到约3650亿美元,比历史数据高出约150亿美元。数据显示,2025年第四季度美国总零售额为1.461万亿美元,同比增长3.6%。其中,线下零售销售增长3%。分析显示,电商在美国零售市场的渗透率创历史新高,占美国总零售总额的25%。若将餐饮服务等零售销售也计入,美国电商占总零售额的比例为16.6%,未经调整的数据显示占比为18.3%。这是自美国商务部 1999年开始追踪在线销售以来,单季度电商渗透率最高的一次。
意大利对Revolut处以1150万欧元罚款Fin123获悉,近日,意大利反垄断机构对 Revolut 处以 1150 万欧元的罚款。意大利竞争管理局(AGCM)指出,Revolut向客户散布了关于其投资产品的错误信息,同时未能清晰、完整地披露免佣金投资背后的隐性成本与交易限制。此外,意大利方面指出,Revolut在处理用户银行账户时,采用了激进且不透明的操作手法,包括就账户暂停、限制及冻结等事项提供不完整或误导性信息。此次罚款共涉及三项具体处罚:第一,Revolut Securities Europe UAB 与 Revolut Group Holdings Ltd 因投资服务信息披露不足,被罚500万欧元。
年销售额6.7亿美元!25年TikTok Shop美国站美妆标签Top10AMZ123获悉,近日,根据Charm.io统计,TikTok Shop美国站上10个美妆类标签在过去12个月内创造了超过6.7亿美元的销售额,这些标签不仅描述产品,更直接激发购买行为。2025年超过7000万件美妆产品通过TikTok Shop售出。在TikTok Shop上,标签成为推动消费的基础形式。例如,#skincare护肤标签一年销售额约1.419亿美元,Dr. Melaxin Peel Shot Glow Rice安瓶套装因配方中的水稻提取物与AHA、BHA化学成分,能清理黑头、净化毛孔并防止痘痘,成为#skincare的代表产品。
Stripe与Meta合作,FB广告可完成一键结账Fin123获悉,近日,Stripe宣布,为Facebook广告商推出全新结账体验,使消费者无需离开应用即可完成购买。通过这项功能,使用Stripe的卖家可以将Facebook广告与支付系统直接连接,买家点击广告中的“立即购买”按钮后,可使用Meta钱包中保存的支付凭证完成一键结账。该流程基于《智能体商务协议》,未来将扩展到包括Instagram广告在内的更多Meta平台。卖家可在Stripe管理平台中通过开关选择启用此功能,并关联其Meta广告账户。启用后,购买过程将完全嵌入广告体验,消除了用户在传统跳转浏览器或应用完成交易时的中断,从而提升购买转化率。
亚马逊再调FBA费用,4月17日起生效!中东战火延宕至今,仍未有“熄火”之意。当地时间4月2日,特朗普在最新表态中发出警告,称美国将在未来两到三周内对伊朗进行猛烈打击,国际油价应声飙涨。截至当天收盘,5月交货的美国WTI原油价格收于每桶111.54美元,上涨11.41%;6月交货的国际基准布伦特原油价格则收于每桶109.03美元,涨幅高达7.78%。在此背景下,一系列“涨价通知”如同多米诺骨牌,正逐级传导至跨境卖家们的利润表上。全链路合规难题现场答疑,4.17 深圳 | 深圳商务局&行业专家坐镇,落地实操一站获取!点击报名AMZ123了解到,当地时间4月2日,亚马逊美国站发布了一则加征物流相关附加费的通知。
高评分+高销量,10款亚马逊厨房小家电热销产品一览AMZ123获悉,近日,亚马逊各类产品搜索量增长显著,以下10款产品在亚马逊上销量表现突出,深受消费者欢迎。1. 电热水壶预计销售额:62万美元/月销量:24,200+星级评分:4.5好评数量:47,056+图源:亚马逊产品介绍:这款电热水壶内部无塑料,提升饮用安全性与口感纯净度。产品加热效率较高,可在3分钟内快速烧开一杯水,同时配备自动断电、加热指示灯、防干烧保护功能,保障使用安全。整体外观采用简约设计,宽口壶身与双角度开盖设计便于清洁与加水,精准壶嘴与防烫手柄提升倒水稳定性。
因产品数据质量不佳,印度电商每年损失五百亿卢比AMZ123获悉,近日,据外媒报道,印度电商与快消行业正因产品数据质量不佳而蒙受巨额损失。据GS1印度公司的最新研究,不一致、不完整或不准确的产品信息每年导致约500亿卢比的资金流失。其中,约200亿卢比表现为毛利率下降,原因包括转化率降低、商品上架受限以及销售速度放缓;另有190亿卢比直接用于退货相关成本,涵盖逆向物流、处理与加工等环节。尤其在时尚服装领域,退货问题更为突出。因尺码不合、款式偏好或实物与描述不符,顾客主动退货率通常占总订单的20%至25%。Unicommerce指出,逆向物流会使订单价值额外增加5%至7%,而这还不含原始运费。放眼全球,时尚与鞋类退货率甚至可达30%至40%。
存火灾风险!美国CPSC紧急召回八款插头延长线AMZ123获悉,近日,美国消费者产品安全委员会(CPSC)发布紧急召回警告,要求消费者立即停止使用“插头延长线”,并已与沃尔玛、eBay和AliExpress等电商平台达成协议,下架相关危险商品。CPSC指出,这类延长线两端均为公头插头,插入电源后裸露插脚可能带电,存在严重触电和火灾风险,因此在任何情况下都不应使用。为防止危险商品继续流入市场,CPSC已推动相关电商平台删除商品链接,同时平台方面承诺将主动识别并下架类似产品。根据CPSC的公告,多家来自中国的卖家和企业涉及销售该类产品,但大多数未回应CPSC关于召回或产品信息的要求。
26年美国美妆消费者趋势:关税、AI、社媒影响购物决策AMZ123获悉,随着新技术与平台不断涌现,不同世代美妆消费者的购物行为愈发复杂,不同产品类别对购买决策的影响也存在显著差异。同时,美国近年的关税政策与持续通胀也对市场格局造成影响,使品牌方面临竞争激烈且充满不确定性的环境。因此,Tinuiti发布了《2026年美妆营销研究报告》,从通胀影响到社交媒体趋势全面分析了消费者行为,以更好理解当前美国市场的美妆消费状况。一、市场现状1. 消费者对价格变化的反应数据显示,2025年美国美妆及个护电商市场规模已达到约610亿美元,电商渠道已占据接近一半的市场份额。随着技术进步和平台多样化,美容消费者的购物路径日益复杂。
SHEIN发布全球循环报告,7 成用户注重性价比AMZ123获悉,近日,SHEIN 发布2025 年全球循环性报告,调研覆盖21 个国家、约1.5万名用户,系统分析用户购买决策、穿着习惯、衣物处置与循环参与行为,为服装电商的可持续运营、循环服务设计与消费引导提供数据支撑。核心发现如下:一、影响用户购买决策的因素(一)核心决策因素1、性价比是第一决策前提价格是全球用户最统一、最优先的考量项。71.6% 的用户总是将最优价格作为首要考虑,19.2%经常考虑,合计占比高达 90.8%。在 21 个调研市场中,18 个市场将价格列为第一考量,且这些市场中超过 85% 的用户高度关注价格;其中南非、韩国用户价格敏感度最高,近 95% 总是 / 经常关注价格。
25年全球美妆市场增长10%,AI与社交电商推动增长AMZ123获悉,近日,根据尼尔森IQ(NielsenIQ)发布的《2026美妆市场报告》,2025年全球美妆市场同比增长10%,其中电商渠道的增速是线下实体店的六倍。对于品牌来说,加快数字化布局已成为赢得美妆市场的关键。从区域表现来看,北美市场增长10%,西欧增长4%,东欧增长8%,拉丁美洲增长14%,非洲和中东增长16%,亚太地区增长14%。这一趋势表明,无论市场成熟度如何,数字化渠道对全球美妆增长的推动作用普遍存在。AI驱动的产品推荐、社交电商以及直播购物正在改变消费者发现和购买产品的路径。超过50%的消费者正在使用AI购物工具,其中49%已经通过生成式AI获得美妆推荐,53%的消费者通过社交平台完成购买。
《TikTok Shop突破末次触达归因(LTA)ROAS分析报告》PDF下载在数字化浪潮中,广告主正面临有效衡量广告支出回报率(ROAS)的挑战。传统未次触达归因(LTA)模型因数据收集难度和归因偏差问题已难以满足广告主的需求,因此,探索新的方法来解决这些问题显得尤为重要。
《未来电商报告:品牌独立站五步升级锁定未来确定性增长》PDF下载调研显示,出海商家针对家居、时尚及消费电子等品类布局比例均超过30%。独立站凭借其高度品牌化、个性化、场景化及功能性等优势,精准契合上述品类对品牌调性、场景交互及沉浸式体验的核心诉求,正成为商家黑五大促期提升销量、构建品牌竞争壁垒的关键载体。
《TikTok Shop达人真实种草力报告》PDF下载达人正在将文化内容、社群互动与商业转化深度融合,形成一个高度协同的内容商业生态,其价值早已不再局限于内容带来的直接收入。从更广义的商业视角来看,达人价值的核心在于真实影响力-即其内容对商品与服务产生影响并促成转化所形成的整体商业价值,这一能力正构成达人在内容电商体系中的带货价值基础。
《2026年第2季度儿童时尚品类报告》PDF下载儿童时尚品类概览
主题选品合辑
巴西站点上新
泰国站点上新
菲律宾站点上新
越南站点上新
《TikTok Shop 2025年度报告》PDF下载2025年,TikTok Shop进一步加快扩张步伐,在巩固欧美成熟市场的同时,积极开拓新兴市场,先后上线德国、意大利、法国、日本等站点。此举不仅为平台带来新增量,也体现出其多元化市场战略的初步成效,以分散地缘政治风险。
《Shopee2025印尼站点X 汽车摩托品类专题》PDF下载印尼当地汽车保有量并不高,每一千人的机动车保有量仅96人,未来可提升的空间仍大。空间参照系可以看泰国和马来,2024年泰国汽车保有量为322辆/千人,马来西亚为531辆/千人。
《2026年Shopee运动户外类目自行车爆品分享》PDF下载巴西骑行爱好群体广泛,但平台上热销品呈现出的国际大牌极少,推测可能原因是国际品牌可能主要通过线下经销或自行渠道销售,未深度参与Shopee等本土电商。因此巴西用户在平台上几乎接触不到这些高端品牌产品。平台上巴西用户更倾向购买本土品牌的自行车,可能出于价格实惠和售后便利考虑。
《2025年TikTok生态发展白皮书》PDF下载2025年,全球内容电商迈入深度跃迁的新周期。TikTokShop正以前所未有的速度拓展市场版图,完成从高速增长向高质量增长的跃迁。在这一进程中,生态结构重构、参与者多元化、全球政策协同等因素叠加,构成内容电商演进的核心变量。

亚马逊:冬奥会流量爆炸的产品日销500单,关键你敢做吗
跨境电商选品圈
2022-02-07 15:33
3019

当大家还沉浸在过年的气氛种的时候,有的人已经悄悄爆单了,每个类目的元素都已经出现了冬奥会的主题,大家可以认真看看,大IP,流量爆炸性增长,关键你敢做吗?
1,先看看产品

2,看看搜索页面

3,看看后台关键词趋
虽然流量看起来排名不高,但是数据有点滞后
大家测试一个自发货就知道了,数据正在爆炸性增长


关键词数据和流量还在持续爆涨
但是你敢做吗
1,首先侵权吗?100%侵权,这种大流量的IP,肯定是全球外观专利

2,可以做吗,可以做,为什么呢
首先这个IP和专利属于国际奥委会,但是这一届在中国举办,所以重点排查肯定中国,美国和欧洲肯定是其次的
很多自发货卖家和专门做侵权类目的卖家早就有了应对的策略
方法有很多
只是我们正规卖家想不到而已
如果你要做,建议用小号试试‘




其他
04-09 周四











