国人原告沥水篮和梳妆台发案维权,即将冻结账户放款,抓紧排查!
|AI实战大佬手把手教你用Agent重构跨境运营全链路,点击报名
蜗牛沥水篮
案件编号:26-cv-20823
代理律所:Palmer Law Group, P.A
维权产品:蜗牛沥水篮
受理法院:佛罗里达州
原告Dongshang Lin是一名来自深圳的国人卖家,案件起诉的是一款蜗牛沥水篮,以蜗牛造型为设计亮点,这款蜗牛沥水器可以充当洗碗盆,还能沥干水分,或存放切好的蔬菜,一物多用,自带挂孔设计,便于用户不用时可轻松挂在墙面上,让台面整洁有序。
起诉的版权图如下:










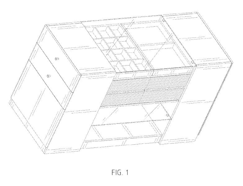
多功能梳妆台
案件编号:26-cv-1474
代理律所:Di Li Law, P.C.
维权产品:多功能梳妆台
受理法院:伊利诺伊州
原告Popicorns E-Commerce Co., Limited 针对化妆用品收纳困难等问题设计了一款多功能岛式梳妆台,拥有多个抽屉和分格收纳空间,专利细节图如下:





蜗牛沥水篮
案件编号:26-cv-20823
代理律所:Palmer Law Group, P.A
维权产品:蜗牛沥水篮
受理法院:佛罗里达州
原告Dongshang Lin是一名来自深圳的国人卖家,案件起诉的是一款蜗牛沥水篮,以蜗牛造型为设计亮点,这款蜗牛沥水器可以充当洗碗盆,还能沥干水分,或存放切好的蔬菜,一物多用,自带挂孔设计,便于用户不用时可轻松挂在墙面上,让台面整洁有序。
起诉的版权图如下:










多功能梳妆台
案件编号:26-cv-1474
代理律所:Di Li Law, P.C.
维权产品:多功能梳妆台
受理法院:伊利诺伊州
原告Popicorns E-Commerce Co., Limited 针对化妆用品收纳困难等问题设计了一款多功能岛式梳妆台,拥有多个抽屉和分格收纳空间,专利细节图如下:










福建
04-23 周四











